makita DHS782 Cordless Circular Saw

SPECIFICATIONS
| Model: | DHS782 | DHS783 | |
| Blade diameter | 185 – 190 mm | ||
| Max. Cutting depth | at 0° | 60.0 – 62.5 mm | |
| at 45° bevel | 43.0 – 44.5 mm | ||
| at 48° bevel | 41.0 – 42.0 mm | ||
| No load speed | 6,000 min-1 | ||
| Overall length | 348 mm | ||
| Rated voltage | D.C. 36 V | ||
| Net weight | 4.5 – 5.1 kg | ||
- Due to our continuing program of research and development, the specifications herein are subject to change without notice.
- Specifications and battery cartridge may differ from country to country.
- The weight may differ depending on the attachment(s), including the battery cartridge. The lightest and heaviest combinations, according to EPTA Procedure 01/2014, are shown in the table.
Applicable battery cartridge and charger
| Battery cartridge | BL1815N / BL1820 / BL1820B / BL1830 / BL1830B / BL1840 / BL1840B / BL1850 / BL1850B / BL1860B |
| Charger | DC18RC / DC18RD / DC18RE / DC18SD / DC18S E / DC18SF |
- Some of the battery cartridges and chargers listed above may not be available depending on your region of residence
Intended use
The tool is intended for performing lengthways and crossways straight cuts and miter cuts with angles in wood while in firm contact with the workpiece. With appropriate Makita genuine saw blades, other materials can also be sawed.
Noise
The typical A-weighted noise level determined according to EN62841-2-5:
Model DHS782
Sound pressure level (LpA) : 93 dB(A)
Sound power level (LWA) : 104 dB (A)
Uncertainty (K) : 3 dB(A)
Model DHS783
Sound pressure level (LpA) : 93 dB(A)
Sound power level (LWA) : 104 dB (A)
Uncertainty (K) : 3 dB(A)
| NOTE: The declared noise emission value(s) has been measured in accordance with a standard test method and may be used for comparing one tool with another. NOTE: The declared noise emission value(s) may also be used in a preliminary assessment of exposure |
Vibration
The vibration total value (tri-axial vector sum) determined according to EN62841 2-5:
Model DHS782
Work mode: cutting wood
Vibration emission (ah,W) : 2.5 m/s2 or less
Uncertainty (K) : 1.5 m/s2
Work mode: cutting metal
Vibration emission (ah,M) : 2.5 m/s2
or less Uncertainty (K) : 1.5 m/s2
Model DHS783
Work mode: cutting wood
Vibration emission (ah,W) : 2.5 m/s2
or less Uncertainty (K) : 1.5 m/s2
Work mode: cutting metal
Vibration emission (ah,M) : 2.5 m/s2
or less Uncertainty (K) : 1.5 m/s2
| NOTE: The declared vibration total value(s) has been measured in accordance with a standard test method and may be used for comparing one tool with another. NOTE: The declared vibration total value(s) may also be used in a preliminary assessment of exposure. |
EC Declaration of Conformity
For European countries only
The EC declaration of conformity is included as Annex A to this instruction manua
SAFETY WARNINGS
General power tool safety warnings
Save all warnings and instructions for future reference.
The term “power tool” in the warnings refers to your mains-operated (corded) power tool or battery-operated (cordless) power tool.
Cordless circular saw safety warnings
Cutting procedures
DANGER: Keep hands away from cutting area and the blade. Keep your second hand on auxiliary handle, or motor housing. If both hands are holding the saw, they cannot be cut by the blade.- Do not reach underneath the workpiece. The guard cannot protect you from the blade below the workpiece.
- Adjust the cutting depth to the thickness of the workpiece. Less than a full tooth of the blade teeth should be visible below the workpiece.
- Never hold the workpiece in your hands or across your leg while cutting. Secure the workpiece to a stable platform. It is important to support the work properly to minimise body exposure, blade binding, or loss of control
► Fig.1
- Hold the power tool by insulated gripping surfaces, when performing an operation where the cutting tool may contact hidden wiring. Contact with a “live” wire will also make exposed metal parts of the power tool “live” and could give the operator an electric shock.
- When ripping, always use a rip fence or straight edge guide. This improves the accuracy of cut and reduces the chance of blade binding. Always use blades with correct size and shape (diamond versus round) of arbour holes. Blades that do not match the mounting hardware of the saw will run off-centre, causing loss of control.
- Never use damaged or incorrect blade washers or bolt. The blade washers and bolt were specially designed for your saw, for optimum performance and safety of operation.
Kickback causes and related warnings
- kickback is a sudden reaction to a pinched, jammed or misaligned saw blade, causing an uncontrolled saw to lift up and out of the workpiece toward the operator;
- when the blade is pinched or jammed tightly by the kerf closing down, the blade stalls and the motor reaction drives the unit rapidly back toward the operator;
- if the blade becomes twisted or misaligned in the cut, the teeth at the back edge of the blade can dig intothe top surface of the wood causing the blade to climb out of the kerf and jump back toward the operator.
Kickback is the result of saw misuse and/or incorrect operating procedures or conditions and can be avoided by taking proper precautions as given below.
- Maintain a firm grip with both hands on the saw and position your arms to resist kickback forces. Position your body to either side of the blade, but not in line with the blade. Kickback could cause the saw to jump backwards, but kickback forces can be controlled by the operator, if proper precautions are taken.
- When blade is binding, or when interrupting a cut for any reason, release the trigger and hold the saw motionless in the material until the blade comes to a complete stop. Never attempt to remove the saw from the work or pull the saw backward while the blade is in motion or kickback may occur. Investigate and take corrective actions to eliminate the cause of blade binding.
- When restarting a saw in the workpiece, centre the saw blade in the kerf so that the saw teeth are not engaged into the material. If a saw blade binds, it may walk up or kickback from the workpiece as the saw is restarted.
- Support large panels to minimise the risk of blade pinching and kickback. Large panels tend to sag under their own weight. Supports must be placed under the panel on both sides, near the line of cut and near the edge of the pane
► Fig.2► Fig.3

- Do not use dull or damaged blades. Unsharpened or improperly set blades produce narrow kerf causing excessive friction, blade binding and kickback.
- Blade depth and bevel adjusting locking levers must be tight and secure before making the cut. If blade adjustment shifts while cutting, it may cause binding and kickback
- Use extra caution when sawing into existing walls or other blind areas. The protruding blade may cut objects that can cause kickback.
- ALWAYS hold the tool firmly with both hands. NEVER place your hand, leg or any part of your body under the tool base or behind the saw, especially when making cross-cuts. If kickback occurs, the saw could easily jump backwards over your hand, leading to serious personal injury.
► Fig.4
- Never force the saw. Push the saw forward at a speed so that the blade cuts without slowing. Forcing the saw can cause uneven cuts, loss of accuracy, and possible kickback.
Lower guard function
- Check the lower guard for proper closing before each use. Do not operate the saw if the lower guard does not move freely and close instantly. Never clamp or tie the lower guard into the open position. If the saw is accidentally dropped, the lower guard may be bent. Raise the lower guard with the retracting handle and make sure it moves freely and does not touch the blade or any other part, in all angles and depths of cut.
- Check the operation of the lower guard spring. If the guard and the spring are not operating properly, they must be serviced before use. Lower guard may operate sluggishly due to damaged parts, gummy deposits, or a build-up of debris. The lower guard may be retracted manually only for special cuts such as “plunge cuts” and “compound cuts”. Raise the lower guard by the retracting handle and as soon as the blade enters the material, the lower guard must be released. For all other sawing, the lower guard should operate automatically.
- Always observe that the lower guard is covering the blade before placing the saw down on bench or floor. An unprotected, coasting blade will cause the saw to walk backwards, cutting whatever is in its path. Be aware of the time it takes for the blade to stop after switch is released.
- To check lower guard, open lower guard by hand, then release and watch guard closure. Also check to see that retracting handle does not touch tool housing. Leaving blade exposed is VERY DANGEROUS and can lead to serious personal injury.
Additional safety warnings
- Use extra caution when cutting damp wood, pressure treated lumber, or wood containing knots. Maintain smooth advancement of tool without decrease in blade speed to avoid overheating the blade tips.
- Do not attempt to remove cut material when blade is moving. Wait until blade stops before grasping cut material. Blades coast after turn off
- Avoid cutting nails. Inspect for and remove all nails from lumber before cutting.
- Place the wider portion of the saw base on that part of the workpiece which is solidly supported, not onthe section that will fall off when the cut is made. If the workpiece is short or small, clamp it down. DO NOT TRY TO HOLD SHORT PIECES BY HAND!
► Fig.5
- Before setting the tool down after completing a cut, be sure that the guard has closed and the blade has come to a complete stop.
- Never attempt to saw with the circular saw held upside down in a vise. This is extremely dangerous and can lead to serious accidents.
► Fig.6
- Some material contains chemicals which may be toxic. Take caution to prevent dust inhalation and skin contact. Follow material supplier safety data.
- Do not stop the blades by lateral pressure on the saw blade.
- Do not use any abrasive wheels.
- Only use the saw blade with the diameter that is marked on the tool or specified in the manual. Use of an incorrectly sized blade may affect the proper guarding of the blade or guard operation which could result in serious personal injury.
- Keep blade sharp and clean. Gum and wood pitch hardened on blades slows saw and increases potential for kickback. Keep blade clean by first removing it from tool, then cleaning it with gum and pitch remover, hot water or kerosene. Never use gasoline.
- Wear a dust mask and hearing protection when use the tool.
- Always use the saw blade intended for cutting the material that you are going to cut.
- Only use the saw blades that are marked with a speed equal or higher than the speed marked on the tool.
- (For European countries only) Always use the blade which conforms to EN847-1.
SAVE THESE INSTRUCTIONS.
Important safety instructions for battery cartridge
- Before using battery cartridge, read all instructions and cautionary markings on (1) battery charger, (2) battery, and (3) product using battery.
- Do not disassemble battery cartridge.
- If operating time has become excessively shorter, stop operating immediately. It may result in a risk of overheating, possible burns and even an explosion.
- If electrolyte gets into your eyes, rinse them out with clear water and seek medical attention right away. It may result in loss of your eyesight.
- Do not short the battery cartridge:
(1) Do not touch the terminals with any conductive material.
(2) Avoid storing battery cartridge in a container with other metal objects such as nails, coins, etc.
(3) Do not expose battery cartridge to wate or rain.
A battery short can cause a large current flow, overheating, possible burns and even a breakdown. - Do not store the tool and battery cartridge in locations where the temperature may reach or exceed 50 °C (122 °F).
- Do not incinerate the battery cartridge even if it is severely damaged or is completely worn out. The battery cartridge can explode in a fire.
- Be careful not to drop or strike battery.
- Do not use a damaged battery.
- The contained lithium-ion batteries are subject to the Dangerous Goods Legislation requirements. For commercial transports e.g. by third parties, forwarding agents, special requirement on packaging and labeling must be observed. For preparation of the item being shipped, consulting an expert for hazardous material is required. Please also observe possibly more detailed national regulations. Tape or mask off open contacts a nd pack up the battery in such a manner that it can around in the packaging.
- Follow your local regulations relating to disposal of battery.
- Use the batteries only with the products specified by Makita. Installing the batteries to non-compliant products may result in a fire excessive heat, explosion, or leak of electrolyte.
SAVE THESE INSTRUCTIONS
Tips for maintaining maximum battery life
- Charge the battery cartridge before completely discharged. Always stop tool operation and charge the battery cartridge when you notice less tool power
- Never recharge a fully charged battery cartridge. Overcharging shortens the battery service life.
- Charge the battery cartridge with room temperature at 10 °C – 40 °C (50 °F – 104 °F). Let a hot battery cartridge cool down before charging it.
- Charge the battery cartridge if you do not use it for a long period (more than six months).
Important safety instructions for wireless unit
- Do not disassemble or tamper with the wireless unit.
- Keep the wireless unit away from young children. If accidentally swallowed, seek medical attention immediately.
- Use the wireless unit only with Makita tools.
- Do not expose the wireless unit to rain or wet conditions.
- Do not use the wireless unit in places where the temperature exceeds 50°C (122°F).
- Do not operate the wireless unit in place where medical instruments, such as heart pace makers are nearby.
- Do not operate the wireless unit in places where automated devices are nearby. If operated, automated devices may develop malfunction or error.
- Do not operate the wireless unit in places under high temperature or places where static electricity or electrical noise could be generated.
- The wireless unit can produce electromagnetic fields (EMF) but they are not harmful to the user.
- The wireless unit is an accurate instrument. Be careful not to drop or strike the wireless unit.
- Avoid touching the terminal of the wireless unit with bare hands or metallic materials
- Always remove the battery on the product when installing the wireless unit into it.
- When opening the lid of the slot, avoid the place where dust and water may come into the slot. Always keep the inlet of the slot clean.
- Always insert the wireless unit in the correct direction.
- Do not press the wireless activation button on the wireless unit too hard and/or press the button with an object with a sharp edge.
- Always close the lid of the slot when operating.
- Do not remove the wireless unit from the slot while the power is being supplied to the tool. Doing so may cause a malfunction of the wireless unit.
- Do not remove the sticker on the wireless unit.
- Do not put any sticker on the wireless unit.
- Do not leave the wireless unit in a place where static electricity or electrical noise could be generated.
- Do not leave the wireless unit in a place subject to high heat, such as a car sitting in the sun
- Do not leave the wireless unit in a dusty or powdery place or in a place corrosive gas could be generated.
- Sudden change of the temperature may bedew the wireless unit. Do not use the wireless unit until the dew is completely dried.
- When cleaning the wireless unit, gently wipe with a dry soft cloth. Do not use benzine, thinner, conductive grease or the like.
- When storing the wireless unit, keep it in the supplied case or a static-free container.
- Do not insert any devices other than Makita wireless unit into the slot on the tool.
- Do not use the tool with the lid of the slot damaged. Water, dust, and dirt come into the slot may cause malfunction.
- Do not pull and/or twist the lid of the slot more than necessary. Restore the lid if it comes off from the tool.
- Replace th
SAVE THESE INSTRUCTIONS.
FUNCTIONAL DESCRIPTION
Installing or removing battery cartridge
► Fig.7:
- Lever
- Red indicator
- Button
- Battery cartridge
Before removing the battery cartridge, loosen the lever for depth adjustment to lower the tool base. Then slide the battery from the tool while sliding the button on the front of the cartridge. To install the battery cartridge, align the tongue on the battery cartridge with the groove in the housing and slip it into place. Insert it all the way until it locks in place with a little click. If you can see the red indicator on the upper side of the button, it is not locked completely.
| NOTE: The tool does not work with only one battery cartridge. |
Tool / battery protection system
The tool is equipped with a tool/battery protection system. This system automatically cuts off power to the motor to extend tool and battery life. The tool will automatically stop during operation if the tool or battery is placed under one of the following conditions.
Overload protection
When the tool is operated in a manner that causes it to draw an abnormally high current, the tool automatically stops. In this situation, turn the tool off and stop the application that caused the tool to become overloaded. Then turn the tool on to restart.
Overheat protection
When the tool is overheated, the tool stops automatically, and the battery indicator blink about 60 seconds. In this situation, let the tool cool down before turning the
| |
![]() | |
Overdischarge protection
When the battery capacity becomes low, the tool stops automatically. If the product does not operate even when the switches are operated, remove the batteries from the tool and charge the batteries
Indicating the remaining battery capacity
► Fig.8:
- Battery indicator
- Check button Press the check button to indicate the remaining battery capacities. The battery indicators correspond to each battery.
Battery indicator status Remaining battery capacity
On
Off
Blinking
50% to 100% 
20% to 50% 
0% to 20% 
Charge the battery
Indicating the remaining battery capacity
Only for battery cartridges with the indicator
► Fig.9: 1. Indicator lamps 2. Check button 
Press the check button on the battery cartridge to indicate the remaining battery capacity. The indicator lamps light up for a few seconds.
| Indicator lamps | Remaining capacity | ||
|
|
| |
![]() | 75% to 100% | ||
![]() | 50% to 75% | ||
![]() | 25% to 50% | ||
![]() | 0% to 25% | ||
![]() | Charge the battery. | ||
![]() | The battery may have malfunctioned. | ||
| NOTE: Depending on the conditions of use and the ambient temperature, the indication may differ slightly from the actual capacity. |
Switch action
To prevent the switch trigger from being accidentally pulled, a lockoff button is provided. To start the tool, depress the lock-off button
and pull the switch trigger. Release the switch trigger to stop.
► Fig.10:
- Switch trigger
- Lock-off button
| NOTICE: Do not pull the switch trigger hard without pressing in the lock-off button. This can cause switch breakage |
Automatic speed change function
This tool has “high speed mode” and “high torque mode”.
The tool automatically changes the operation mode depending on the work load. When the work load is low, the tool will run in the “high speed mode” for quicker cutting operation. When the work load is high, the tool will run in the “high torque mode” for powerful cutting operation.
► Fig.11: 1. Mode indicator
The mode indicator lights up in green when the tool is running in “high torque mode”.
If the tool is operated with excessive load, the mode indicator will blink in green. The mode indicator stops blinking and then lights up or turns off if you reduce theload on the tool.
| Mode indicator status | Operation mode | ||
On | Off | Blinking | |
| High speed mode | ||
![]() | High torque mode | ||
![]() | Overload alert | ||
Adjusting depth of cut
Loosen the lever on the depth guide and move the base up or down. At the desired depth of cut, secure the base by tightening the lever. For cleaner, safer cuts, set cut depth so that no more than one blade tooth projects below workpiece. Using proper cut depth helps to reduce potential for dangerous KICKBACKS which can cause personal injury.
► Fig.12:
- Lever
Bevel cutting
Loosen the clamping screws. Set for the desired angle by tilting accordingly, then tighten the clamping screws securely .
► Fig.13: 1.Clamping screw
Use the stopper when you do precise 45° angle cutting. Fully turn the stopper as illustrated depending on 0° – 45° bevel cut or 0° – 48° bevel cut.
► Fig.14: 1. Stopper
Sighting
For straight cuts, align the 0° position on the front of the base with your cutting line. For 45° bevel cuts, align the 45° position with it.
► Fig.15: 1. Cutting line (0° position) 2. Cutting line (45° position)
Lighting the lamp
To turn on the lamp without running the tool, pull these witch trigger without pressing the lock-off button. To turn on the lamp with the tool running, press and hold the lock-off button and pull the switch trigger. The lamp goes out 10 seconds after releasing the switch trigger.
► Fig.16: 1. Lamp
| NOTE: Use a dry cloth to wipe the dirt off the lens of the lamp. Be careful not to scratch the lens of lamp, or it may lower the illumination. |
Hook
Optional accessory
The hook is convenient for hanging the tool temporarily.
► Fig.17
Attach the hook with the screws as illustrated.
► Fig.18: 1. Hook 2. Screw
To use the hook, simply turn the hook until it snaps into the open position. When not in use, always turn the hook until it snaps into the closed position.
► Fig.19: 1. Open position 2. Closed position
Electric brake
The tools equipped with electronic function are easy to operate because of the following feature(s).
Soft start feature
Soft start because of suppressed starting shock.
ASSEMBLY
Hex wrench storage
When not in use, store the hex wrench as shown in the figure to keep it from being lost.
► Fig.20:
- Hex wrench
Removing or installing circular saw blade
To remove the circular saw blade, press the shaft lock fully so that the circular saw blade cannot revolve and use the hex wrench to loosen the hex bolt. Then remove the hex bolt, outer flange, circular saw blade and ring (country specific).
► Fig.21: 1. Shaft lock 2. Hex wrench 3. Loosen
4. Tighten
For tool without the ring
► Fig.22:
- Hex bolt
- Outer flange
- Circular saw blade
- Inner flange For tool with the ring
► Fig.23:
- Hex bolt Outer flange
- Circular saw blade
- Ring
- Inner flange
To install the circular saw blade, follow the removal procedure in reverse.
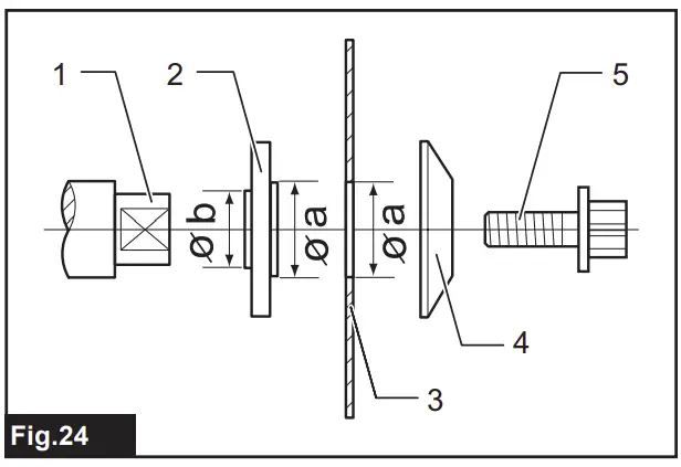
For tool with the inner flange for other than 15.88 mm hole-diameter saw blade
The inner flange has a certain diameter protrusion on one side of it and a different diameter protrusion on the other side. Choose a correct side on which protrusion fits into the saw blade hole perfectly. Mount the inner flange onto the mounting shaft so that the correct side of protrusion on the inner flange faces outward and then place saw blade and outer flange.
► Fig.24:
- Mounting shaft
- Inner flange
- Circular saw blade
- Outer flange
- Hex bolt
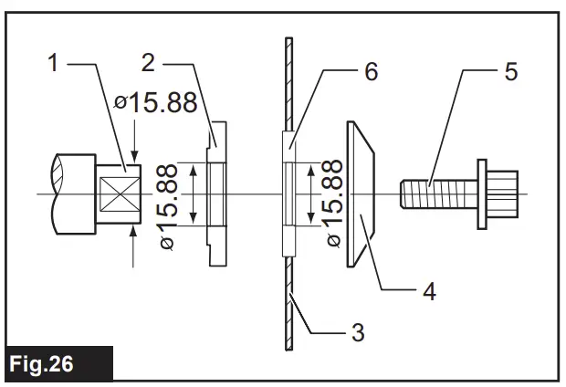
For tool with the inner flange for a 15.88 mm hole-diameter saw blade (country specific)
Mount the inner flange with its recessed side facing outward onto the mounting shaft and then place circular saw blade (with the ring attached if needed), outer flange and hex bolt.
For tool without the ring
► Fig.25:
- Mounting shaft
- Inner flange
- Circular saw blade
- Outer flange
- Hex bolt
For tool with the ring
► Fig.26:
- Mounting shaft
- Inner flange
- Circular saw blade
- Outer flange
- Hex bolt
- Ring
Blade guard cleaning
When changing the circular saw blade, make sure to also clean the upper and lower blade guards of accumulated sawdust as discussed in the Maintenance section. Such efforts do not replace the need to check lower guard operation before each use
connecting a vacuum cleaner
When you wish to perform clean cutting operation, connect a Makita vacuum cleaner to your tool. Connect a hose of the vacuum cleaner to the dust nozzle as shown in the figure.
► Fig.27:
- Dust nozzle
- Screw
► Fig.28:
- RHose
- Vacuum cleaner
OPERATION
]This tool is intended to cut wood products. With appropriate Makita genuine circular saw blades, following materials can also be sawed:
- Aluminum products Refer to our website or contact your local Makita dealer for the correct circular saw blades to be used for the material to be cut.
Checking blade guard function
Set the bevel angle to 0°, and then retract the lower guard manually to the end and release it. The lower guard is properly functioning if;
- it is retracted above the base without any hindrance and;
- it automatically returns and contacts with the stopper.
Fig.29:
- Upper guard
- Lower guard
- Base
- Stopper
- Open
- Close
If the lower guard is not functioning properly, check if saw dust is accumulated inside of the upper and lower guards. If the lower guard is not functioning properly even after removing dust, have your tool serviced at a Makita service center
Cutting operation
| NOTE: When the battery cartridge temperature is low, the tool may not work to its full capacity. At this time, for example, use the tool for a light-duty cut for a while until the battery cartridge warms up as high as room temperature. Then, the tool can work to its full capacity |
► Fig.30
Hold the tool firmly. The tool is provided with both a front grip and rear handle. Use both to best grasp the tool. If both hands are holding saw, they cannot be cut by the circular saw blade. Set the base on the workpiece to be cut without the circular saw blade making any contact. Then turn the tool on and wait until the circular saw blade attains full speed. Now simply move the tool forward over the workpiece surface, keeping it flat and advancing smoothly until the sawing is completed. To get clean cuts, keep your sawing line straight and your speed of advance uniform. If the cut fails to properly follow your intended cut line, do not attempt to turn or force the tool back to the cut line. Doing so may bind the circular saw blade and lead to dangerous kick back and possible serious injury. Release switch, wait for circular saw blade to stop and then withdraw tool. Realign tool on new cut line, and start cut again. Attempt to avoid positioning which exposes operator to chips and wood dust being ejected from saw. Use eye protection to help avoid injury.
Rip fence (Guide rule)
► Fig.31:
- Rip fence (Guide rule)
- Clamping screw
The handy rip fence allows you to do extra-accurate straight cuts. Simply slide the rip fence up snugly against the side of the workpiece and secure it in position with the clamping screw on the front of the base. It also makes repeated cuts of uniform width possible.
Guide rail
Optional accessory
Place the tool on the rear end of guide rail. Turn two adjusting screws on the tool base so that the tool slides smoothly without a clatter. Hold both the front grip and rear handle of the tool firmly. Turn on the tool and cut the splinter-guard along the full length with a stroke. Now the edge of the splinter-guard corresponds to the cutting edge.
► Fig.32:
- Adjusting screws
When bevel cutting with the guide rail, use the slide lever to prevent the tool from falling over. Move the slide lever on the tool base in the direction of arrow so that it engages the undercut groove in the guide rail.
► Fig.33:
- Slide lever
Lanyard (tether strap) connection
Safety warnings specific for use at height Read all safety warnings and instructions. Failure to follow the warnings and instructions may result in serious injury.
- Always keep the tool tethered when working “at height”. Maximum lanyard length is 2 m (6.5 ft).
- Use only with lanyards appropriate for this tool type and rated for at least 6.0 kg (13.3 lbs).
- Do not anchor the tool lanyard to anything on your body or on movable components. Anchor the tool lanyard to a rigid structure that can withstand the forces of a dropped tool.
- Make sure the lanyard is properly secured at each end prior to use
- Inspect the tool and lanyard before each use for damage and proper function (including fabric and stitching). Do not use if damaged or not functioning properly.
- Do not wrap lanyards around or allow them to come in contact with sharp or rough edges.
- Fasten the other end of the lanyard outside the working area so that a falling tool is held sec rely.
- Attach the lanyard so that the tool will move away from the operator if it falls. Dropped tools will swing on the lanyard, which could cause injury or loss of balance
- Do not use near moving parts or running machinery. Failure to do so may result in a crush or entanglement hazard.
- Do not carry the tool by the attachment device or the lanyard.
- Only transfer the tool between your hands while you are properly balanced.
- Do not attach lanyards to the tool in a way that keeps guards, switches or lock-offs from operating properly.
- Avoid getting tangled in the lanyard.
- Keep lanyard away from the cutting area of the tool.
- Use multi-action and screw gate type carabineers. Do not use single action spring clip carabineers.
- In the event the tool is dropped, it must be tagged and removed from service, and should be inspected by a Makita Factory or Authorized Service Center.
► Fig.34:
- Hole for lanyard (tether strap)
WIRELESS ACTIVATION FUNCTION
For DHS783 only
What you can do with the wireless activation function
The wireless activation function enables clean and comfortable operation. By connecting a supported vacuum cleaner to the tool, you can run the vacuum cleaner automatically along with the switch operation of the tool.
► Fig.35
To use the wireless activation function, prepare following items:
- A wireless unit (optional accessory)
- A vacuum cleaner which supports the wireless activation function
The overview of the wireless activation function setting is as follows. Refer to each section for detail procedures.
- Installing the wireless unit
- Tool registration for the vacuum cleaner
- Starting the wireless activation function
Installing the wireless unit
Optional accessory
| NOTICE: Clean the dust and dirt on the tool before installing the wireless unit. Dust or dirt may cause malfunction if it comes into the slot of the wireless unit. NOTICE: To prevent the malfunction caused by static, touch a static discharging material, such as a metal part of the tool, before picking up the wireless unit. NOTICE: When installing the wireless unit, always be sure that the wireless unit is inserted in the correct direction and the lid is completely closed |
- Open the lid on the tool as shown in the figure.
► Fig.36: 1. Lid
- Insert the wireless unit to the slot and then close the lid.
When inserting the wireless unit, align the projections with the recessed portions on the slot.
► Fig.37: 1. Wireless unit 2. Projection 3. Lid 4. Recessed portion
When removing the wireless unit, open the lid slowly.
The hooks on the back of the lid will lift the wireless unit as you pull up the lid.
► Fig.38: 1. Wireless unit 2. Hook 3. Lid
After removing the wireless unit, keep it in the supplied case or a static-free containerNOTICE: Always use the hooks on the back of the lid when removing the wireless unit. If the hooks do not catch the wireless unit, close the lid completely and open it slowly again.
Tool registration for the vacuum cleaner
| NOTE: A Makita vacuum cleaner supporting the wireless activation function is required for the tool registration. NOTE: Finish installing the wireless unit to the tool before starting the tool registration. NOTE: During the tool registration, do not pull the switch trigger or turn on the power switch on the vacuum cleaner. NOTE: Refer to the instruction manual of the vacuum cleaner, too |
If you wish to activate the vacuum cleaner along with
the switch operation of the tool, finish the tool registration beforehand.
- Install the batteries to the vacuum cleaner and the tool.
- Set the stand-by switch on the vacuum cleaner to “AUTO”.
► Fig.39: 1. Stand-by switch
- Press the wireless activation button on the vacuum cleaner for 3 seconds until the wireless activation lamp blinks in green. And then press the wireless activation button on the tool in the same way.
► Fig.40: 1. Wireless activation button 2. Wireless activation lamp
If the vacuum cleaner and the tool are linked successfully, the wireless activation lamps will light up in green for 2 seconds and start blinking in blue.
| NOTE: The wireless activation lamps finish blinking in green after 20 seconds elapsed. Press the wireless activation button on the tool while the wireless activation lamp on the cleaner is blinking. If the wireless activation lamp does not blink in green, push the wireless activation button briefly and hold it down again. NOTE: When performing two or more tool registrations for one vacuum cleaner, finish the tool registration one by one. |
Starting the wireless activation function
| NOTE: Finish the tool registration for the vacuum cleaner prior to the wireless activation. NOTE: Refer to the instruction manual of the vacuum cleaner, too. |
After registering a tool to the vacuum cleaner, the vacuum cleaner will automatically runs along with the switch operation of the tool.
- Install the wireless unit to the tool.
- Connect the hose of the vacuum cleaner with the tool.
► Fig.41
- Set the stand-by switch on the vacuum cleaner to “AUTO”.
► Fig.42: 1. Stand-by switch
- Push the wireless activation button on the tool briefly. The wireless activation lamp will blink in blue.
► Fig.43: 1. Wireless activation button 2. Wireless activation lamp
- Pull the switch trigger of the tool. Check if the vacuum cleaner runs while the switch trigger is being pulled. To stop the wireless activation of the vacuum cleaner, push the wireless activation button on the tool.
| NOTE: The wireless activation lamp on the tool will stop blinking in blue when there is no operation for 2 hours. In this case, set the stand-by switch on the vacuum cleaner to “AUTO” and push the wireless activation button on the tool again. NOTE: The vacuum cleaner starts/stops with a delay. There is a time lag when the vacuum cleaner detects a switch operation of the tool. NOTE: The transmission distance of the wireless unit may vary depending on the location and surrounding circumstances. NOTE: When two or more tools are registered to one vacuum cleaner, the vacuum cleaner may start running even if you don’t pull the switch trigger because another user is using the wireless activation function. |
Description of the wireless activation lamp status
► Fig.44: 1. Wireless activation lamp
The wireless activation lamp shows the status of the wireless activation function. Refer to the table below for the meaning of the lamp status.
| Status | Wireless activation lamp | Description | |||
| Color |
|
| Duration | ||
| Standby | Blue | 2 hours | The wireless activation of the vacuum cleaner is available. The lamp will automatically turn off when no operation is performed for 2 hours. | ||
| When the tool is running. | The wireless activation of the vacuum cleaner is available and the tool is running. | ||||
| Tool registration | Green | 20 seconds | Ready for the tool registration. Waiting for the registration by the vacuum cleaner. | ||
| 2 seconds | The tool registration has been finished. The wireless activation lamp will start blinking in blue. | ||||
| Cancelling tool registration | Red | 20 seconds | Ready for the cancellation of the tool registration. Waiting for the cancellation by the vacuum cleaner. | ||
| 2 seconds | The cancellation of the tool registration has been finished. The wireless activation lamp will start blinking in blue. | ||||
| Others | Red | 3 seconds | The power is supplied to the wireless unit and the wireless activation function is starting up. | ||
| Off | – | – | The wireless activation of the vacuum cleaner is stopped. | ||
Cancelling tool registration for the vacuum cleaner
Perform the following procedure when cancelling the tool registration for the vacuum cleaner.
- Install the batteries to the vacuum cleaner and the tool.
- Set the stand-by switch on the vacuum cleaner to “AUTO”.
► Fig.45: 1. Stand-by switch
- Press the wireless activation button on the vacuum cleaner for 6 seconds. The wireless activation lamp blinks in green and then become red. After that, press the wireless activation button on the tool in the same way.
► Fig.46: 1. Wireless activation button 2. Wireless activation lamp If the cancellation is performed successfully, the wireless activation lamps will light up in red for 2 seconds and start blinking in blue.
| NOTE: The wireless activation lamps finish blinking in red after 20 seconds elapsed. Press the wireless activation button on the tool while the wireless activation lamp on the cleaner is blinking. If the wireless activation lamp does not blink in red, push the wireless activation button briefly and hold it down again. |
Troubleshooting for wireless activation function
Before asking for repairs, conduct your own inspection first. If you find a problem that is not explained in the manual, do not attempt to dismantle the tool. Instead, ask Makita Authorized Service Centers, always using Makita replacement parts for repairs.
| State of abnormality | Probable cause (malfunction) | Remedy |
| The wireless activation lamp does not light/blink. | The wireless unit is not installed into the tool. The wireless unit is improperly installed into the tool. | Install the wireless unit correctly. |
| The terminal of the wireless unit and/or the slot is dirty. | Gently wipe off dust and dirt on the terminal of the wireless unit and clean the slot. | |
| The wireless activation button on the tool has not been pushed. | Push the wireless activation button on the tool briefly. | |
| The stand-by switch on the vacuum cleaner is not set to “AUTO”. | Set the stand-by switch on the vacuum cleaner to “AUTO”. | |
| No power supply | Supply the power to the tool and the vacuum cleaner. | |
| Cannot finish tool registration / can- celling tool registration successfully. | The wireless unit is not installed into the tool. The wireless unit is improperly installed into the tool. | Install the wireless unit correctly. |
| The terminal of the wireless unit and/or the slot is dirty. | Gently wipe off dust and dirt on the terminal of the wireless unit and clean the slot. | |
| The stand-by switch on the vacuum cleaner is not set to “AUTO”. | Set the stand-by switch on the vacuum cleaner to “AUTO”. | |
| No power supply | Supply the power to the tool and the vacuum cleaner. | |
| Incorrect operation | Push the wireless activation button briefly and perform the tool registration/cancellation procedures again. | |
| The tool and vacuum cleaner are away from each other (out of the transmission range). | Get the tool and vacuum cleaner closer to each other. The maximum transmission distance is approximately 10 m however it may vary according to the circumstances. | |
| Before finishing the tool registration/ cancellation; – the switch trigger on the tool is pulled or; – the power button on the vacuum cleaner is turned on. | Push the wireless activation button briefly and perform the tool registration/cancellation procedures again. | |
| The tool registration procedures for the tool or vacuum cleaner have not finished. | Perform the tool registration procedures for both the tool and the vacuum cleaner at the same timing. | |
| Radio disturbance by other appliances which generate high-intensity radio waves. | Keep the tool and vacuum cleaner away from the appliances such as Wi-Fi devices and microwave ovens. | |
| The vacuum cleaner does not run along with the switch operation of the tool. | The wireless unit is not installed into the tool. The wireless unit is improperly installed into the tool. | Install the wireless unit correctly. |
| The terminal of the wireless unit and/or the slot is dirty. | Gently wipe off dust and dirt on the terminal of the wireless unit and clean the slot. | |
| The wireless activation button on the tool has not been pushed. | Push the wireless activation button briefly and make sure that the wireless activation lamp is blinking in blue. | |
| The stand-by switch on the vacuum cleaner is not set to “AUTO”. | Set the stand-by switch on the vacuum cleaner to “AUTO”. | |
| More than 10 tools are registered to the vacuum cleaner. | Perform the tool registration again. If more than 10 tools are registered to the vacuum cleaner, the tool registered earliest will be cancelled automatically. | |
| The vacuum cleaner erased all tool registrations. | Perform the tool registration again. | |
| No power supply | Supply the power to the tool and the vacuum cleaner. | |
| The tool and vacuum cleaner are away from each other (out of the transmission range). | Get the tool and vacuum cleaner closer each other. The maximum transmission distance is approximately 10 m however it may vary according to the circumstances. | |
| Radio disturbance by other appliances which generate high-intensity radio waves. | Keep the tool and vacuum cleaner away from the appliances such as Wi-Fi devices and microwave ovens. | |
| The vacuum cleaner runs while the tool’s switch trigger is not pulled. | Other users are using the wireless activation of the vacuum cleaner with their tools. | Turn off the wireless activation button of the other tools or cancel the tool registration of the other tools. |
MAINTENANCE
| NOTICE: Never use gasoline, benzine, thinner, alcohol or the like. Discoloration, deformation or cracks may result. |
To maintain product SAFETY and RELIABILITY, repairs, any other maintenance or adjustment should be performed by Makita Authorized or Factory Service Centers, always using Makita replacement parts.
Adjusting 0°-cut or 45°-cut accuracy
This adjustment has been made at the factory. But if it is off, you can adjust it as the following procedure.
- Loosen the clamping screws on the front and rear of the tool so that the bevel angle can be changed. Set the stopper to 0° – 45° bevel angle position if you are going to adjust 45°-cut accuracy.
► Fig.47: 1. Stopper
- Make the base perpendicular or 45° to the circular saw blade using a triangular rule by turning the adjusting screw with a hex wrench. You can also use a square rule to adjust 0° angle.
► Fig.48: 1. Triangular rule
► Fig.49: 1. Adjusting screw for 0° angle 2. Adjusting screw for 45° angle
- Tighten the clamping screws and then make a test cut to check if desired angle is obtained.
Adjusting the parallelism
This adjustment has been made at the factory. But if it is off, you can adjust it as the following procedure.
- Set the tool to the maximum cutting depth.
- Make sure all levers and screws are tightened.
- Loosen the screws shown in the figure.
- While opening the lower guard, move the rear of the base so that the distance A and B becomes equal.
► Fig.50: 1. Screw 2. Base
- Tighten the screws and make a test cut to check the parallelism.
OPTIONAL ACCESSORIES
If you need any assistance for more details regarding these accessories, ask your local Makita Service Center
- Circular saw blade
- Rip fence (Guide rule)
- Hook
- Guide rail
- Bevel guide
- Clamp
- Sheet
- Rubber sheet
- Position sheet
- Dust nozzle
- Hex wrench
- Wireless unit (for DHS783)
- Makita genuine battery and charger
| NOTE: Some items in the list may be included in the tool package as standard accessories. They may differ from country to country. |
Makita Europe N.V. Jan-Baptist Vinkstraat 2,
3070 Kortenberg, Belgium
Makita Corporation 3-11-8, Sumiyoshi-cho,
Anjo, Aichi 446-8502 Japan
www.makita.com








Off
Blinking













































