NEMA Swing−Out Panel Kit

ANADFK NEMA Swing Out Panel Kit
WARNING
To avoid electric shock and equipment damage, disconnect any power supplies to the enclosure before drilling mounting holes. Do not energize any circuits before all internal and external electrical and mechanical clearances are checked to assure that all assembled equipment functions safely and properly.
This accessory maintains UL/CSA Type 12,4,4X when installed per these instructions.
This accessory is covered by UL file E61997 and CSA file LR42186.
INSTALLATION STEPS
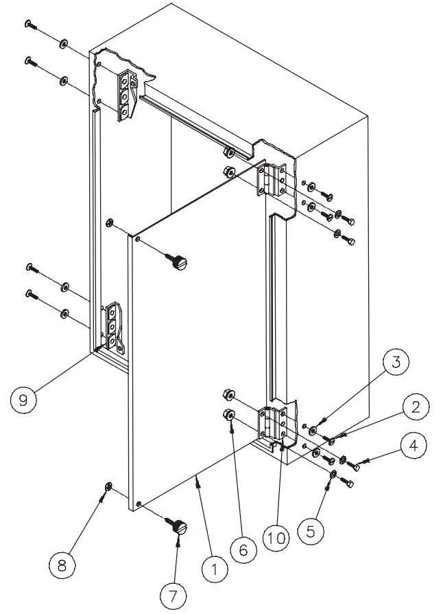
Step 1 − Swing panel may be hinged on any side. Determine mounting position desired and drill eight .312 (8mm) diameter holes as shown on page 6.
Step 2 − Mount hinges and securing brackets using pan head screws with nylon washers under the screw heads. In order to meet NEMA 4 and NEMA 12 standards, nylon washers must be used.
Step 3 − Mount swing panel to hinges with 3/8” hex head bolts, lockwashers, and hex nuts. Adjust panel until panel swings freely through the door opening.
Step 4 − Captivate thumb screws to panel using retaining rings provided.
Step 5 − On larger enclosures or with heavy panel loading, be sure to drill two holes in swing panel and install two bolts per hinge as shown.



Rev. D
© 2018 Hoffman Enclosures Inc.
PH 763 422 2211
nVent.com/HOFFMAN
P/N 99401469
87568919













