ULTRX ®
ULTRX Swing Out Panel

UL/CSA Type 3R

WARNING
To avoid electric shock, grounding must be installed by the customer as part of the installation. Non-metallic enclosures do not provide grounding between conduit connections.
GROUNDING OF EQUIPMENT AND CONDUIT
Ground in accordance with the requirements of the National Electrical Code.
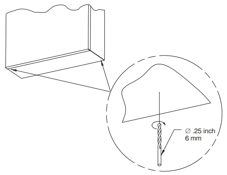
Conduit hubs for metallic conduit must have a grounding bush-ing attached to the hub on the inside of the enclosure. Ground-ing bushings have provisions for connection of a grounding wire.
Non-metallic conduit and hubs require the use of a grounding wire in the conduit. Grounding bushings are not required. System grounding is provided by connection wires from all con-duit entries to the subpanel or to other suitable point which pro-vides continuity. Any device having a metal portion or portions extending out of the enclosure must also be properly grounded.
Typical Grounding Illustrations

© 2010 Hoffman Enclosures Inc.
PH 763 422 2211 • nVent.com/HOFFMAN
P/N 55318001














