nVent HOFFMAN ULTRX Screw Insert Kit

Product Information
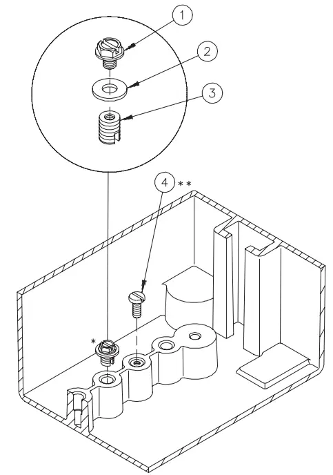
The Screw Insert Kit is a versatile tool designed for easy insertion of screws. It is compatible with various types of screws and can be used in a wide range of applications. The kit includes all the necessary components to ensure a secure and reliable screw insertion.
Specifications
- Model: 87568228
- Revision: B
- Torque: 2.26 Nm
Product Usage Instructions
Follow the steps below to use the Screw Insert Kit:
- Identify the type and size of screw required for your application.
- Ensure that you have the necessary quantity of screws and insert components.
- Using the provided tools, align the screw insertion tool with the desired location for screw insertion.
- Apply a torque of 2.26 Nm using a suitable torque wrench or tool.
- Repeat the process for each screw required.
Note: Ensure that the screws are properly seated and tightened to avoid any loose connections.
For further assistance or troubleshooting, refer to the complete user manual or contact our customer support.
Screw Insert Kit
REQUIRED TOOLS
- Drive insert into boss until flush with the surface
- Use 10–32 screws to mount components. 20 in-lbs
INSTRUCTIONS
Rev. B © 2018 Hoffman Enclosures Inc. PH 763 422 2211 • nVent.com/HOFFMAN P/N 55320001 87568228

















