
User Manual
Warranty Statement
V.1 06/2021
Ezfix Screwdriver Kit
Prozis is a registered trademark of PROZIS.COM, S.A.
Prozis reserves the right to adjust or modify the product or any of the associated documentation in order to ensure its suitability for use, at any time and without prior notice.
NOTE: The most recent version of this product’s user manual can be found at www.prozis.com/user-manuals
Legal compliance statement
Prozis will always be available for any additional explanation through our customer support communication channels, available at www.prozis.com/support
The packaging that protects the device against transport damage is made from non-polluting materials that can be disposed of via local recycle bins.
Safety warnings
DANGER! This symbol, when combined with the note Danger, means high risk. Failure to observe this warning may lead to injury to life and limb.
DANGER FOR CHILDREN AND PEOPLE WITH DISABILITIES
- This device is not designed to be used by people (including children) with limited physical, sensory or mental capabilities.
- It cannot be used by people without adequate experience and/or understanding, unless they are supervised by someone responsible for their safety or are instructed by them on how to use the device.
- Packing materials are not toys. Children must not play with the packing materials. There is a suffocation risk.
- Children must not play with the device.
- Cleaning and maintenance must not be performed by children or people with limited physical, sensory or mental capabilities.
- Keep the device out of the reach of children.
CAUTION! This symbol highlights dangerous situations that can lead to minor to moderate injuries, damage, malfunction, and/or destruction of the device.
To prevent harm or damage from happening to users or others, make sure to comply with the following requirements:
- When not in use, this product should be placed out of the reach of children to avoid accidental injury.
- Always wear hand and eye protection while using the product.
- Inspect the product before using it. Do not use the it if it looks damaged.
- Do not use the product with bystanders in the area.
- This kit is a non-insulated tool. Make sure to keep away from power supply sources while operating it. It will not protect you against electrical shock.
- To unscrew choose a bit that matches the screw in order to avoid damage.
- Keep away from high temperature and high temperature objects when using this product.
PACKAGE CONTENTS
- 1 x Prozis Ezfix – Screwdriver kit
- 1 x 1/4’’ Bit Driver
- 1 x Extension Rod
- 21 x Bit
- 1 x Quick Guide
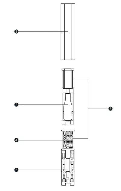
PRODUCT OVERVIEW (SEE PAGE 2)
- Aluminium Shell
- 1/4” Bit Driver
- Plastic Parts
- 1/4” Bit x 21
- Extender
Maintenance and cleaning
Do not use aggressive or abrasive cleaning agents or materials such as scouring milk or steel wool. They can damage the upper surface of the product!
Gently wipe with a soft, damp cloth.
Storage
When no longer using the device, store it in a dry environment, protected from dust and direct sunlight.
Store the product inside the original case provided.
INSTRUCTIONS
How to use
- Press the top and the product core will pop out. Remove it.
- The product core is divided into 2 parts: side A has a 1/4’’ Bit Driver and side B has 21 1/4’’ bits and an extender.
- All side B parts connect to the Bit Driver through magnetism, and you can easily choose any option.
- After use, just snap everything back onto the core and back into the aluminum case. To put the core back into the product, just press the top again.
Warranty statement
All electrical and electronic products commercialized by Prozis via www.prozis.com are covered by the warranty applicable to the purchase and sale of consumer goods.
GENERAL CONSIDERATIONS
This document contains the terms and conditions of Prozis’ warranty for final consumers.
This warranty is valid exclusively for consumers who purchase the product for non-professional purposes.
WARRANTY PERIOD
Prozis guarantees the product is to remain free from material and production defects for a 2-year period, counting from the date of initial purchase by a consumer and espective deliv- ery, or for longer if legally established by the applicable national law.
In the event that repair is required, this 2-year period is suspended during repair time.
CONSUMABLES
The gradual performance decrease caused by prolonged use of the product’s consumable components, such as batteries, is not covered by this warranty unless the malfunction is caused by faulty design, materials or production.
HOW TO MAKE A CLAIM
If the need arises to exercise the rights conceded to you through this warranty, please contact Prozis customer service via the communication channels provided on the Prozis website, and follow the provided instructions or recommendations. Contact and technical assistance information is also provided at the end of this warranty.
Any claims made regarding this warranty will only be valid if proof of purchase is presented by the original customer. This proof of purchase may be the original invoice or receipt, as long as it includes information regarding the date of purchase and the product’s model name.
WARRANTY REPAIRS
Any repairs made under this warranty cannot be made by third parties. This warranty does not apply to any repairs, or damage caused directly by such repairs, that have impacted or caused the damage that is the subject of the respective warranty claim.
EXCLUSIONS
The following situations are not covered by this warranty:
- Any wear and tear of parts and components resulting from normal product use.
- Cracks, dents, scratches, and other types of superficial damage that only affect the product’s appearance.
- Any malfunction caused by inappropriate use of the product that does not comply with user manual instructions.
- Use and storage of the product not complying with user manual instructions.
- Opening of the product by a third party who is not authorized to proceed to its repair.
- Altering or changing parts or components, whether internal or external.
- Damage caused by battery leakage resulting from the breaking of any of its components, or from product misuse.
- Malfunction or damage due to reasons that cannot be ascribed to the production or design of the product.
- Use of the product in the context of a business, occupation or commerce.
- Malfunction due to use that does not comply with the technical or security norms in force, or with user manual instructions.
The services provided by Prozis in order to repair or fix any fault or malfunction resulting from the verification of any of the aforementioned excluded situations will be subject to payment of labor, transport and component costs.
The customer shall bear all risks of loss and damage to the product during transportation to Prozis. This warranty will be void if the returned product arrives with labels or stickers that have been removed, damaged, tampered with or modified in any way.
LIMITED RESPONSIBILITY
Prozis cannot be held responsible for indirect damage or loss due to usage of the product.
WHAT TO DO?
To request warranty service, you must first contact Prozis customer service via the communication channels provided on the Prozis website, and follow the provided nstructions and recommendations. Send back the product inside its original packaging, including all accessories and documentation, to the following address:
PROZIS Rua do Cais nº 198 4830-345 Póvoa de Lanhoso Braga – Portugal
CONTACTS
Prozis is always available for additional clarification through their customer service communication channel at www.prozis.com/support
Zona Franca Industrial
Plat 28 – Pavilhão K – Mod 6
9200-047 Caniçal, Madeira


















