nVent HOFFMAN INLINE Hinge Window Cover
Tools

- Hole plugs are not needed if enclosure is wall-mounted.
- Use items 1 and 2 when wall-mounting enclosure.
Installation Instructions

Available Options/ Accessoires
Panel

DIN Mounting Bracket

Mounting Foot

Latch Inserts

Key Locking Wing Knob

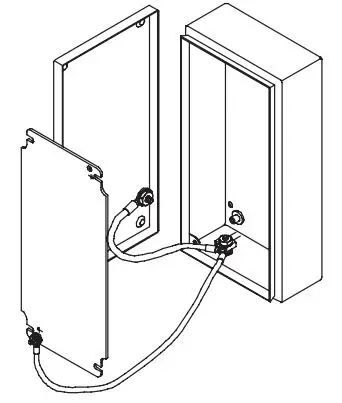
Ground Kit

MOUNTING INSTRUCTIONS
(optional mounting feet)

Mounting holes have been provided in the back of the enclosure for convenient mounting trough the enclosure. Attach enclosure to wall or other structure using customer supplied 3/8 inch or M8 fastener, flat washers, and nuts. To insure proper sealing and enclosure protection rating, use the provided sealing washers. Install sealing washers inside the enclosure with rubber face against the enclosure.
Mounting Feet
UL/CSA Requirement:
- Use of mounting feet mandatory on all type 3,4,4X applications.
- If wall mounting provisions have been omitted, holes must be added per detail above.
The use of the optional mounting feet allows simple mounting with fasteners outside the enclosure.
- Steel Zinc Plated Mounting Foot Kit P/N LMFK
- Stainless Steel Mounting Foot Kit P/N LMFKSS
Kits provide all necessary hardware to install the mounting feet as shown. (order separately)
© 2018 Hoffman Enclosures Inc.
nVent.com/HOFFMAN















