nVent HOFFMAN PSF170K PROLINE 170 Hinge Kit

Product Information
- Product Model: 87568725
- Revision: B
Product Usage Instructions
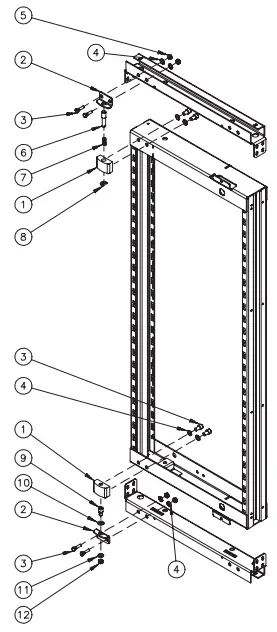
- Start by assembling the swing frame.
- Attach two swing frames to the product.
- Attach four swing frames to the product.
- Attach eight swing frames to the product.
- Secure the product using M10 screws. Use a total of 9 screws (M10).
- Attach two more swing frames to the product.
- Attach eight additional swing frames to the product.
- Attach four more swing frames to the product.
- Finally, secure the product with 8 more M10 screws.
Note: Please ensure that all swing frames are securely attached to the product using the specified number of screws.
TOOLS

PARTS

Rev. B © 2018 Hoffman Enclosures Inc.
PH 763 422 2211
nVent.com/HOFFMAN
P/N 60127324 87568725

















