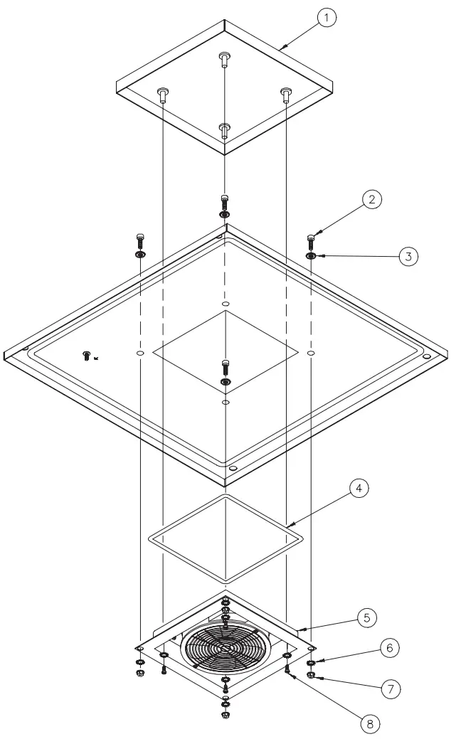
PROLINE® Pagoda Top Kit
PROLINE Pagoda Top Kit



Rev. B
© 2018 Hoffman Enclosures Inc.
PH 763 422 2211 • nVent.com/HOFFMAN
P/N 87414315
87569171
PROLINE® Pagoda Top Kit



Rev. B
© 2018 Hoffman Enclosures Inc.
PH 763 422 2211 • nVent.com/HOFFMAN
P/N 87414315
87569171
Download manual
Here you can download full pdf version of manual, it may contain additional safety instructions, warranty information, FCC rules, etc.