nVent HOFFMAN CCGK CONCEPT OI Ground Kit

Product Information
- Product Name: Ground Kits
- Model Number: 87568823
- Revision: C
- CAUTION: Ground kits are to be installed by trained service personnel only.
- ATTENTION: PRECAUCION
Product Usage Instructions
- Ensure that you are a trained service personnel before attempting to install the ground kits.
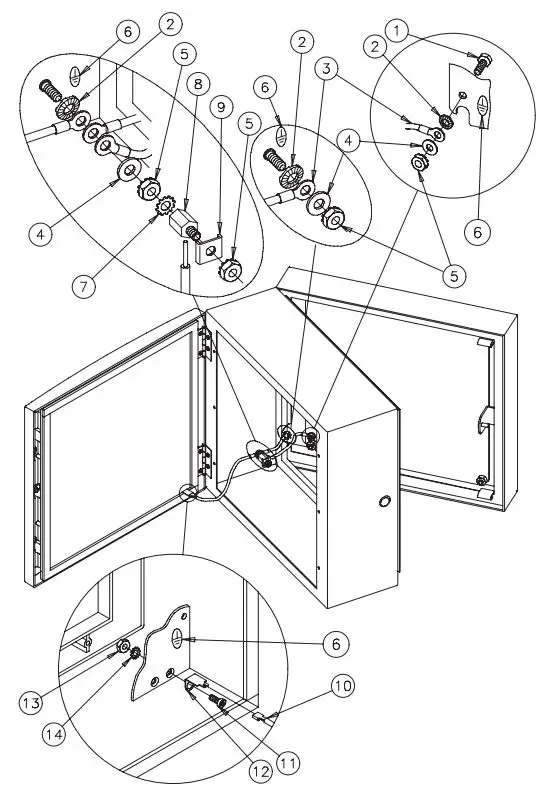
- Identify the components included in the package.
- Locate the appropriate locations for installing the ground kits.
- Use the provided M6-1×16 screws to secure two components.
- Use the provided M6-1 screw to secure one component.
- Use the provided M6-1 screws to secure three components.
- Use the provided M6-1 screws to secure four components.
- Use the provided M5x12 screws to secure one component.
- Use the provided 10.00 and 20.00-inch components as required for installation.
- Use the provided M5-.8 screw to secure one component.
- Use the provided M5 screw to secure one component.
Refer to the product diagram in the user manual for a visual representation of the installation process.
CAUTION
- Ground kits are to be installed by trained service personnel only.
Parts

Installation Instructions

Contact
- PH: 763 422 2211
- nVent.com/HOFFMAN
© 2018 Hoffman Enclosures Inc.














