nVent HOFFMAN A90BP18 Ground Kit

Product Information
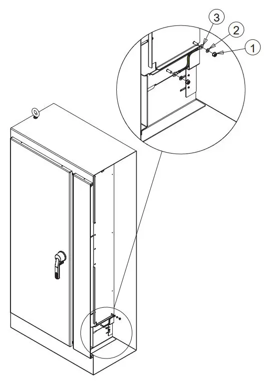
The Ground Kit is a component that is included with the enclosure. It is designed to provide complete grounding for the enclosure.
Product Usage Instructions
- Ensure that you have received the rear L-brackets along with the enclosure.
- Locate the rear L-brackets and identify the appropriate installation points on the enclosure.
- Attach the rear L-brackets to the designated installation points on the enclosure using the provided screws or fasteners.
- Make sure that the rear L-brackets are securely attached to the enclosure to ensure proper grounding.
- Once the rear L-brackets are installed, the grounding process is complete.
Note: It is important to follow these instructions to ensure that the enclosure is properly grounded. Failure to install the rear L-brackets may result in inadequate grounding.
Parts

Installation Instructions



NOTE: For complete grounding, rear L-brackets (furnished with enclosure) must be installed.
Contacts
- PH: 763 422 2211
- nVent.com/HOFFMAN
© 2019 Hoffman Enclosures Inc.













