Full and Half Swing-Out Panels


INSTALLATION INSTRUCTION:
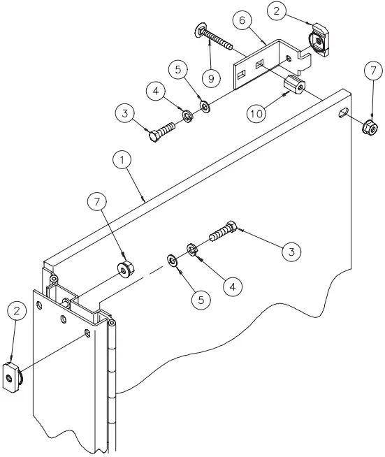
Step 1. Attach the hinged side of the swing-out panel assembly (item 1) to the mounting channels on one side of the enclosure. Secure in place with clamping nuts, screws, washers, and lockwashers (items 2,3,4,5). The clamping nuts fit inside the mounting channels.
Step 2. Install the panel supports (item 6) on mounting channels on the other side of the enclosure or on the center panel support on two-door enclosures. Secure panel supports in place with clamping nuts, screws, washers, and lockwashers (items 2,3,4,5). Clamping nuts are not required when installing panel supports on the center panel support. Install carriage bolts and standoff nuts (items 9,10) on each panel support in location shown.
Step 3. Swing the panel into the enclosure and secure it to the panel supports and studs provided on the hinged side of the swing-out panel assembly. Fasten with flange nuts (item 7).
NOTE: Half swing-out panel fits in top half or bottom half of enclosure. Panel will swing completely out of the enclosure if panel surface is 10.75 or less from the inside of the enclosure door. Panel can be installed further back if desired.
PARTS LIST | |||
Item No. | Part Name | Qty. Full Panel | Qty. Half Panel |
| 1 | Swing–out Panel Assembly | 1 | 1 |
2 | Clamp Nut, 5/16–18 | 12 | 8 |
| 3 | Hex Head Screw, 5/16–18×1 | 12 | 8 |
4 | Lockwasher, 5/16 | 12 | 8 |
| 5 | Flatwasher, 5/16 | 12 | 8 |
6 | Panel Support | 3 | 2 |
| 7 | Flange Nut, 3/8–16 | 6 | 4 |
8 | Installation Instruction | 1 | 1 |
| 9 | Carriage Bolt 3/8–16×1.75 | 3 | 2 |
10 | Standoff Nut, 3/8–16 | 3 | 2 |
Rev. C © 2018 Hoffman Enclosures Inc. PH 763 422 2211 · nVent.com/HOFFMAN P/N 99401613 87568969














