manhattan 461887 Aluminum Gas Spring Dual Monitor Desk Mount with 8-in-1 Docking Station

Instructions
Important: Read before use.
For additional benefits:
or go to: register.manhattanproducts.com/r/461887
Safety Precautions
- Avoid potential injuries or property damage! Manhattan is not responsible for damage or injury caused by incorrect assembly or use.
- Make sure that the supporting surface will safely support the combined weight of the equipment and all attached hardware and components.
- Be sure that you understand all instructions before you begin assembly. Ensure that you have received all parts according to the component checklist prior to installation.
- Safety gear and proper tools must be used. This product should only be installed by professionals.
- Use the mounting screws provided and DO NOT OVER-TIGHTEN mounting screws.
- This product is intended for indoor use only.
- Maintenance: Check that the bracket is secure and safe to use at regular intervals (at least every three months).
For specifications, go to manhattanproducts.com. Register your product at register.manhattanproducts.com/r/461887 or scan the QR code below.

Clamp Installation

Grommet Installation

Desktop with existing through-hole
or






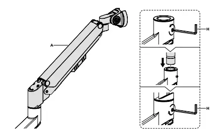
- To properly balance the arm with a monitor mounted to it, adjust the spring tension using the supplied Allen key.
Position and firmly hold the arm horizontally as shown. Seek assistance if required.
To avoid damage to monitor or mount, always keep the arm in a horizontal position while making adjustments.
CAUTION: DO NOT overtighten the screws.
Note — If the display does not stop at your desired position, tighten the screws as shown.

| 1 | 100 W Power Delivery (PD) input port: Connect a PD charger (up to 100 W) to power the Docking Station |
| 2 | Power LED: Lights when the docking station is powered |
| 3 6 | HDMI 2.0 port: 4K@60Hz single-video output; 4K@30Hz max. dual-video output |
| 4 | USB-C upstream port: Connect the included, full-featured Type-C cable to your laptop; supports charging up to 87 W max. |
| 5 | USB-A downstream ports: USB 3.2 Gen 1 ports (5 Gbps, 5 V / 0.9 A max.) |
| 7 | RJ45 Ethernet port: Supports 10/100/1000 Mbps transfer speeds |

Notes — Make sure your computer has a fullfeatured USB-C port before connecting the included USB-C able (J) to the Docking Station. The Docking Station is plug and play for fast and easy
setup – no driver download required; Windows®, macOS®, Chrome OS™ and Android™ compatible.
WASTE ELECTRICAL & ELECTRONIC EQUIPMENT
Disposal of Electric and Electronic Equipment (applicable in the E.U. and other European countries with separate collection systems)
This symbol on the product or its packaging means that this product must not be treated as unsorted household waste. In accordance with EU Directive 2012/19/EU on Waste Electrical and Electronic Equipment (WEEE), this electrical product must be disposed of in accordance with the user’s local regulations for electrical or electronic waste. Please dispose of this product by returning it to your local point of sale or recycling pickup point in your municipality.
REGULATORY STATEMENTS
FCC Class B
This equipment has been tested and found to comply with the limits for a Class B digital devicwe, pursuant to Part 15 of Federal Communications Commission (FCC) Rules. These limits are designed to provide reasonable protection against harmful interference in a residential installation. This equipment generates, uses and can radiate radio frequency energy, and if not installed and used in accordance with the instructions may cause harmful interference to radio communications. However, there is no guarantee that interference will not occur in a particular installation. If this equipment does cause harmful interference to radio or television reception, which can be determined by turning the equipment off and on, try to correct the interference by one or more of the following measures: reorient or relocate the receiving antenna; increase the separation between the equipment and the receiver; connect the equipment to an outlet on a circuit different from the receiver; or consult the dealer or an experienced radio/TV technician for help.
CE/UKCA
This device complies with the requirements of CE 2014/30/EU (UKCA Electromagnetic Compatibility Regulations 2016) and / or 2014/35/EU (UKCA Electrical Equipment [Safety] Regulations 2016). The Declaration of Conformity for is available at:
North & South America
IC Intracom Americas 550 Commerce Blvd. Oldsmar, FL 34677 USA
Asia & Africa
IC Intracom Asia
4-F, No. 77, Sec. 1, Xintai 5th Rd. Xizhi Dist., New Taipei City 221
Taiwan
Europe
IC Intracom Europe Löhbacher Str. 7
D-58553 Halver
Germany
All trademarks and trade names are the property of their respective owners. © IC Intracom. All rights reserved. Manhattan is a trademark of IC Intracom, registered in the U.S. and other countries.







To avoid damage to monitor or mount, always keep the arm in a horizontal position while making adjustments.
















