WALI Single Monitor Desk Mount

WARNING:
If you do not understand these directions, or if you have any doubts about the safety of the installation, please call a qualified technician. Check carefully to make sure there are no missing or defective parts. Improper installation may cause damage or serious injury. Do not use this product for any purpose that is not explicitly specified in this manual.
Do not exceed weight capacity. We cannot be liable for damage or injury caused by improper mounting, incorrect assembly or inappropriate use.
SERIOUS OR FATAL CRUSHING INJURIES CAN OCCUR FROM TIPOVER. TO HELP PREVENT TIPOVER:
- NEVER ALLOW CHILDREN TO CLIMB, STAND, HANG, OR PLAY ON ANY PART OF MONITOR OR STAND.
- USE TIPOVER RESTRAINT OR ANCHOR STAND TO WALL.
Supplied Parts List

How to Assemble
Step1: Measure the thickness of your mounting surface or desk

Step2: Press Pole Cover E into the top of Pole D

Step3: Loosen the bolts on C-Clamp C using Allen Key 4mm L

Step4:
Option A : Clamp Installation
- Connect Pole D and C-Clamp Brace from the bottom using M6x12 Bolt I and tighten with Allen Key 4mm L .Tear off the protect paper and attach Anti-Skid Pads H to the bottom designated position of C-Clamp Brace as image shown.

- Connect C-Clamp to C-Clamp Brace using the bolts and tighten with Allen Key 4mm L . Rotate the hand knob clockwise to fasten for stability.
Option B: Grommet Base Installation
- Loosen the screw to release the hand knob using a screwdriver as image shown. (Screwdriver not included)

- Tear off the protect paper and attach Anti-Skid Pads H to the bottom designated position of Grommet Base Plate G as image shown.

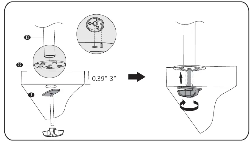
- Existing Grommet Hole Installation
If the existing grommet hole comes with a plastic protector, remove it to ensure a flat surface before installing the desk mount. Place the Grommet Base Plate G and Pole D to the grommet hole. Insert the hand knob through the center hole of Support Plate J and desk hole, rotate the hand knob clockwise to fasten for stability.
- Self-drilled Grommet Hole Installation
Mark the position of the hole on your mounting surface. Drill a 3/8″(10mm) diameter hole at the marked position through the mounting surface. Place the Grommet Base Plate G and Pole D to the grommet hole. Insert the hand knob through the center hole of Support Plate J and desk hole, rotate the hand knob clockwise to fasten for stability.
Step5: 

Step6: Put the Tool Holder F and Arm B through the Pole D , adjust the preferred height and tighten using Allen Key 6mm M .
Step7: Put the assembled TV/Monitor onto the Arm B and ensure stability, tighten the VESA plate using Top Screw K .

Step8: Adjust the tilt angle using Allen Key 6mm M .

Step9: Guide the cable through the Tool Holder F and wire clips. Store the Allen Keys in the Tool Holder F .

Step10: Manually swivel, tilt, and rotate the monitor for the best viewing angle.




























