Neomounts FPMA-D960D Monitor Desk Mount

Tools and Measurement

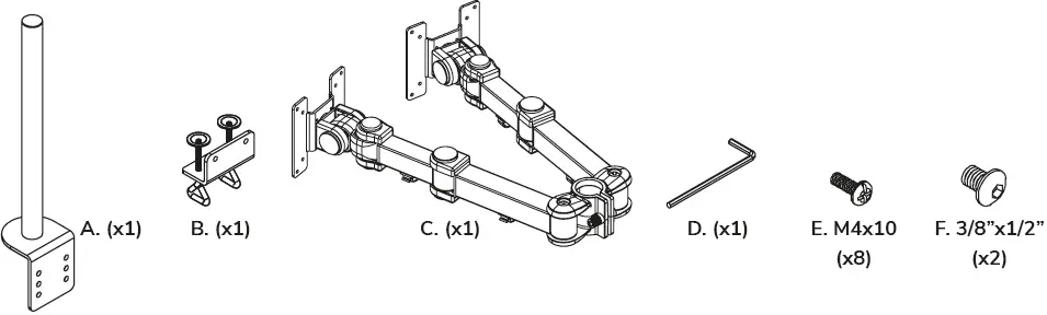
Parts

Installation Instructions
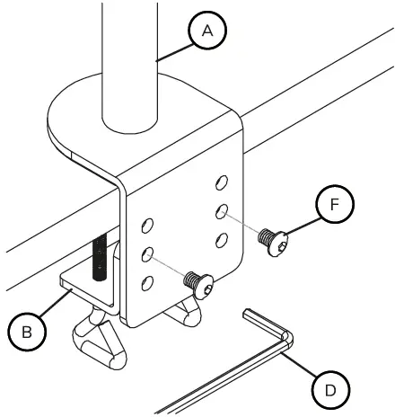
Step 1
Mount the desk clamp to the rod and install the clamp to the desk
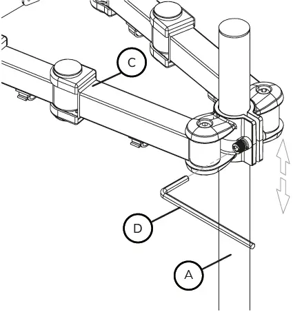
Step 2
Attach the arm to the rod, adjust the height, and tighten
Step 3
Attach the screen to the bracket and secure it
OPTION
Adjust the torques
STEP 4
Run the cable through the cable cover and adjust the mount to your desired position
CAUTION
- To ensure safety, please read this manual carefully before installation and follow the instructions. Store this manual in a secure place for future reference.
- The manufacturer shall not be legally responsible for any equipment damage or personal injury caused by incorrect installation or operation other than that covered in this manual.
- The mount is designed for easy installation and removal. The manufacturer shall not be liable for damage to equipment or personal injuries arising out of human factors or acts of nature, such as earthquakes or typhoons.
- It is recommended that the mount be installed by qualified personnel only.
- At least two persons are needed to install or remove the product to avoid the hazard of falling objects.
- Please carefully inspect the area where the mount is to be installed:
- Avoid places that are subject to high temperatures, humidity, or contact with water.
- Do not install the product near air conditioning vents or areas with excess dust and fumes.
- Only install on vertical walls and avoid slanted surfaces.
- Do not install in places subject to any shock or vibration.
- Do not install in places subject to direct exposure to bright light, as it may cause eye fatigue when viewing the display panel.
- Maintain sufficient space around the display to ensure adequate ventilation.
- To ensure a safe installation, first check the structure of the wall, ceiling, or floor and select a secure mounting location.
- The wall, ceiling, or floor should be strong enough to sustain a weight of at least four times the display and mount combined. The mounting location must be able to withstand earthquakes or other strong shocks.
- Do not modify any accessories or use broken parts. Contact your dealer with any questions.
- Tighten all screws (do not exert excessive force to avoid breaking the screw or damaging its thread).
- Drill holes and bolts will be left in the wall, ceiling, or floor once the display and bracket are removed. Stains may occur after extended use.
- Since the manufacturer has no way to control the wall, ceiling, or floor type and installation of the mount, the warranty of the product shall only cover the body of the mount. The warranty period of the product is 5 years.
- Please consult the English language manual for any dispute on conditions.
FAQ’s
You should have a TV stand if you often plug and unplug numerous devices.
These straps are frequently connected to the mounting holes on your flat panel, and the other end is typically drilled into your furniture and/or the wall. Use drywall fasteners or studs rather than regular screws because they won’t easily come out of the drywall.
This means that as long as the Neomounts FPMA-D960D TV mount you choose is rated for the size of your television, it should work. Televisions use a variety of VESA pattern sizes. The most popular standards for televisions up to 32 inches are VESA 75×75 and 100x100mm.
Weight and TV size appear to be related. Televisions are heavier as they get bigger. The mount’s weight capacity and the number of VESA standards it can handle will also be noted. As long as your TV is within the permitted range, the mount should have no issue supporting its weight.
A USX Mount full-motion mount with tilt and swivel capabilities can accommodate TVs up to 84 inches and 132 pounds. It stretches 16.49 inches from the wall and has an adjustment range of up to 45 degrees.
If you have a very thin desktop, say 10 mm or less, a monitor arm may not be suitable. Check the weight distribution when the monitor is mounted. Again, if the desktop isn’t sturdy enough, you risk damage. Most commercial-grade office furniture desktops of 24 mm thickness will be fine.
Unlike the stand that comes with most monitors, a monitor arm provides flexibility to position your screen exactly where you want it for proper ergonomics and comfort. It can also free up space on your desk and help your workspace look neater.
A monitor arm is a somewhat robotic-looking arm that attaches to your desk, wall, or ceiling and raises your monitor to your personal ideal height. It adjusts easily according to your working style — whether you stand, sit, or do a mix of both throughout the day.
A monitor mount is a strong but flexible ergonomic arm that supports your monitors. While traditional monitor stands hold your monitor in a stationary, locked position, a monitor mount allows you to move and adjust the height, angle, or position of your monitor.
A monitor arm will allow you to set your monitor to the most comfortable position, allowing you to adjust the height, depth, and in most cases, the angle of your monitor. Whether sitting or standing, it will improve your ergonomic posture and help reduce eye strain, and back and neck pain.
For the standard Jarvis Monitor Arm, we recommend leaving 3-4 inches of space behind the desk to utilize the arm’s full range of motion. This Dual Jarvis Monitor Arm needs at least 7 inches of space in order to bring the monitors too close together over the desktop surface.
The Flat Display Mounting Interface (FDMI), also known as VESA Mounting Interface Standard (MIS) or colloquially as VESA mount, is a family of standards defined by the Video Electronics Standards Association for mounting flat panel monitors, televisions, and other displays to stands or wall mounts.
Mounting the monitor on the wall, then, is a great choice, because when you raise your head to look at the monitor on the wall, your upper and lower cervical vertebrae do not have to rotate as much, and the weight of your head is more equally distributed amongst your neck extensor muscles, both in the front.
Monitor mounting systems can either have a stand that sits on top of your work surface, or they can be attached directly to your desk using a clamp mount, grommet mount, or rail system. It is more common to see mounts of this size being attached directly to the desk, rather than a stand.
A vertical monitor will display more condensed versions of your browser, but it’ll allow you to fully fit two windows on your screen instead of one more comfortably. This means that if you use a monitor as your laptop’s second display, you’ll have immediate control over three applications or tabs at the same time.
Download this PDF Link: Neomounts FPMA-D960D Monitor Desk Mount Instructions Manual
















