Neomounts FPMA-D100 Monitor Desk Mount
Dimensions Overview

Tools and Measurement

PARTS

Assembling
STEP 1 A
Mount the desk clamp to the rod and install the clamp to the desk

STEP 1 B
Install the clamp to the wall (optional)

STEP 2
Attach the VESA plate to the screen

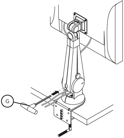
STEP 3
Run the cable through the cable cover

STEP 4
Adjust the gas spring

Caution
- To ensure safety, please read this manual carefully before installation and follow the instructions. store this manual in a secure place for future reference.
- The manutacturer shall not be legally responsible for any equipment damage or personal injury caused by incorrect installation or operation other than that covered in this manual.
- The mount is designed for easy installation and removal. The manufacturer shall not be liable for damage to equipment or personal injuries arising out of human factors or acts of nature, such as earthquakes or typhoons.
- It is recommended that the mount be installed by qualified personnel only.
- At least two persons are needed to install or remove the product to avoid the hazard of falling objects.
- Please carefully inspect the area where the mount is to be installed:
- Avoid places that are subject to high temperatures, humidity, or contact with water,
- Do not install the product near air conditioning vents or areas with excess dust and fumes.
- Only install on vertical walls and avoid slanted surfaces.
- Do not install in places subject to any shock or vibration.
- Do not install in places subject to direct exposure to bright light, as it may cause eye fatigue when viewing the display panel.
- Maintain sufficient space around the display to ensure adequate ventilation.
- To ensure a safe installation, first check the structure of the wall, ceiling, or floor and select a secure mounting location.
- The wall, ceiling, or floor should be strong enough to sustain a weight of at least four times the display and mount combined. The mounting location must be able to withstand earthquakes or other strong shocks.
- Do not modify any accessories or use broken parts. Contact your dealer with any questions.
- Tighten all screws (do not exert excessive force to avoid breaking the screw or damaging its thread).
- Drill holes and bolts will be left in the wall, ceiling, or floor once the display and bracket are removed. Stains may occur after extended use.
- Since the manufacturer has no way to control the wall, ceiling, or floor type and installation of the mount, the warranty of the product shall only cover the body of the mount. The warranty period of the product is 5 years.
- Please consult the English language manual for any dispute on conditions.
FAQ’s
The Neomounts FPMA-D100 is a desk mount designed to hold a single computer monitor. It is compatible with VESA patterns of 75×75 and 100×100 mm and can support monitors up to 27 inches and weigh up to 10 kg.
The Neomounts FPMA-D100 comes with an installation manual that provides step-by-step instructions on how to install the mount. You will need a drill, screwdriver, and measuring tape to install the mount. It is recommended that you have someone help you with the installation.
Yes, the Neomounts FPMA-D100 can be adjusted. It allows for tilt, swivel, and rotation adjustments, so you can position your monitor in the most comfortable and ergonomic position.
The Neomounts FPMA-D100 can support monitors weighing up to 10 kg.
The Neomounts FPMA-D100 can hold monitors up to 27 inches in size.
The Neomounts FPMA-D100 is compatible with VESA patterns of 75×75 and 100×100 mm.
Yes, the Neomounts FPMA-D100 can be used with curved monitors, as long as the monitor is compatible with VESA patterns of 75×75 and 100×100 mm and weighs 10 kg or less.
The Neomounts FPMA-D100 can be installed on most types of desks, including wooden, glass, and metal desks. However, it is recommended that you check the desk’s weight capacity and stability before installing the mount.
No, the Neomounts FPMA-D100 is designed to hold computer monitors weighing up to 10 kg and with VESA patterns of 75×75 and 100×100 mm. It is not recommended to use it to mount a TV.
Yes, the Neomounts FPMA-D100 is covered by a five-year warranty.
The weight capacity of the Neomounts Monitor Desk Mount varies depending on the model. Please refer to the product specifications for the specific model you are interested in.
Yes, some models of the Neomounts Monitor Desk Mount are designed to support ultrawide monitors. Please refer to the product specifications for the specific model you are interested in.
Download this PDF Link: Neomounts FPMA-D100 Monitor Desk Mount Instructions Manual
















