Neomounts FPMA-D550D Monitor Desk Mount

Product Description
The Neomounts FPMA-D550DBLACK desk mount tilts, swivels, and rotates to accommodate two flat screens up to 32″. This mount is ideal for saving space on desks by using a desk clamp or grommet mount. The versatile tilt (90°), rotate (360°), and swivel (180°) technology of Neomounts allows the mount to change to any viewing angle to fully benefit from the flat screen’s capabilities. The mount’s height can be adjusted manually from 0 to 44 centimeters. Depth can be adjusted from 4 to 46 centimeters. An ingenious cable management system conceals and routes cables from the mount to the flat screen. Hide your cables to keep your workplace looking neat.
The Neomounts FPMA-D550DBLACK has three pivot points and can accommodate screens up to 32″. This product has an 8 kg weight capacity per screen. The desk mount is designed for screens with VESA hole patterns of 75×75 or 100x100mm. Neomounts VESA adapter plates can cover a variety of hole patterns. Neck and back pain can be avoided by using an ergonomic mount. Ideal for use in offices, counters, and reception areas.
Dimensions Overview

Tools and Measurement

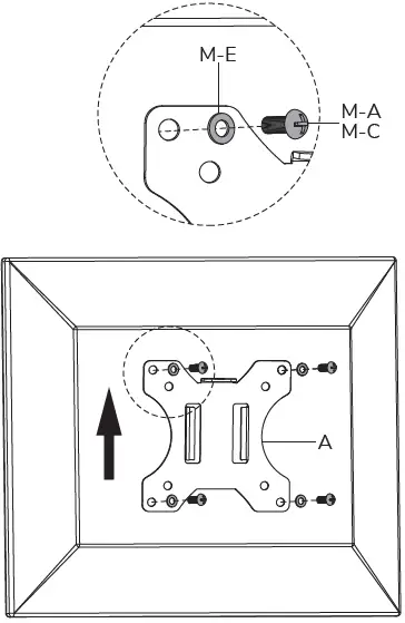
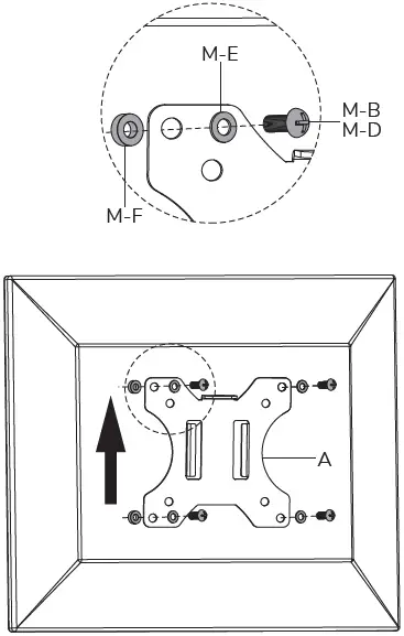
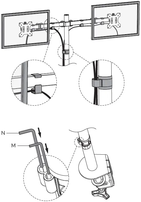
PARTS

Assembling Instructions
Step 1

Step 2 A

Step 2 B

Step 3

Step 4

OPTION

Step 5

Step 6

Step 7

CAUTION
- To ensure safety, please read this manual carefully before installation and follow the instructions. Store this manual in a secure place for future reference.
- The manufacturer shall not be legally responsible for any equipment damage or personal injury caused by incorrect installation or operation other than that covered in this manual.
- The mount is designed for easy installation and removal. The manufacturer shall not be liable for damage to equipment or personal injuries arising out of human factors or acts of nature, such as earthquakes or typhoons.
- It is recommended that the mount be installed by qualified personnel only.
- At least two persons are needed to install or remove the product to avoid the hazard of falling objects.
- Please carefully inspect the area where the mount is to be installed:
- Avoid places that are subject to high temperatures, humidity, or contact with water.
- Do not install the product near air conditioning vents or areas with excess dust and fumes.
- Only install on vertical walls and avoid slanted surfaces.
- Do not install in places subject to any shock or vibration.
- Do not install in places subject to direct exposure to bright light, as it may cause eye fatigue when viewing the display panel.
- Maintain sufficient space around the display to ensure adequate ventilation.
- To ensure a safe installation, first check the structure of the wall, ceiling, or floor and select a secure mounting location.
- The wall, ceiling, or floor should be strong enough to sustain a weight of at least four times the display and mount combined. The mounting location must be able to withstand earthquakes or other strong shocks.
- Do not modify any accessories or use broken parts. Contact your dealer with any questions.
- Tighten all screws (do not exert excessive force to avoid breaking the screw or damaging its thread).
- Drill holes and bolts will be left in the wall, ceiling, or floor once the display and bracket are removed. Stains may occur after extended use.
- Since the manufacturer has no way to control the wall, ceiling, or floor type and installation of the mount, the warranty of the product shall only cover the body of the mount. The warranty period of the product is 5 years.
- Please consult the English language manual for any dispute on conditions.
User Support
- Address: Neomounts Computer Products Europa B.V. I Wateringweg 62 I 2031 EJ Haarlem I The Netherlands I
- Contact no. +3 1(0)23-5478888
- Support: [email protected]
- Email: www.neomounts.com
- Address: Chamber of Commerce 37076185 (VAT NL805154383B0 1 I BIC RABONL2U I IBAN NL51RABO0375403299
FAQ’s
Adjust the monitor height so that the top of the screen is at—or slightly below—eye level. Your eyes should look slightly downward when viewing the middle of the screen. Position the monitor at least 20 inches (51 cm) from your eyes—about an arm’s length distance.
A monitor arm (sometimes also called a monitor mount or monitor bracket) is a support arm that holds up a computer monitor. Normally, it is clamped to the back of your desk.
Unlike the stand that comes with most monitors, a monitor arm provides flexibility to position your screen exactly where you want it for proper ergonomics and comfort. It can also free up space on your desk and help your workspace look neater.
A monitor arm is a somewhat robotic-looking arm that attaches to your desk, wall, or ceiling and raises your monitor to your personal ideal height. It adjusts easily according to your working style — whether you stand, sit, or do a mix of both throughout the day.
For the standard Jarvis Monitor Arm, we recommend leaving 3-4 inches of space behind the desk to utilize the arm’s full range of motion. This Dual Jarvis Monitor Arm needs at least 7 inches of space to bring the monitors too close together over the desktop surface.
If you have a very thin desktop, say 10 mm or less, a monitor arm may not be suitable. Check the weight distribution when the monitor is mounted. Again, if the desktop isn’t sturdy enough, you risk damage. Most commercial-grade office furniture desktops of 24 mm thickness will be fine.
Reduced Neck Pain, Prevent Eye Strain, Sit-Stand Versatility, Enhanced Focus, and Improved Posture.
Attach the bracket to the bottom of the mounting arm, Attach the clamp to the bracket using the included screws, Loosen the clamp by twisting the knob counterclockwise, Use the screws and washers to attach your monitor to the rear mounting plate, and Slide the monitor plate onto the mount arm.
yes, all monitors can be mounted. The vast majority of monitors today come with a mounting plate on the back, which makes it extremely easy to use popular monitor mounting products. Even older monitors or old CRTs that don’t have this setup can still be mounted.
As long as the wall mount and the monitor are perfectly attached along the wall, they are completely safe. That is why the installment procedure of a wall mount should be done with extreme care.1
Most people recommend getting a monitor arm if you want an ergonomic computer setup. And yes, monitor arms are great add-ons for any office. That’s because it allows you to adjust your displays any way you see fit, helping prevent eye strain and other posture-related pains.
Using a monitor mount is not only efficient, but it saves you a ton of space. If you have a table with a laptop, setting up the monitor on the wall will save you a significant amount of space.
The simple answer is generally yes, most monitors can be mounted on a monitor arm. Monitors come with the standard VESA hole pattern of 75 x 75 mm or 100 x 100 mm on the back of the monitor for attaching to a monitor arm.
The Flat Display Mounting Interface (FDMI), also known as VESA Mounting Interface Standard (MIS) or colloquially as VESA mount, is a family of standards defined by the Video Electronics Standards Association for mounting flat panel monitors, televisions, and other displays to stands or wall mounts.
Generally, the preferred viewing distance is between 20 and 40 inches (50 and 100 cm) from the eye to the front surface of the computer screen
Download this PDF Link: Neomounts FPMA-D550D Monitor Desk Mount Instructions Manual













