
INSTALLATION MANUAL
Single Monitor Desk Mount
M001

![]() | |
1-844-SATTLER (18447288537) | |
![]() | |
| |
WARNING
If you do not understand these directions, or if you have any doubts about the safety of the installation, please call a qualified technician. Check carefully to make sure there are no missing or defective parts. Improper installation may cause damage or serious injury. Do not use this product for any purpose that is not explicitly specified in this manual. Do not exceed weight capacity. We cannot be liable for damage or injury caused by an improper mounting, incorrect assembly or inappropriate use.
TIPOVER WARNING
SERIOUS OR FATAL CRUSHING INJURIES CAN OCCUR FROM TIPOVER. TO HELP PREVENT TIPOVER:
- NEVER ALLOW CHILDREN TO CLIMB, STAND, HANG, OR PLAY ON ANY PART OF THE MONITOR OR STAND.
- USE TIPOVER RESTRAINT OR ANCHOR STAND TO WALL
USE OF TIP-OVER RESTRAINTS MAY ONLY REDUCE, BUT NOT ELIMINATE RISK OF TIP OVER.
SMALL PARTS- NOT FOR CHILDREN UNDER 3 YEARS. ADULT SUPERVISION IS REQUIRED
Supplied Parts List


Option A: Clamp Installation
1. Connect Pole a and C-Clamp Brace c from the bottom using M5x14 Bolt f and tighten with Allen Key 3mm o .

2. Select the preferred height according to your desk thickness. Connect C-Clamp b to C-Clamp Brace c using M8x12 Bolt G and tighten with Allen Key 5mm o . Rotate the hand knob clockwise to fasten for stability.

Option B : Grommet Base Installation
1. Place Pole a onto Grommet Base Plate m . Connect them from the bottom using M5x14 f Bolt and tighten with Allen Key 3mm .o

2a. Existing Grommet Hole Installation
If the existing grommet hole comes with a plastic protector, remove it to ensure a flat surface before installing the desk mount. Position the Pole a on the mounting surface and secure using the Support Plate j , M10 Washer k , Spring Washer l , and M10 Bolt i . Fasten the Bolt using the provided Wrench p .

2b. Self-drilled Grommet Hole Installation
Mark the position of the hole on your mounting surface. Drill a 3/8″ (10mm) diameter hole at the marked position through the mounting surface. Position the Pole an on the mounting surface and secure using the Support Plate j , M10 Washer k , Spring Washer l , and M10 Bolt i . Fasten the Bolt using the provided Wrench p.
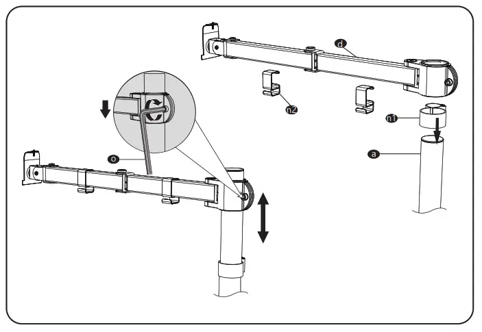
Put the Wire Clip n1 and Swivel Arm d through the Pole a , adjust the preferred height and tighten using Allen Key 6mm o . Attach the Wire Clips n1 to the Swivel Arm d .d

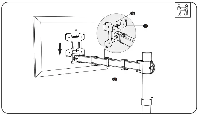
3. Select bolts and spacers (if needed) according to your TV/Monitor. Attach the VESA Plate to the Monitor and tighten with a screwdriver.(Screwdriver not included).

4. Put the assembled TV/Monitor onto the Swivel Arm d and tighten the VESA Plate e with Nut h for stability.
5. Adjust the tilt angle using Allen Key 5mm.o

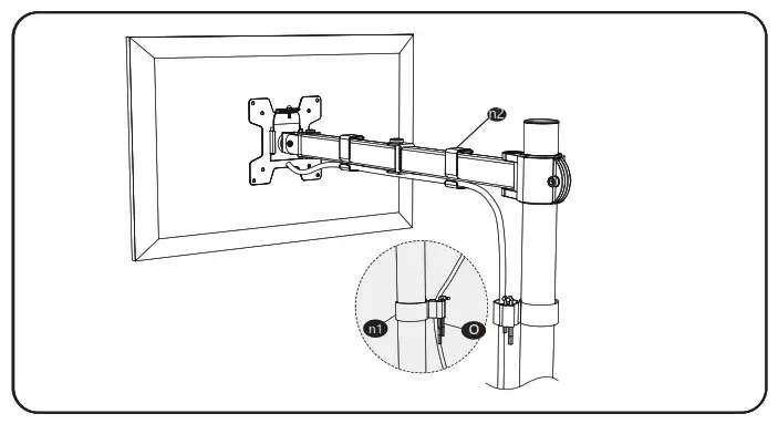
6. Guide the cable through the Wire Clips ( n1, n2 ) and store the Allen Keys o in the Wire Clip n1 .
7. Manually swivel, tilt, and rotate the monitor for the best viewing angle.



75×75\100×100
















