WALI M002XLS Dual Monitor Desk Mount Installation Guide

UNPACKAGING INSTRUCTIONS
- Carefully open the carton, remove contents and lay out on cardboard or other protective surface to avoid damage.
- Check package contents against the Supplied Parts List in the next page to assure that all components were received undamaged. Do not use damaged or defective parts.
- Carefully read all instructions before attempting installation.
IMPORTANT SAFETY INFORMATION
- Install and operate this device with care. Please read this instruction before installation, and carefully follow all instructions contained herein. Use proper safety equipment during installation.
- Please call a qualified installation contractor for help if you don’t understand these directions or have any doubts about the safety of the installation.
- Do not use this product for any purpose or in any configuration not explicitly specified in this instruction. e hereby disclaims any and all liability for injury or damage arising from incorrect assembly, incorrect mounting, or incorrect use of this product.






PRE ASSEMBLY






Step 1 Install the Pole to the Desktop
- Install the “C”-Clamp Brace (c) to the Pole.
(a) using 3pcs M5x14 Bolts (f) , and tighten using the Allen Key (o), see Figure above. - Install the “C”-Clamp (b) to the pole assembly according to the thickness of the desktop. The thickness can be changed to three positions. Connect it using 2pcs M8x12 Bolts (g), and tighten using the Allen Key (o). Tighten the “C”-Clamp to the desktop using the plastic knob, see above Fig.
Option B: Grommet Base Install
Existing Grommet Hole Installation


If the existing grommet hole comes with a plastic protector, remove it to ensure a flat surface before installing the desk mount.
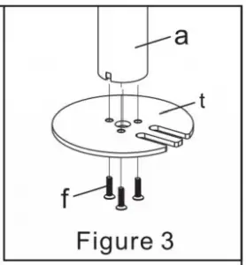
- Install the Grommet Base Plate( t ) to the Pole(a) using 3pcs M5x14 Bolts(f), and tighten using the Allen Key(o), see Figure above.
- Position the Pole(a) on the mounting surface and secure using the Support Plate (j), M 10 Washer(k), Spring Washer(!) and M 10 Bolt(i). Fasten the M 10 Bolt using provided Wrench(p ), see above.
Step 2 Install Arm to the Pole

Install Monitor Arm (d) to the Pole (a). Fasten the bolt with supplied Allen Key (o). Attach the Wire Clip (n1) to the Pole (a).
Step 3 Attach the VESA Plate to the Monitor

For Monitor with Flat Back

For Monitor With Curved or Recessed Back
Step 4 Slide the Monitor onto the Head of Swivel Arm

Slide the monitor onto the head of Monitor Arm(d) as shown in the above diagram.

Install the security Nut(h). Make sure the security nut is installed before you rotate the monitor.
Step 5 Make the Necessary Adjustments

Tighten the bolt with the supplied Allen Key(o) to fix the tilt angle.

Use the supplied Allen Key(o) to make the necessary adjustments.
Step 6 Manage the Wires and Store the Allen Keys on Wire Clip

Thank you for choosing our products!

























