
INSTALLATION MANUAL
Laptop Tray Desk Mount
M00LP

Supplied Parts List


Option A: Clamp Installation
- Connect Pole a and C-Clamp Brace c from the bottom using M5x14 Bolt f and tighten with Allen Key 3mm o.

- Select the preferred height according to your desk thickness. Connect C-Clamp b to C-Clamp Brace c using M8x12 Bolt g and tighten with Allen Key 5mm o. Rotate the hand knob clockwise to fasten for stability.

Option B: Grommet Base Installation
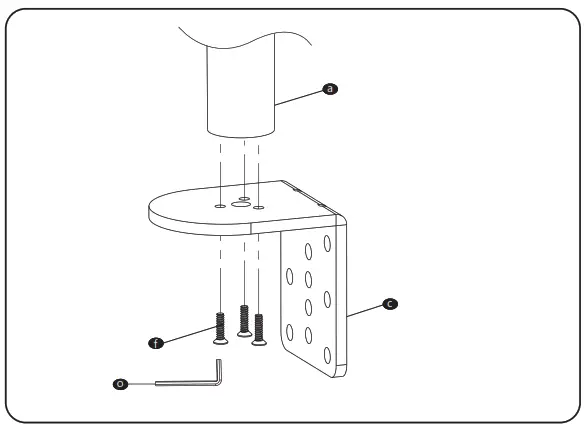
- Place Pole an onto Grommet Base Plate m. Connect them from the bottom using M5x14 Bolt f and tighten with Allen Key 3mm o.
2a. Existing Grommet Hole Installation
If the existing grommet hole comes with a plastic protector, remove it to ensure a flat surface before installing the desk mount. Position the Pole a on the mounting surface and secure using the Support Plate j, M10 Washer k, Spring Washer l, and M10 Bolt i. Fasten the Bolt using the provided Wrench p.
2b. Self-drilled Grommet Hole Installation
Mark the position of the hole on your mounting surface. Drill a 3/8″(10mm) diameter hole at the marked position through the mounting surface. Position the Pole a on the mounting surface and secure using the Support Plate j, M10 Washer k, Spring Washer l, and M10 Bolt i. Fasten the Bolt using the provided Wrench p .
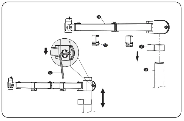
- Put the Wire Clip n1 and Swivel Arm d through the Pole a, adjust the preferred height, and tighten using Allen Key 6mm o. Attach the Wire Clips n1 to the Swivel Arm d.

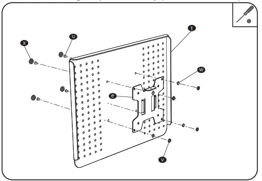
- Option A: Laptop Tray Installation
3Using M4 X 10 Bolt u, M4 Nut v, and Washer w to attach the VESA
Plate e to the laptop tray t and tighten with a screwdriver. Put the Anti-skid
Pad x on the designated position on the tray. (Screwdriver not included)
Option B: Monitor Mount Installation
Select bolts and spacers (if needed) according to your TV/Monitor. Attach the VESA Plate to the Monitor and tighten it with a screwdriver. (Screwdriver not included)
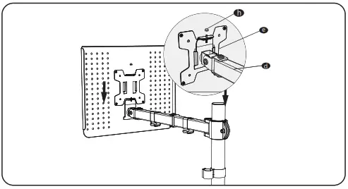
- Put the assembled laptop tray onto the Swivel Arm d and tighten the VESA Plate e with de Nut h for stability.

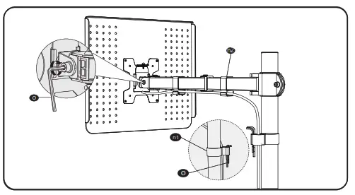
- Guide the cable through the Wire Clips ( n1, n2 ) and store the Allen Keys o in the Wire Clip. Adjust the tilt angle using Allen Key 5mm n.

- Manually swivel, tilt, and rotate the tray for the best viewing angle.

WARNING
If you do not understand these directions, or if you have any doubts about the safety of the installation, please call a qualified technician. Check carefully to make sure there are no missing or defective parts. Improper installation may cause damage or serious injury. Do not use this product for any purpose that is not explicitly specified in this manual.
Do not exceed weight capacity. We cannot be liable for damage or injury caused by improper mounting, incorrect assembly, or inappropriate use.
TIPOVER WARNING
SERIOUS OR FATAL CRUSHING INJURIES CAN OCCUR FROM TIPOVER. TO HELP PREVENT TIPOVER:
- NEVER ALLOW CHILDREN TO CLIMB, STAND, HANG, OR PLAY ON ANY PART OF THE MONITOR OR STAND.
- USE TIPOVER RESTRAINT OR ANCHOR STAND TO WALL.
THE USE OF TIP-OVER RESTRAINTS MAY ONLY REDUCE, BUT NOT ELIMINATE THE RISK OF TIP-OVER.
SMALL PARTS- NOT FOR CHILDREN UNDER 3 YEARS. ADULT SUPERVISION IS REQUIRED.
www.walielectric.com
[email protected]
1-844-SATTLER (18447288537)

75×75\100×100
Laptop : 17” Max
Monitor:27” Max


2a. Existing Grommet Hole Installation
2b. Self-drilled Grommet Hole Installation

Option B: Monitor Mount Installation




















