
Innovative Ergonomic Solutions companies
FLEXMOUNT® 8318
Installation Instructions



Parts List
| ITEM | DESCRIPTION / PART NO. | QUANTITY |
![]() | Mount Column 407602 | 1 |
| Base Plate 8321 | 1 | |
| Large “L” Bracket 702828 | 1 | |
| Small “L” Bracket 111728 | 1 | |
| Rectangular Spacer 701544 | 1 | |
| 3/8-16 x 1-1/4″ Flat Socket Cap Screw 701855 | 1 | |
| 3/8-16 x 1/2″ BHSCS 702898 | 1 |
| ITEM | DESCRIPTION / PART NO. | QUANTITY |
![]() | 3/8-16 Nylon Stop Nut 701418 | 1 |
| 3/8-16 x 7/8″ Button Socket Cap Screw 701122 | 1 | |
| 3/8-16 x 2-1/2″ Hex Head Bolt 700268 | 1 | |
| 1/2-13 x 3″ Socket Set Screw 701126 | 1 | |
| 7/32″ Allen Wrench 701127 | 1 | |
| 3/32″ Allen Wrench 700146 | 1 |

MODEL 7500
Installation Instructions



MODEL 7500
Parts List
| ITEM | DESCRIPTION / PART NO. | QUANTITY |
![]() | Spring-Assisted Monitor Tilter 407747 | 1 |
| 75/100mm VESA Adapter Plate 105587 | 1 | |
| 10-32 x 3/8″ Phillips Flat Head Screw 702281 | 1(4-pack) | |
| M4 x 12mm Phillips Pan Head Screw 702096 | 1(4-pack) | |
| Dog Washer 105189 | ||
| 10-32 x 3/8″ FPhMS w/Lock Patch 705198 |
| ITEM | DESCRIPTION / PART NO. | QUANTITY |
![]() | 7/32″ Allen Wrench 701127 | 1 |
| 3/32″ Allen Wrench 700146 | 1 | |
| Forearm Cap 111900 | 1 | |
| Endcap Bumper 702829 | 1 | |
| Cable Cap 109344 | 1 |
OPTIONAL SPACER KITS In some cases, the mounting surface on your monitor may be recessed further than permitted by VESA® standards. As a result, a spacer kit may be required.

.25″ Spacer Hardware Kit
(4) .25″ Spacers (4) M4 x 18mm Phillips Pan Head Screws Order # P404923-B

.5″ Spacer Hardware Kit
(4) .5″ Spacers (4) M4 x 25mm Phillips Pan Head Screws Order # P404923-C
How do I counterbalance my arm?

IMPORTANT!
- The monitor must be on arm
- Arm must be in mount
Press the arm down to approximately parallel with the desk prior to turning the strength adjustment screw.

If the arm drifts upward, turn the adjustment screw clockwise.

If the arm drifts downward, turn the adjustment screw counter-clockwise.
Depending on the weight of your monitor, you may have to make 15-20 turns.

In some instances, further counterbalance adjustments are needed to allow the arm’s instant height adjustment function to work properly.
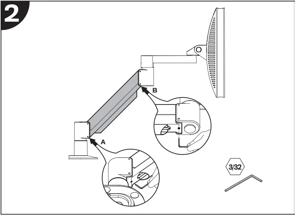
If your arm is not staying in position after performing step 1, follow these steps:

With the arm in the raised position, tighten set screw (A).

With the arm in a horizontal position, tighten set screw (B). Do not over-tighten screws.
MODEL 8409
Installation Instructions

MODEL 8409
Parts List
| ITEM | DESCRIPTION / PART NO. | QUANTITY |
![]() | M8-1.25 x 16mm Phillips Pan Head Screw 709214 | 1 |
| Small Handle Set Monitor Plate 109075 | 1 | |
| Heavy Duty Aluminum Handle 704034 | 1 | |
| M4 x 12mm Phillips Pan Head Screw 702096 | 1 (4-pack) |
OPTIONAL SPACER KITS In some cases, the mounting surface on your monitor may be recessed further than permitted by VESA® standards. As a result, a spacer kit may be required.

.25″ Spacer Hardware Kit
(4) .25″ Spacers (4) M4 x 18mm Phillips Pan Head Screws Order # P404923-B

.5″ Spacer Hardware Kit
(4) .5″ Spacers (4) M4 x 25mm Phillips Pan Head Screws Order # P404923-C

Innovative Ergonomic Solutions
800 524 2744
[email protected]
team-ies.com
HAT Collective
408 437 8770
[email protected]
hatcollective.com
© 2021 Innovative Ergonomic Solutions P509216 REV A
















