DS75-450BL2 Monitor Arm Desk Mount
Instruction Manual
DS75-450BL2
Monitor desk mount
DS75-450BL2 Monitor Arm Desk Mount
![]()

STEP 1
Install the clamp to/grommet through the desk

STEP 2
Attach the lower arm to the base
STEP 3
Attach the upper arm to the lower arm

STEP 4
Attach the crossbar

STEP 5
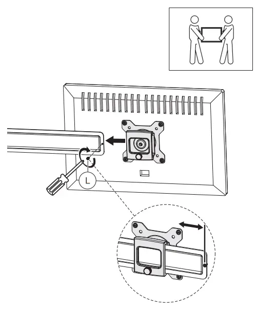
Attach the VESA plate to the monitor

STEP 6
Install the monitors and tighten the safety ledge stopper screws

STEP 7
Adjust the gas spring

STEP 8
Remove the cable cover and run the cable(s) through the cover
STEP 9
Adjust the limiting screw to (de)activate the 180° lock system

Note: Remove the lower cable management cover before adjusting the limiting screw. Reattach the cover afterwards.

STEP 11
Insert the Allen keys into the slot for future use

CAUTION
- To ensure safety, please read this manual carefully before installation and follow the instructions. Store this manual in a secure place for future reference.
- The manufacturer shall not be legally responsible for any equipment damage or personal injury caused by incorrect installation or operation other than that covered in this manual.
- The mount is designed for easy installation and removal. The manufacturer shall not be liable for damage to equipment or personal injuries arising out of human factors or acts of nature, such as earthquake or typhoon.
- It is recommended that the mount be installed by qualified personnel only.
- At least two persons are needed to install or remove the product to avoid hazard of falling objects.
- Please carefully inspect the area where the mount is to be installed:
– Avoid places that are subject to high temperatures, humidity or contact with water.
– Do not install the product near air conditioning vents or areas with excess dust and fumes.
– Only install on vertical walls and avoid slanted surfaces.
– Do not install in places subject to any shock or vibration.
– Do not install in places subject to direct exposure to bright light, as it may cause eye fatigue when viewing the display panel. - Maintain sufficient space around the display to ensure adequate ventilation.
- To ensure safe installation, first check the structure of the wall, ceiling or floor and select a secure mounting location.
- The wall, ceiling or floor should be strong enough to sustain a weight of at least four times of the display and mount combined. The mounting location must be able to withstand earthquake or other strong shock.
- Do not modify any accessories or use broken parts. Contact your dealer with any questions.
- Tighten all screws (do not exert excessive force to avoid breaking the screw or damaging its thread).
- Drill holes and bolts will be left in the wall, ceiling or floor once the display and bracket are removed. Stains may occur after extended use.
- Since the manufacturer has no way to control the wall, ceiling or floor type and installation of the mount, the warranty of the product shall only cover the body of the mount. The warranty period of the product is 5 years.
- Please consult the English language manual for any dispute on conditions.











