HuTools HT01
Installation Guide

Read this manual carefully before installing and operating!
Installaon Overview

Read this manual carefully before installing and operating!
Contents
| A. Latch ×1 B. Drive-In Collar ×1 C. Strike ×1 D. Exterior Assembly ×1 | E. Interior Assembly ×1 F. Mounting Plate ×1 G. Battery Cover ×1 H. Strike Screws ×2 | I. Latch Screws ×2 J. Mounting Plate Screws ×2 K. Interior Assembly Screws ×3 L. Key ×1 |

If any parts are missing or damaged, please contact Customer Support.

Installation
STEP 1: Prepare the door and check dimensions.

STEP 2: Determine backset and adjust the latch.

Hold the latch in front of the door hole, with the latch face flush against the door edge. Is the slotted hole centered in the door hole?
STEP 3: Install the latch.
Is the door edge chiseled?

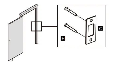
STEP 4: Install strike and test alignment

IMPORTANT: Make sure hole in door frame is drilled a minimum of 1″ (25 mm) deep.
1. With the door closed, use a flat-head screwdriver to test if deadbolt works smoothly.
2. Check alignment betweenthe latch and the strike, making sure when the deadbolt is extended, it is going into the bolt hole and not hittng the deadbolt strike or door frame.
STEP 5A: Install exterior assembly
IMPORTANT: Do not insert the physical key until lock is completely installed.

STEP 5B: 
STEP 6:Remove battery cover
IMPORTANT: Do not load batteries until lock is completely installed.
Locate the slot at the bottom and use your fingernail or a flat head screwdriver to pry the cover up and pull it off.
STEP 7A: Install interior assembly

Insert the cable connector to the socket. Push the connector in firmly until it is completed seated.
STEP 7B:

- Rotate the thumbturn and keep it in a vertical position.
- Make sure the latch is still fully retracted (unlocked).
STEP 7C:

Attach Interior Assembly to Mounting Plate and tighten 3 Screws K.
IMPORTANT: Test the thumbturn for smooth rotattion. If thumbturn doesn’t rotate, repeat step 7B , making sure the thumbturn in vertical position.
STEP 8A: Door handing
Perform a factory reset to detect left/right door orientation.
IMPORTANT: Always run this step after installation. The motor will not operate before completingng the step.
While the door is OPENED and UNLOCKED (latch retracted), load 3 AA batteries into the battery compartment.
NOTE:
For best results, use new, non-rechargeable Alkaline batteries only. Do not mix old and new batteries.
STEP 8B:
IMPORTANT: If the latch doesn’t extend within 10 seconds, repeat step 7B and 8A, making sure the thumbturn is always verttical and latch always retracted.
STEP 9: Test the lock
Test with the door open to avoid an accidental lockout.

Lock
Press and hold any button for 2 seconds.
Unlock
Enter 12345678
on keypad
Programming Instruct ion
How To Use
A. UNLOCK the door from outside![]()
B. LOCK the door from outside
Auto Lock Mode
The bolt will automatically extend in 30 seconds after unlocking. You need to enable this feature by programming.
Manual Mode
Press any button keypad for 2 seconds

Programming Basic
READ this before proceeding to programming.
A. Master Code
The default master code is 12345678. This code must be changed prior to programming the lock. The Master Code is used for programming and for feature settings. It will also unlock the lock.
B. Code Format
- Code is 4-10 digits.
- Both master code and user code do not support the following sequence.
a. Forward number sequence
b. Backward number sequence
c. Repeat number sequence
d. Contain existing code sequence

C. Wrong Entry Limit
After 10 unsuccessful attempts at entering a valid PIN code, the unit will shut down for 3 minuets.
D. Unlock with Fake code
User can prevent pin code exposure from strangers by entering random digits before or after pin code.

E. Battery Indicator
If you hear 10 beeps corresponding with 10 red flashes after pressing any key or lock and unlock the door, that’s an indication that the batteries need to be replaced soon. Please replace with 4 new AA alkaline batteries and do not mix old and new batteries. All settings are retained in the memory when the batteries are removed and replaced.
F. Key Override
Key Override can be used to gain access when the batteries are completely dead or when no valid User Code is known.
Important Note: Please keep at least one copy of the backup key in secure location outside of your place.
Quick Set Up
IMPORTANT:
- Each programming step needs to be completed within 5 seconds.
- If you hear 5 rapid beeps that indicates entry error or time-out.
Please start over.
A. Change Master Code
The default Master Code is 12345678. It is required that you change it to a code of your own before programming.

B. Add User Code
- Up to 20 User Codes can be stored.

C. Delete User Code

D. Enable Silent Mode
- The beep sounds when pressing keypad can be muted. But you will still hear low battery and system alerts.
![]()
E. Disable Silent Mode

F. Enable Auto Lock
Automatically locks the deadbolt 30 seconds after unlocking. This feature is off by default.
![]()
G. Disable Auto Lock

H. Set Auto Lock Time Delay
You can set the Auto Lock time delay between 10 and 99 seconds.

I. Add One-Time Code
This code can only be used once and is automatically deleted when used.

J. Vacat ion Mode
This is a security feature for you when you are leaving your home for vacation or long trip. Enabling vacation mode will restrict all user codes until master code is entered on keypad. If the lock is unlocked by thumb turn, the lock will sound an alarm.

Factory Default Settings
| Settings | Factory Defaut |
| Master Code | 12345678 |
| Auto Lock | Disabled |
| Silent Mode | Disabled |
| Wrong Code Entry Limit | 10 times |
| Vacation Mode | Disabled |
How To Reset
IMPORTANT: By performing the steps below, you will teach the lock the orientation of your door and delete all User Codes associated with the lock. Factory reset process is the same as door handing.
Step1: Keep the door opened and make sure the latch is retracted and thumbturn vertical.
Step2 :Press and hold the reset button with one hand and the other hand takes out one battery and places it back.
Step3 :Do not release the reset button after battery is connected, instead, keep holding it until the latch automatically extends.
Safety Warnings
- Protect your User Codes and Master Code.
Restrict access to your lock’s interior assembly and routinely check your settings to ensure they have not been altered without your knowledge. - Proper cleaning and maintenance of your lock ensures it will continue to work as it should. Do not apply cleaner or detergent directly to any part of the lock.
- The HuTools meets IP54 water-resistance. It can withstand water splashes ; however, do not let water and liquids get into the lock.
- Avoid exposure to direct sunlight. Long-term exposure to direct sunlight may damage the lock.
- The temperature range of the HuTools is between -4°F to 131°F.
Troubleshooting
- Problem: When resetting the lock, the latch does not extend but I can hear the motor is turning.
Cause(A): The latch and strike are misaligned, causing the latch to bind.
Solution(A): a. Adjust the position of the strike plate.
b. Make sure you reset the lock with the door opened.
Cause(B): Internal electronic components have a residual charge which the lock tries to use, and it is not adequate to allow the lock to
function when connecting the batteries.
Solution(B): Disconnect the batteries. Press and release any key on the keypad and keep the batteries disconnected for at least 5 minutes. If there is residual charge within the lock, this will consume the charge.
Cause(C): The mounting screws securing the exterior keypad and the latch bolt are over-tightened.
Solution(C): Slightly loosen the screws.
2. Problem: When reseting the lock, the latch does not extend and I can’t hear the motor turning.
Cause: The lock is not reset properly.
Solution: Repeat step 7B and 8A, make sure that the thumbturn is vertical and the deadbolt latch is retracted (unlocked) when installing and reseting.
3. Problem: The lock does not lock and unlock electronically.
Solutions: Perform a factory reset to teach the lock the orientation of your door (Step 8).
Cause: The door handing process was not executed.
Troubleshooting(continued)
4. Problem: After installation, the thumbturn cannot rotate.
Cause(A): The lock is not installed properly.
Solution(A): Remove and re-install the whole lock, making sure that the thumbturn is vertical and the lock is in unlock position when installing. Do not insert the backup key when installing.
Cause(B): Internal electronic components have a residual charge which the lock tries to use, and it is not adequate to allow the lock to function when battery connected.
Solution(B): Disconnect the batteries. Press and release any key on the keypad and keep the batteries disconnected for at least 5 minutes. If there is residual charge within the lock, this will consume the charge.
5. Problem: The lock only functions electronically when the backup key is in; I cannot pull the key out in the unlocked position.
Cause: The lock is not installed properly.
a. Solution: Remove and re-install the whole lock, making sure that the thumbturn is vertical and the lock is in unlocked position when installing.
b. Do not insert the physical key before lock is completely install.
6.Problem: The keypad doesn’t respond when touched (no lights are visible and no beeping is heard) .
Cause: The lock has no power.
a. Soluttion: Make sure the cable is properly connected.
b. Change the batteries with 4 fresh AA standard alkalin batteries. Do not mix old and new batteries.
7. Problem: The batteries run low quickly.
Cause: The deadbolt and the strike plate could be misaligned, especially when there’s change in temperature and humidity, doors can become ‘warped’. As a result, there could be strong ‘friction’ as the deadbolt tries to extend. More friction means that the motor needs to work harder to lock your door, so your batteries life may be impacted.
Solution: Make sure your door locks and unlocks smoothly. Re-install your lock and make sure the latch and strike are properly aligned.
8. Problem: When attempting to lock the deadbolt electronically, the latch goes in and out for a few times.
Cause: The latch and strike are misaligned.
a. Solutton: Make sure the bolt hole on the door frame is at least 1 inch deep so the bolt fully extends.
b. Check if the door closes properly. Make sure when the dead bolt is extended, it is going into the bolt hole and not hitting the deadbolt strike or door frame.
c. Check for loose door hinges.
9.Problem: When attempting to unlock the deadbolt electronically, the latch goes in and out for a few times.
Cause: As in the problem with locking the bolt, the bolt may be binding against the strike plate. There may be interference, especially if the door has warped due to a change in the weather.
a. Solution: Check if the door closes properly. Make sure when the deadbolt is extended, it is going into the bolt hole and not hitting the deadbolt strike or door frame.
b. Check for loose door hinges
10 .Problem: I received 5 rapid beeps when programming.
a. Cause: Time-out
b. Wrong entry
a. Solution: Complete each step within 5 seconds.
b. Change the default master code before programming.
c. Enter a new code in correct format and within 4 to 10 digits.
11. Problem: I forgot my Master Code.
Solution: Perform a factory reset. Once the reset is completed, all codes
and settings will be erased and the master code will return to the default value ( 12345678) .
12. Problem: I lost all the preset codes after door handing.
Cause: Door handing is the same as factory reset. You lock has restored to factory default.
Soluttion: Re-program your codes.
* If none of the above resolves your issue, please contact us.


















