![]()
REFRIGERATOR FREEZER
RF522BRXFD5 FP EU
PRODUCT CODE: 26030-A
PARTS MANUAL
INTRODUCTION
| BRAND | VOLTAGE | MODEL | PRODUCT CODE |
| Fisher & Paykel | 220-240 50Hz | RF522BRXFD5 FP EU | 26030-A |
MODELS
The models covered by this manual are listed on the front cover.
The information detailed in this manual is subject to change without notice. The latest version is indicated by the reprint date and replaces any earlier editions.
KIT PARTS
Where a part number is shown against the descriptions for kit components, they are also available as separate items. In addition, some parts may be supplied with these kits that are not available as separate items, and are therefore either not listed, or a part number is not shown against the part description in this manual.
PARTS LIST KEY
| NI | As a part reference, indicates the part is not illustrated on the diagram. |
| NOT USED | As a part number, indicates the diagram part reference is not used in this manual. |
| NS | As a part number, indicates the part is not servicable. |
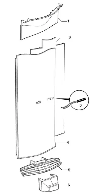
DOOR COMPONENTS

| REFERENCE | PART NUMBER | PART DESCRIPTION |
| 1 | 820801 | COVER DOOR HINGE RH |
| 2 | 860419 | TRIM DOOR DESIGNER X |
| 3 | 817825P | SCREW #8X22 WAFER PH ST TV (PKT 10) |
| 4 | 820845 | BEARING HINGE WATER RH |
| 5 | 848360P | DOOR PC 790X1052 F SX2 B RH |
| Includes 883315 | MAGNET DOOR SWITCH ST4 | |
| 6 | 819822P | GASKET FRAME E522B PC |
| 7 | 813926 | TRIM CORNER DOOR FLAT |
| 8 | 819650 | CLOSING HOOK DR STOP GR RH |
| 9 | 814537 | DOOR STOP ASSY |
| 10 | 813931 | BEARING HINGE TOP DOOR FLAT |
| 11 | 849036P | DOOR FC 790X610 F SX2 B RH |
| Includes | DOOR FC 790X610 F SX2 RH | |
| Includes 883315 | MAGNET DOOR SWITCH ST4 | |
| 12 | 819821P | GASKET FRAME E522B FC |
| 13 | 883315 | MAGNET DOOR SWITCH ST4 |
| 14 | 813928 | COVER MAGNET DOOR FLAT |
| 15 | 876281P | PLUG DOOR SHELF WHITE (PKT 2) |
| 16 | 821467 | COVER SHELF RF522W |
| 17 | 821637 | SHELF DR RF522W ASSY |
| 18 | 821805 | DIVIDER BOTTLE 522B |
| 19 | 821465 | RAIL SHELF DOOR RF522W |
| 20 | 821630 | SHELF DR BTM RF522W |
| 21 | 820581 | HANDLE D3 612 BRUSHED |
| Includes 837467 | SCREW M5X14 CAP | |
| Includes 819646 | SCREW M5X40 CAP | |
| 22 | 860795P | BOSS HANDLE FLAT SPARES KIT |
| 23 | 820582 | HANDLE D3 374 BRUSHED |
| Includes 837467 | SCREW M5X14 CAP | |
| Includes 819646 | SCREW M5X40 CAP | |
| 24 | 837467P | SCREW M5X14 CAP (PKT 10) |
| 25 | 819646P | SCREW M5X40 CAP (PKT 10) |
| 26 | 838360 | BOOK U&C AA/GB/AE/HK/SG/IE/EU |
CABINET COMPONENTS

| REFERENCE | PART NUMBER | PART DESCRIPTION |
| 1 | 846778P | COVER HINGE LOW NIW GRY R |
| 2 | 817818P | SCREW M5X20 HEX PH ST TV (PKT 10) |
| 3 | 820652 | BRACKET HINGE IW RH ASSY |
| 4 | 846774P | SUPPORT HINGE LOW NIW |
| 847438 | KIT COVER HINGE LOW GRY LH | |
| Includes 846779P | COVER HINGE LOW NIW GRY L | |
| Includes 846774P | SUPPORT HINGE LOW NIW | |
| 5 | 883948P | PLUG TAPPED HOLE SILVER (PKT 3) |
| 6 | 883951 | TRIM CORNER SILVER 680/790 |
| 7 | 880656P | SCREW 10GX25CSK SQ SS (PKT 10) |
| 8 | 881283P | BRACKET CENTRE HINGE RH PKD |
| Includes 883988P | CAP DOOR CLOSING RH HGE BRKT | |
| 9 | 883988P | CAP DOOR CLOSING RH HGE BRKT |
| 10 | 837327P | MOD DISP AS U2 INT 6 BUT SVC |
| 11 | 839618 | HARNESS MOLEX 5 WAY SPARES |
| 12 | 820736 | HOUSING FRONT LED PC |
| 13 | 817816P | SCREW 6 X12 AB TRUSS PH ST TV (PKT 10) |
| 14 | 845096P | MOD LAMP AS CEILING SVC |
| 15 | 820737 | WINDOW LED PC |
| 16 | 848320P | PC 3W FAN ASSY JST/DCT |
| Includes | FAN HOUSING PC ASSY | |
| Includes | DUCT JUNCTION | |
| Includes | CONNECTOR IDC UP2 (2) | |
| Includes | LABEL WARNING 12 VOLT DC | |
| Includes | SHEET INSTRUCTION PC FAN ASSY | |
| 17 | 836810 | RETAINER & SLIDE 790 RH ASSY |
| Includes | RETAINER SLIDE PC RH | |
| Includes 836700 | SLIDE 305 RH ASSEMBLY | |
| Includes 836520P | CLIP SLIDE | |
| 836809 | RETAINER & SLIDE 790 LH ASSY | |
| Includes | RETAINER SLIDE PC LH | |
| Includes 836701 | SLIDE 305 LH ASSEMBLY | |
| Includes 836520P | CLIP SLIDE |

| REFERENCE | PART NUMBER | PART DESCRIPTION |
| 18 | 836700 | SLIDE 305 RH ASSEMBLY |
| Includes 836520P | CLIP SLIDE | |
| 836701 | SLIDE 305 LH ASSEMBLY | |
| Includes 836520P | CLIP SLIDE | |
| 19 | 836520P | CLIP SLIDE (PKT 2) |
| 20 | 836545 | RETAINER SLIDE FC RH |
| 836546 | RETAINER SLIDE FC LH | |
| 21 | 836702 | SLIDE 350 RH ASSEMBLY |
| Includes 836520P | CLIP SLIDE | |
| 836703 | SLIDE 350 LH ASSEMBLY | |
| Includes 836520P | CLIP SLIDE | |
| 22 | 883953P | CAP SCREW CROSS RAIL SILVER |
| 880595P | CAP SCREW CROSS RAIL WHT PKD | |
| 23 | 817822P | SCREW #10X19 AB #2 SQ TV (PKT 10) |
| 24 | 884011 | COVER REED SWITCH ST4 SILVER |
| 881420 | COVER REED SWITCH ST4 WHITE | |
| 25 | 814443P | SWITCH REED FIELD FIX KIT ST4 |
| Includes | HEATSHRINK 1/8” MW ADHESIVE LINED | |
| 26 | 836595 | DUCT RETURN AIR FC 790 |
| 27 | 847316P | RETAINER WHEEL STEEL KIT |
| Includes | RETAINER WHEEL STEEL | |
| Includes | SCREW 8-32X8 TY T PAN PH TV | |
| Includes | ROLLER FOOT FRONT | |
| Includes | PIN ROLLER PLATED | |
| 28 | 814691P | BRACKET HINGE BASE RH PKD |
| Includes 883988P | CAP DOOR CLOSING RH HGE BRKT | |
| 29 | 813481 | BOLT BLIND END HINGE BRACKET |
| 30 | 818535 | WHEEL LEVELING FOOT ASSY RC |
| Includes | SCREW M10 LEVELLING FOOT TV | |
| Includes | BASE LEVELLING FOOT | |
| 31 | 836751P | SHELF GLASS PC 790 ASSY SC |
| Includes | SHELF GLASS PC 790 | |
| Includes | TRIM SHELF PC 790 SC | |
| Includes | STIFFENER SHELF PC 790 SC | |
| Includes 836569 | PLUG STIFFENER SHELF RH | |
| Includes 836570 | PLUG STIFFENER SHELF LH | |
| Includes 836567 | PLUG TRIM SHELF RH | |
| Includes 836568 | PLUG TRIM SHELF LH |

| REFERENCE | PART NUMBER | PART DESCRIPTION |
| 32 | 836728P | SHELF GLASS HCL 790B ASSY SC |
| Includes | SHELF GLASS PC 790 | |
| Includes | TRIM SHELF HCL 790 SC | |
| Includes | STIFFENER SHELF PC 790 SC | |
| Includes 836567 | PLUG TRIM SHELF RH | |
| Includes 836568 | PLUG TRIM SHELF LH | |
| Includes 836569 | PLUG STIFFENER SHELF RH | |
| Includes 836570 | PLUG STIFFENER SHELF LH | |
| Includes 836582 | RETAINER HCL FRONT 790 | |
| Includes 881268 | BRACKET HCL SUPPORT B GL SH (2) | |
| Includes 836574 | LID HUMIDITY CONTROL 790B | |
| Includes 836631 | SLIDE CONTROL HUMIDITY RH | |
| Includes 836633 | SLIDE CONTROL HUMIDITY LH | |
| Includes 836632 | GUIDE CONTROL HUMIDITY RH | |
| Includes 836634 | GUIDE CONTROL HUMIDITY LH | |
| 33 | 836574 | LID HUMIDITY CONTROL 790B |
| 34 | 881268 | BRACKET HCL SUPPORT B GL SH |
| 35 | 836582 | RETAINER HCL FRONT 790 |
| 36 | 836631 | SLIDE CONTROL HUMIDITY RH |
| 836633 | SLIDE CONTROL HUMIDITY LH | |
| 37 | 836632 | GUIDE CONTROL HUMIDITY RH |
| 836634 | GUIDE CONTROL HUMIDITY LH | |
| 38 | 836524 | BIN SMALL 790 |
| 39 | 836522 | BIN SMALL |
| 40 | 821142 | TRAY 790 |
| 41 | 836585 | SKID TRAY RH |
| 836586 | SKID TRAY LH | |
| 42 | 836517 | WHEEL & CHASSIS ASSEMBLY (PKT 2) |
| 43 | 836661 | BIN ASSEMBLY LARGE 790 |
| 44 | 860593 | HOLDER BOTTLE SINGLE |
| 45 | 874107 | TRAY ICE BASE |
| 46 | 874108 | TRAY ICE LID |
CABINET ACCESSORIES

| REFERENCE | PART NUMBER | PART DESCRIPTION |
| 55 | 819264 | KIT JOINER SILVER |
| 56 | 818758 | KIT SURROUND STAINLESS 790 LH |
| 818759 | KIT SURROUND STAINLESS 790 X2 |
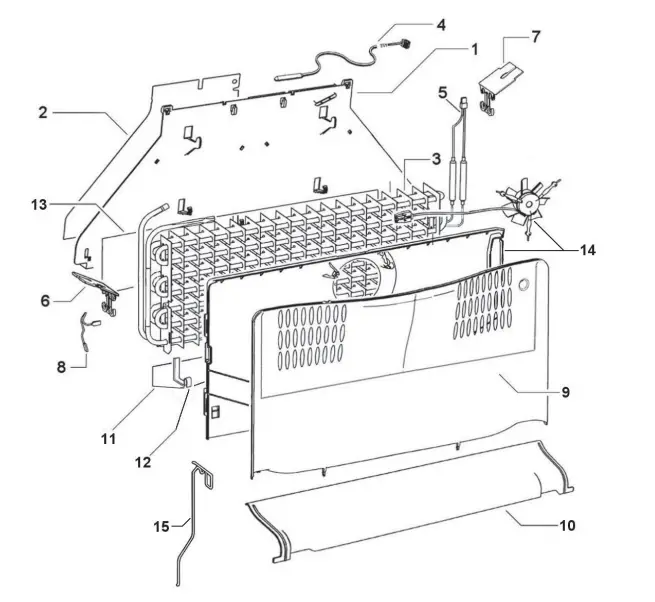
FAN COVERS & EVAPORATOR COMPONENTS

| REFERENCE | PART NUMBER | PART DESCRIPTION |
| 1 | 814475 | CHASSIS EVAP 790B |
| 2 | 884315 | DEFLECTOR HEAT 790B |
| 3 | 837336P | EVAP ASSY 790B 230V DP |
| Includes | EVAPORATOR FINNED 790 R600A | |
| Includes 814475 | CHASSIS EVAP 790B | |
| Includes 814713 | SHIELD EVAP CHASSIS 790B | |
| Includes 884315 | DEFLECTOR HEAT 790B | |
| Includes 821877 | HEATER DEFROST DBLE 230V 790 | |
| Includes 820604 | CLIP EVAP BAFFLE | |
| Includes 813992 | CLIP ACTIVE SMART BAFFLE | |
| Includes 820835 | CLIP DEFROST HEATER B SHORT (2) | |
| Includes 814460 | HARNESS EARTH 100MM | |
| Includes 821255 | CABLE TIE 200MMX3.6 | |
| 4 | 855203P | SENSOR KIT ASSY ACTV SM |
| Includes | HEATSHRINK 25MM | |
| Includes | HARNESS SENSOR PC | |
| Includes | CONNECTOR BUTT (2) | |
| Includes | SHEET INSTRUCTN BUTT CONNECTORS | |
| 5 | 821877 | HEATER DEFROST DBLE 230V 790 |
| NI | 821745 | COVER PLUG TYCO |
| 6 | 813992 | CLIP ACTIVE SMART BAFFLE |
| 7 | 820604 | CLIP EVAP BAFFLE |
| 8 | 814460 | HARNESS EARTH 100MM |
| 9 | 873395 | COVER FAN FC FRONT E790B |
| 10 | 836595 | DUCT RETURN AIR FC 790 |
| 11 | 883783 | SHIELD FC REAR COVER 790 |
| 12 | 820835 | CLIP DEFOST HEATER B SHORT |
| 13 | 814713 | SHIELD EVAP CHASSIS |
| 14 | 848316P | FAN FC 3W KIT 790 SERIES A TO |
| Includes 880279 | SHIELD HEATER FC COVER 790 | |
| Includes | COVER FAN FC REAR 790 | |
| Includes | CONNECTOR IDC UP2 (2) | |
| Includes | LABEL WARNING 12 VOLT DC | |
| Includes | FAN DC SUSPENDED FC ASSY | |
| 15 | 821251 | WIRE DRAIN HEATER DOUBLE B |
DISPLAY MODULE & DUCT COVER COMPONENTS

| REFERENCE | PART NUMBER | PART DESCRIPTION |
| 1 | 837405 | COVER DUCT PC TOP B |
| 2 | 873950 | INSULATION COVER DUCT LONG B |
| 3 | 855203P | SENSOR KIT ASSY |
| Includes | CONNECTOR BUTT | |
| Includes | HARNESS SENSOR PC | |
| 4 | 836861 | COVER DUCT PC B LONG WATER |
| 5 | 813287 | GRILLE PC RETURN AIR B MODEL |
| 6 | 872823 | INSULATION INSERT PID |
TERMINAL, PLUGS & SOCKETS

NOTE THAT IN THE PART NAMES OF THESE CONNECTORS, THE -02- REFERS TO IT BEING A 2 WAY CONNECTOR, AND THE -AB01-(FOR EXAMPLE) REFERS TO THE CODING OF THE CONNECTOR.
NOTE: TO MINIMISE THE NUMBER OF SPARE PARTS THAT NEED TO BE CARRIED, THESE CODED CONNECTORS ARE TO BE REPLACED WITH THEIR UNCODED EQUIVALENTS FOR THE 3, 5 AND 6 WAY CONNECTORS USED ON STAGE 4 CABINETS.
| REFERENCE | PART NUMBER | PART DESCRIPTION | COMMENTS |
| 1 | 819607P | TERMINAL SYF-01T PKT 10 | 26/20 AWG |
| 819608P | TERMINAL SYF-41T PKT 10 | 20/16 AWG | |
| 2 | 819609P | PIN/TERM SYM-01T PKT 10 | 26/20 AWG |
| 819610P | PIN/TERM SYM-41T PKT 10 | 20/16 AWG | |
| 3 | 819615 | JST SOCKET 2PIN YLR-02V | |
| 819616 | JST SOCKET 3PIN YLR-03V | ||
| 819617 | JST SOCKET 4PIN YLR-04V | ||
| 819618 | JST SOCKET 6PIN YLR-06VF | ||
| 819619 | JST SOCKET 8 PIN YLR-08V | ||
| 4 | 819611 | JST PLUG 2PIN YLP-02V | |
| 819612 | JST PLUG 4PIN YLP-04V | ||
| 819613 | JST PLUG 6PIN YLP-06V | ||
| 819614 | JST PLUG 8PIN YLP-08V | ||
| 5 | 819620 | RETAINER 2 WAY YLS-02V | |
| 819621 | RETAINER 3 WAY YLS-03V | ||
| 6 | 881588 | CONNECTOR RAST 9290-02-AB01 | |
| 881589 | CONNECTOR RAST 9290-02-BA01 | ||
| 881590 | CONNECTOR RAST 9290-02-EE01 | MAINS CORD | |
| 7 | 881591 | CONNECTOR RAST 9290-04-EF02 | DEFROST HEATER |
| 8 | 873251 | CONNECTOR RAST 7234-003-500 | RUN CAPACITOR |
| 873250 | CONNECTOR RAST 7234-004-500 | COMPRESSOR CABLE | |
| 881135 | CONNECTOR RAST 7234-005-500 | ||
| 873247 | CONNECTOR RAST 7234-006-500 | ||
| 873279 | CONNECTOR RAST 7234-008-500 | ||
| 873248 | CONNECTOR RAST 7234-010-500 | ||
| 873243 | CONNECTOR RAST 7234-012-500 | ||
| 881136 | CONNECTOR RAST 7234-014-500 | ||
| 881137 | CONNECTOR RAST 7234-017-502 | ||
| 9 | 820687P | ADAPTOR JST REC TO MOLEX KIT | |
| Includes 884412 | COVER PLUG MOLEX | ||
| 10 | 820688P | ADAPTOR JST PLUG TO MOLEX KIT | |
| Includes 884412 | COVER PLUG MOLEX |
COMPRESSOR & CONTROL MODULE

| REFERENCE | PART NUMBER | PART DESCRIPTION |
| 1 | 882137P | PANEL BACK ASSY 1390X780 |
| 2 | 819598 | TUBE EVAP TRAY FORMED H/SHRINK |
| 3 | 815236P | SCREW #12X1/2 CSK PH TV (PKT 10) |
| 4 | 820734 | TRAY EVAP AS |
| 5 | 817817P | SCREW #8X12 SP PAN NIB ST TV (PKT 10) |
| 6 | 207426P | COMPR PKD JIAX VNFB16Y 230V |
| includes | COMPR JIAX VNFB16Y | |
| includes | COVER PROTECTOR JIAX VCC | |
| includes 814843 | FILTER PREBRAZED LONG TAIL | |
| includes | GROMMET COMPR MTG 16.5MM (4) | |
| includes | POST COMP MOUNTING 16.5MM (4) | |
| includes | CLIP FOOT COMPRESSOR (4) | |
| 207427 | INVERTER JIAX VNFB16Y 230V | |
| 7 | 855270P | CLIP FOOT COMPRESSOR (PKT 4) |
| 8 | 849622P | GROMMET 16.5MM KIT 4 PACK |
| 9 | includes | POST COMP MOUNTING 16.5MM |
| 10 | includes | GROMMET COMPR MTG 16.5MM |
| 11 | includes | CLIP FOOT COMPRESSOR |
| 12 | NA | REFER TO ITEM #9 – KIT ONLY |
| 13 | 817829P | SCREW 8X16 SP PAN NIB TV (PKT 10) |
| 14 | 813271 | CLIP INVERTER MOUNTING |
| 15 | 817828P | SCREW 8-32X8 TY T PAN PH TV (PKT 10) |
| 16 | 847818P | MOD CNTRL F AS51 120-230V SVC |
| 17 | 817837 | CABLE SUPPLY SING/UK |
| 18 | 884242 | HARNESS VCC SIGNAL |
| 19 | 884243 | HARNESS VCC POWER |
| 20 | 821258 | TUBE SUCT CAP ASSY 5/16 ROHS |
FISHERPAYKEL.COM
© Fisher & Paykel Appliances 2020. All rights reserved.
The models shown in this guide may not be available in all markets and are subject to change at any time.
The product specifications in this guide apply to the specific products and models described at the date of issue. Under our policy of continuous product
improvement, these specifications may change at any time.
For current details about model and specification availability in your country, please go to our website or contact your local Fisher & Paykel dealer.
PRODUCT CODE: 26030-A 08.20


















