
REFRIGERATOR FREEZER
RF522BLXFDU5 FP EU
PRODUCT CODE: 26434-A

PARTS MANUAL
INTRODUCTION
| BRAND | VOLTAGE | MODEL | PRODUCT CODE |
| Fisher & Paykel | 220-240 50Hz | RF522BLXFDU5 FP EU | 26414-A |
MODELS
The models covered by this manual are listed on the front cover.
The information detailed in this manual is subject to change without notice. The latest version is indicated by the reprint date and replaces any earlier editions.
KIT PARTS
Where a part number is shown against the descriptions for kit components, they are also available as separate items. In addition, some parts may be supplied with these kits that are not available as separate items, and are therefore either not listed, or a part number is not shown against the part description in this manual.
PARTS LIST KEY
| NI | As a part reference, indicates the part is not illustrated on the diagram. |
| NOT USED | As a part number, indicates the diagram part reference is not used in this manual. |
| NS | As a part number, indicates the part is not servicable. |
EU GB
Fisher & Paykel Appliances Ltd UK
tel: 08000 886 605
fax: 08000 886 606
e-mail: [email protected]
www.fisherpaykel.com/uk/
www.fisherpaykel.com/eu/
IE
Fisher & Paykel Appliances
Tel: 1800 625 174
Fax: 1800 635 012
e-mail: [email protected]
www.fisherpaykel.com/ie/
DOOR COMPONENTS

| REFERENCE | PART NUMBER | PART DESCRIPTION |
| 1 | 820957 | COVER DOOR HINGE LH |
| 2 | 860419 | TRIM DOOR DESIGNER X |
| 3 | 817825P | SCREW #8X22 WAFER PH ST TV (PKT 10) |
| 4 | 820958 | BEARING HINGE WATER LH |
| 5 | 820862P | GUIDE TUBE DOOR LH RF FREESTANDING |
| 6 | 865708P | DR PC 790X1052 FU4B SX2 LH HSW |
| Includes 864803 | MAGNET HALL SW 10X30 | |
| Includes 864794 | COVER MAGNET DOOR GR | |
| Includes | GASKET FRAME E522B PC | |
| 7 | 819822P | GASKET FRAME E522B PC |
| 8 | 813926 | TRIM CORNER DOOR FLAT |
| 9 | 819651 | CLOSING HOOK DR STOP GR LH |
| 10 | 814537 | DOOR STOP ASSY |
| 11 | 813931 | BEARING HINGE TOP DOOR FLAT |
| 12 | 865719P | DR FC 790X613 F SX2 B LH HSW |
| Includes 864803 | MAGNET HALL SW 10X30 | |
| Includes 864794 | COVER MAGNET DOOR GR | |
| Includes | GASKET FRAME E522B FC | |
| 13 | 819821P | GASKET FRAME E522B FC |
| 14 | 864803 | MAGNET HALL SW 10X30 |
| 15 | 864794 | COVER MAGNET DOOR GR |
| Includes | SCREW ST 8X5/16 TAB MTS PH NP | |
| 16 | 876281P | PLUG DOOR SHELF WHITE (PKT 2) |
| 17 | 821467 | COVER SHELF RF522W |
| 18 | 821637 | SHELF DR RF522W ASSY |
| 19 | 821805 | DIVIDER BOTTLE 522B |
| 20 | 821465 | RAIL SHELF DOOR RF522W |
| 21 | 821630 | SHELF DR BTM RF522W |
| 22 | 820581 | HANDLE D3 612 BRUSHED |
| Includes 837467 | SCREW M5X14 CAP | |
| Includes 819646 | SCREW M5X40 CAP | |
| 23 | 860795P | BOSS HANDLE FLAT SPARES KIT |
| 24 | 820582 | HANDLE D3 374 BRUSHED |
| Includes 837467 | SCREW M5X14 CAP | |
| Includes 819646 | SCREW M5X40 CAP | |
| 25 | 837467P | SCREW M5X14 CAP (PKT 10) |
| 26 | 819646P | SCREW M5X40 CAP (PKT 10) |
WATER DISPENSER & DISPLAY MODULE

| REFERENCE | PART NUMBER | PART DESCRIPTION |
| 1 | 821509P | MOD DISP AS U2 EXT SVC |
| Includes 821293 | FASICA IML WATER DISPENSER | |
| 2 | 821293 | FASICA IML WATER DISPENSER |
| 3 | 838115 | SPIGOT ASSY WATER DISPENSER |
| Includes 837391 | CHECK VALVE SPIGOT WATER | |
| Includes 837390 | ORING SPIGOT WATER DISPENSER | |
| 4 | 837391 | CHECK VALVE SPIGOT WATER |
| 5 | 837390 | ORING SPIGOT WATER DISPENSER |
| 6 | 838114 | LEVER ASSY WATER DISPENSER |
| Includes 821579 | LEVER WATER DISPENSER | |
| Includes 821883 | SPRING LEVER WATER DISPENSER | |
| 7 | 821579 | LEVER WATER DISPENSER |
| 8 | 821883 | SPRING LEVER WATER DISPENSER |
| 9 | 838113 | TRAY DRIP ASSY WATER DISPENSER |
| Includes 821582 | DRIP TRAY CONTAINER | |
| Includes 821583 | DRIP TRAY LID | |
| 10 | 821582 | DRIP TRAY CONTAINER |
| 11 | 821583 | DRIP TRAY LID |
CABINET COMPONENTS

| REFERENCE | PART NUMBER | PART DESCRIPTION |
| 1 | 841533P | COVERS GR RF FREESTANDING |
| 2 | 817818P | SCREW M5X20 HEX PH ST TV (PKT 10) |
| 3 | 820861 | BRACKET HINGE IW LH ASSY |
| 4 | 821944P | SUPPORT HINGE LH RF FREESTANDING |
| 5 | 821917 | CONNECTOR PCB RAST 8 WAY |
| 6 | 873279 | CONNECTOR RAST 7234-008-500 |
| 7 | 883948P | PLUG TAPPED HOLE SILVER (PKT 3) |
| 8 | 883951 | TRIM CORNER SILVER 680/790 |
| 9 | 820737 | WINDOW LED PC |
| 10 | 820736 | HOUSING FRONT LED PC |
| NI | 817816P | SCREW 6 X12 AB TRUSS PH ST TV (PKT 10) |
| 11 | 866791P | MOD LAMP AS INTERCEPTOR NWF SVC |
| 12 | 563774P | MOD WIFI GEA3 LITE SVC |
| 13 | 867767P | MOD DISP AS U2 INT WF 8B SVC |
| 14 | 838437 | HARNESS DISPLAY SPARES |
| 15 | 848320P | PC FAN ASSY JST/DCT |
| Includes | FAN HOUSING PC ASSY | |
| Includes | DUCT JUNCTION | |
| Includes | CONNECTOR IDC UP2 (2) | |
| Includes | LABEL WARNING 12 VOLT DC | |
| Includes | SHEET INSTRUCTION PC FAN ASSY | |
| 16 | 880656P | SCREW 10GX25CSK SQ SS (PKT 10) |
| 17 | 881286P | BRACKET CENTRE HINGE LH PKD |
| Includes 883989P | CAP DOOR CLOSING LH HGE BRKT | |
| 18 | 883989P | CAP DOOR CLOSING LH HGE BRKT |
| 19 | 883953P | CAP SCREW CROSS RAIL SILVER |
| 880595P | CAP SCREW CROSS RAIL WHT PKD | |
| 20 | 817822P | SCREW #10X19 AB #2 SQ TV (PKT 10) |
| 21 | 836810 | RETAINER SLIDE PC 790 RH ASSY RC |
| Includes | RETAINER SLIDE PC 790 RH | |
| Includes 836700 | SLIDE 305 RH ASSEMBLY | |
| Includes 836520P | CLIP SLIDE |

| REFERENCE | PART NUMBER | PART DESCRIPTION |
| 21 | 836809 | RETAINER SLIDE PC 790 LH ASSY RC |
| Includes | RETAINER SLIDE PC 790 LH | |
| Includes 836701 | SLIDE 305 LH ASSEMBLY | |
| Includes 836520P | CLIP SLIDE | |
| 22 | 836700 | SLIDE 305 RH ASSEMBLY RC |
| Includes 836520P | CLIP SLIDE | |
| 836701 | SLIDE 305 LH ASSEMBLY RC | |
| Includes 836520P | CLIP SLIDE | |
| 23 | 836520P | CLIP SLIDE (PKT 2) |
| 24 | 836545 | RETAINER SLIDE FC RH |
| 836546 | RETAINER SLIDE FC LH | |
| 25 | 836702 | SLIDE 355 RH ASSEMBLY RC |
| Includes 836520P | CLIP SLIDE | |
| 836703 | SLIDE 355 LH ASSEMBLY RC | |
| Includes 836520P | CLIP SLIDE | |
| 26 | 884011 | DUCT RETURN AIR FC 790 |
| 881420 | COVER REED SWITCH ST4 SILVER | |
| 27 | 865214P | MOD HALL SWITCH RF |
| 28 | 836595 | HEATSHRINK 1/8” MW ADHESIVE LINED |
| 29 | 847316P | RETAINER WHEEL STEEL KIT |
| Includes | RETAINER WHEEL STEEL | |
| Includes | SCREW 8-32X8 TY T PAN PH TV | |
| Includes | ROLLER FOOT FRONT | |
| Includes | PIN ROLLER PLATED | |
| 30 | 814690P | BRACKET HINGE BASE RH PKD |
| Includes 883989P | CAP DOOR CLOSING RH HGE BRKT | |
| 31 | 813481 | BOLT BLIND END HINGE BRACKET |
| 32 | 818535 | FOOT LEVELLING ASSEMBLY RC |
| Includes | WHEEL LEVELLING FOOT ASSY | |
| Includes | BASE LEVELLING FOOT | |
| 33 | 836751P | SHELF GLASS PC 790 ASSY SC |
| Includes | SHELF GLASS PC 790 | |
| Includes | TRIM SHELF PC 790 SC | |
| Includes | STIFFENER SHELF PC 790 SC | |
| Includes 836569 | PLUG STIFFENER SHELF RH | |
| Includes 836570 | PLUG STIFFENER SHELF LH | |
| Includes 836567 | PLUG TRIM SHELF RH | |
| Includes 836568 | PLUG TRIM SHELF LH |

| REFERENCE | PART NUMBER | PART DESCRIPTION |
| 34 | 836728P | SHELF GLASS HCL 790B ASSY SC |
| Includes | SHELF GLASS PC 790 | |
| Includes | TRIM SHELF HCL 790 SC | |
| Includes | STIFFENER SHELF PC 790 SC | |
| Includes 836567 | PLUG TRIM SHELF RH | |
| Includes 836568 | PLUG TRIM SHELF LH | |
| Includes 836569 | PLUG STIFFENER SHELF RH | |
| Includes 836570 | PLUG STIFFENER SHELF LH | |
| Includes 836582 | RETAINER HCL FRONT 790 | |
| Includes 881268 | BRACKET HCL SUPPORT B GL SH (2) | |
| Includes 836574 | LID HUMIDITY CONTROL 790B | |
| Includes 836631 | SLIDE CONTROL HUMIDITY RH | |
| Includes 836633 | SLIDE CONTROL HUMIDITY LH | |
| Includes 836632 | GUIDE CONTROL HUMIDITY RH | |
| Includes 836634 | GUIDE CONTROL HUMIDITY LH | |
| 35 | 836574 | LID HUMIDITY CONTROL 790B |
| 36 | 881268 | BRACKET HCL SUPPORT B GL SH |
| 37 | 836582 | RETAINER HCL FRONT 790 |
| 38 | 836631 | SLIDE CONTROL HUMIDITY RH |
| 836633 | SLIDE CONTROL HUMIDITY LH | |
| 39 | 836632 | GUIDE CONTROL HUMIDITY RH |
| 836634 | GUIDE CONTROL HUMIDITY LH | |
| 40 | 836524 | BIN SMALL 790 |
| 41 | 836522 | BIN SMALL |
| 42 | 821142 | TRAY 790 |
| 43 | 836585 | SKID TRAY RH |
| 836586 | SKID TRAY LH | |
| 44 | 836517 | WHEEL & CHASSIS ASSEMBLY (PKT 2) |
| 45 | 836661 | BIN ASSEMBLY LARGE 790 |
| Includes | HANDLE BIN LARGE | |
| 46 | 860593 | HOLDER BOTTLE SINGLE |
| 47 | 837192P | CONNECTORS JG RF FREESTANDING |
| 48 | 837193P | COLLET LOCKING CLIP PIC1808R (PKT 2) |
CABINET ACCESSORIES

| REFERENCE | PART NUMBER | PART DESCRIPTION |
| 55 | 819264 | KIT JOINER SILVER |
| 56 | 818758 | KIT SURROUND STAINLESS 790 LH |
| 818759 | KIT SURROUND STAINLESS 790 X2 |
iCEMAKER COMPONENTS & ICE BIN

| REFERENCE | PART NUMBER | PART DESCRIPTION |
| 1 | 836929 | SCOOP ICE |
| 2 | 836886 | BIN AND SCOOP ASSEMBLY |
| Includes 836928 | BIN ICE | |
| Includes 836929 | SCOOP | |
| 3 | 836936 | SPIGOT FILL ICE MAKER |
| 4 | 836915 | HOUSING ICE MAKER |
| 5 | 820833P | ICEMAKER ASSEMBLY LARGE |
| Includes 820841 | TRAY ICE AUTO LARGE | |
| Includes 836910 | LEVER GEAR BOX ICE | |
| Includes 836915 | HOUSING ICE MAKER | |
| Includes 836934 | GEARBOX ICE MAKER | |
| Includes 836948 | SCREW 6X1/2 PAN PH SS | |
| 6 | 836934 | GEARBOX ICE MAKER |
| 7 | 836912 | LEVER BIN DETECT |
| 8 | 836948P | SCREW 6X1/2 PAN PH SS (PKT 10) |
| 9 | 836910 | LEVER GEAR BOX ICE |
| 11 | 820841 | TRAY ICE AUTO LARGE |
| 12 | 836909 | FOAM CLIP SENSOR |
| 13 | 837180 | CLIP SENSOR ICE TRAY |
| 14 | 321107 | ICE MAKER SENSOR LEAD WIRE KIT |
| Includes | SENSOR THERMISTOR ICE MAKER | |
| Includes | CONNECTOR IDC UY2 – 3MS | |
| Includes | INSTRUCTIONS ICE SENSOR KIT | |
| 15 | 821689P | ICE FILL TUBE HEATER KIT MK2 |
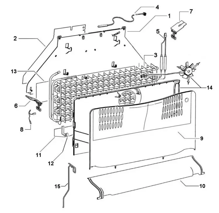
FAN COVERS & EVAPORATOR COMPONENTS

| REFERENCE | PART NUMBER | PART DESCRIPTION |
| 1 | 814475 | CHASSIS EVAP 790B |
| 2 | 884315 | DEFLECTOR HEAT 790B |
| 3 | 837336P | EVAP ASSY 790B 230V DP |
| Includes | EVAPORATOR FINNED 790 R600A | |
| Includes 814475 | CHASSIS EVAP 790B | |
| Includes 814713 | SHIELD EVAP CHASSIS 790B | |
| Includes 884315 | DEFLECTOR HEAT 790B | |
| Includes 821877 | HEATER DEFROST DBLE 230V 790 | |
| Includes 820604 | CLIP EVAP BAFFLE | |
| Includes 813992 | CLIP ACTIVE SMART BAFFLE | |
| Includes 820835 | CLIP DEFROST HEATER B SHORT (2) | |
| Includes 814460 | HARNESS EARTH 100MM | |
| Includes 821255 | CABLE TIE 200MMX3.6 | |
| 4 | 855203P | SENSOR KIT ASSY ACTV SM |
| Includes | HEATSHRINK 25MM | |
| Includes | HARNESS SENSOR PC | |
| Includes | CONNECTOR BUTT (2) | |
| Includes | SHEET INSTRUCTN BUTT CONNECTORS | |
| 5 | 821877 | HEATER DEFROST DBLE 230V 790 |
| NI | 821745 | COVER PLUG TYCO |
| 6 | 813992 | CLIP ACTIVE SMART BAFFLE |
| 7 | 820604 | CLIP EVAP BAFFLE |
| 8 | 814460 | HARNESS EARTH 100MM |
| 9 | 873395 | COVER FAN FC FRONT E790B |
| 10 | 836595 | DUCT RETURN AIR FC 790 |
| 11 | 883783 | SHIELD FC REAR COVER 790 |
| 12 | 820835 | CLIP DEFOST HEATER B SHORT |
| 13 | 814713 | SHIELD EVAP CHASSIS |
| 14 | 848316P | FAN FC 3W KIT 790 SERIES A TO |
| Includes 880279 | SHIELD HEATER FC COVER 790 | |
| Includes | COVER FAN FC REAR 790 | |
| Includes | CONNECTOR IDC UP2 (2) | |
| Includes | LABEL WARNING 12 VOLT DC | |
| Includes | FAN DC SUSPENDED FC ASSY | |
| 15 | 821251 | WIRE DRAIN HEATER DOUBLE B |
WATER TANK & DUCT COVER COMPONENTS

| REFERENCE | PART NUMBER | PART DESCRIPTION |
| 1 | 836849 | COVER DUCT TOP WATER |
| Includes | TAPE FOAM 440X6X3 S/CELL P3 | |
| 2 | 836846 | TANK DISPENSER ASSEMBLY |
| Includes | CAP TANK DISPENSER | |
| Includes | BASE TANK DISPENSER | |
| Includes | BAFFLE TANK DISPENSER | |
| 3 | 821135 | TUBE WATER TANK OUTLET |
| 4 | 837162 | TUBE WATER TANK INLET |
| 5 | 836861 | COVER DUCT PC LONG WATER |
| 6 | 873950 | INSULATION COVER DUCT LG B |
| 7 | 813287 | GRILLE PC RETURN AIR B MODEL |
| 8 | 872823 | INSULATION INSERT PID |
| 10 | 855203P | SENSOR KIT ASSY ACTIVE SMART |
| Includes | HEATSHRINK 25MM | |
| Includes | HARNESS SENSOR PC | |
| Includes | CONNECTOR BUTT (2) | |
| Includes | SHEET INSTRUCTN BUTT CONNECTORS |
TERMINAL, PLUGS & SOCKETS

NOTE THAT IN THE PART NAMES OF THESE CONNECTORS, THE -02- REFERS TO IT BEING A 2 WAY CONNECTOR, AND THE -AB01-(FOR EXAMPLE) REFERS TO THE CODING OF THE CONNECTOR.
NOTE: TO MINIMISE THE NUMBER OF SPARE PARTS THAT NEED TO BE CARRIED, THESE CODED CONNECTORS ARE TO BE REPLACED WITH THEIR UNCODED EQUIVALENTS FOR THE 3, 5 AND 6 WAY CONNECTORS USED ON STAGE 4 CABINETS.

| REFERENCE | PART NUMBER | PART DESCRIPTION | COMMENTS |
| 1 | 819607P | TERMINAL SYF-01T PKT 10 | 26/20 AWG |
| 819608P | TERMINAL SYF-41T PKT 10 | 20/16 AWG | |
| 2 | 819609P | PIN/TERM SYM-01T PKT 10 | 26/20 AWG |
| 819610P | PIN/TERM SYM-41T PKT 10 | 20/16 AWG | |
| 3 | 819615 | JST SOCKET 2PIN YLR-02V | |
| 819616 | JST SOCKET 3PIN YLR-03V | ||
| 819617 | JST SOCKET 4PIN YLR-04V | ||
| 819618 | JST SOCKET 6PIN YLR-06VF | ||
| 819619 | JST SOCKET 8 PIN YLR-08V | ||
| 4 | 819611 | JST PLUG 2PIN YLP-02V | |
| 819612 | JST PLUG 4PIN YLP-04V | ||
| 819613 | JST PLUG 6PIN YLP-06V | ||
| 819614 | JST PLUG 8PIN YLP-08V | ||
| 5 | 819620 | RETAINER 2 WAY YLS-02V | |
| 819621 | RETAINER 3 WAY YLS-03V | ||
| 6 | 881588 | CONNECTOR RAST 9290-02-AB01 | |
| 881589 | CONNECTOR RAST 9290-02-BA01 | ||
| 881590 | CONNECTOR RAST 9290-02-EE01 | MAINS CORD | |
| 7 | 881591 | CONNECTOR RAST 9290-04-EF02 | DEFROST HEATER |
| 8 | 873251 | CONNECTOR RAST 7234-003-500 | RUN CAPACITOR |
| 873250 | CONNECTOR RAST 7234-004-500 | COMPRESSOR CABLE | |
| 881135 | CONNECTOR RAST 7234-005-500 | ||
| 873247 | CONNECTOR RAST 7234-006-500 | ||
| 873279 | CONNECTOR RAST 7234-008-500 | ||
| 873248 | CONNECTOR RAST 7234-010-500 | ||
| 873243 | CONNECTOR RAST 7234-012-500 | ||
| 881136 | CONNECTOR RAST 7234-014-500 | ||
| 881137 | CONNECTOR RAST 7234-017-502 | ||
| 9 | 820687P | ADAPTOR JST REC TO MOLEX KIT | |
| Includes 884412 | COVER PLUG MOLEX | ||
| 10 | 820688P | ADAPTOR JST PLUG TO MOLEX KIT | |
| Includes 884412 | COVER PLUG MOLEX |
NOTE – THE NUMBERS IN THE DESCRIPTIONS OF THE RAST CONNECTOR DENOTE THE NUMBER OF CONNECTIONS
EXAMPLE: 7234-017-502= 17 WAY CONNECTOR
COMPRESSOR & CONTROL MODULE

| REFERENCE | PART NUMBER | PART DESCRIPTION |
| 1 | 882137P | PANEL BACK ASSY 1390X780 |
| 2 | 819598 | TUBE EVAP TRAY FORMED H/SHRINK |
| 3 | 815236P | SCREW #12X1/2 CSK PH TV (PKT 10) |
| 4 | 820734 | TRAY EVAP AS |
| 5 | 817817P | SCREW #8X12 SP PAN NIB ST TV (PKT 10) |
| 6 | 207426P | COMPR PKD JIAX VNFB16Y 230V |
| includes | COMPR JIAX VNFB16Y | |
| includes | COVER PROTECTOR JIAX VCC | |
| includes 814843 | FILTER PREBRAZED LONG TAIL | |
| includes | GROMMET COMPR MTG 16.5MM (4) | |
| includes | POST COMP MOUNTING 16.5MM (4) | |
| includes | CLIP FOOT COMPRESSOR (4) | |
| 7 | 207427 | INVERTER JIAX VNFB16Y 230V |
| 8 | 855270P | CLIP FOOT COMPRESSOR (PKT 4) |
| 9 | 849622P | GROMMET 16.5MM KIT 4 PACK |
| includes | POST COMP MOUNTING 16.5MM | |
| includes | GROMMET COMPR MTG 16.5MM | |
| includes | CLIP FOOT COMPRESSOR | |
| 10 | NA | REFER TO ITEM #9 – KIT ONLY |
| 11 | 814843P | FILTER LONG TAIL XH9 12GRM |
| 12 | 814905 | TRAY COMP MOUNTING 790 VCC |
| 13 | 817829P | SCREW 8X16 SP PAN NIB TV (PKT 10) |
| 14 | 813271 | CLIP INVERTER MOUNTING |
| 15 | 817828P | SCREW 8-32X8 TY T PAN PH TV (PKT 10) |
| 16 | 867800P | MOD CTRL AS WIFI 120-230V SVC |
| 17 | 817837 | CABLE SUPPLY SING/UK |
| 18 | 884242 | HARNESS VCC SIGNAL |
| 19 | 884243 | HARNESS VCC POWER |
| 20 | 821258 | TUBE SUCT CAP ASSY 5/16 ROHS |
| 21 | 820718 | VALVE ICE WATER 16 WATT |
| 22 | 821779 | KIT FILTER WATER 600KPA 85PSI |
| Includes 836848 | CARTRIDGE FILTER WATER | |
| Includes 836855 | HEAD FILTER WATER | |
| Includes 836857 | TUBE FILTER WATER 1/4″ OD WHITE 4M | |
| Includes 821756 | VALVE PRESSURE LIMIT 600KPA 85 |

| REFERENCE | PART NUMBER | PART DESCRIPTION |
| 23 | 836857 | TUBE FILTER WATER ¼” OD WHITE 4M |
| 24 | 836855 | HEAD FILTER WATER |
| 25 | 836848 | CARTRIDGE FILTER WATER |
| 26 | 821756 | VALVE PRESSURE LIMIT 600KPA 85 |
| 27 | 312197 | ADAPTOR TAP-TUBE 1/4″ OD X 1/2″ BSP |
FISHERPAYKEL.COM
© Fisher & Paykel Appliances 2021. All rights reserved.
The models shown in this guide may not be available in all markets
and are subject to change at any time.
The product specifications in this guide apply to the specific products and
models described at the date of issue. Under our policy of continuous product
improvement, these specifications may change at any time.
For current details about model and specification availability in your country,
please go to our website or contact your local Fisher & Paykel dealer.
PRODUCT CODE: 26434-A 08.21



















