FISHER PAYKEL RF402BRPUX7 64cm Fridge Freezer

INTRODUCTION
| BRAND | VOLTAGE | MODEL | PRODUCT CODE |
| Fisher & Paykel | 220-240V 50Hz | RF402BRPUX7 FP BI | 25971-A |
MODELS
The models covered by this manual are listed on the front cover. The information detailed in this manual is subject to change without notice. The latest version is indicated by the reprint date and replaces any earlier editions.
KIT PARTS
Where a part number is shown against the descriptions for kit components, they are also available as separate items. In addition, some parts may be supplied with these kits that are not available as separate items, and are therefore either not listed, or a part number is not shown against the part description in this manual.
PARTS LIST KEY
| NI | As a part reference, indicates the part is not illustrated on the diagram. |
| NOT USED | As a part number, indicates the diagram part reference is not used in this manual. |
| NS | As a part number, indicates the part is not servicable. |
DOOR COMPONENTS

| REFERENCE | PART NUMBER | PART DESCRIPTION |
| 1 | 843902 | COVER DOOR TOP 635 GR |
| 2 | 839659 | BEARING HINGE WATER RH UD |
| 3 | 842103 | COVER DOOR TOP NONHINGE GR |
| 4 | 839718 | COVER SHELF DAIRY 635 |
| 5 | 839722 | SHELF DOOR SOLID 635 |
| 6 | 821805 | DIVIDER BOTTLE 522B |
| 7 | 839716 | SHELF DOOR BOTTOM 635 |
| 8 | 839717 | RAIL SHELF DOOR 635 |
| 9 | 843023 | BOOK USE&CARE BOOK NZ/AU/ROW |
| 10 | 848384P | DOOR PC 635X1052.5 PU SX2 RH |
| 11 | 842369P | COVER DOOR BOT NONHINGE RH GR |
| 12 | 883315 | MAGNET DOOR SWITCH ST4 |
| 13 | 842122 | COVER MAGNET DOOR UD GR |
| 14 | 842483P | PLUG DOOR BOTTOM GR |
| 15 | 817825P | SCREW #8X22 WAFER PH ST TV |
| 16 | 842372 | COVER DR BOT UD HINGE RH GR |
| 17 | 814537 | DOOR STOP ASSY |
| 18 | 843387 | CLOSING HOOK DR STOP RH GR NO FLG |
| 19 | 849060P | DOOR FC 635X605 P SX2 RH |
| 20 | 844778 | COVER DOOR TOP 635 GR RH |
| 21 | 813931 | BEARING HINGE TOP GR |
| 22 | 841363P | GASKET FRAME PUSHIN 635B FC |
| 23 | 841360P | GASKET FRAME PUSHIN 402B PC |
WATER DISPENSER & DISPLAY MODULE

| REFERENCE | PART NUMBER | PART DESCRIPTION |
| 1 | 847597P | MOD DIS AS U2 EXT UB |
| includes | MOD DIS AS U2 EXT UB | |
| includes 847298 | FASCIA IML WATER DISP UB | |
| 2 | 847298 | FASCIA IML WATER DISP UB |
| 3 | 838115 | SPIGOT ASSY WATER DISPENSER |
| Includes 837391 | CHECK VALVE SPIGOT WATER | |
| Includes 837390 | ORING SPIGOT WATER DISPENSER | |
| 4 | 837391 | CHECK VALVE SPIGOT WATER |
| 5 | 838595 | O RING WATER DISP SILICON |
| 6 | 838114 | LEVER ASSY WATER DISPENSER |
| Includes 821579 | LEVER WATER DISPENSER | |
| Includes 821883 | SPRING LEVER WATER DISPENSER | |
| 7 | 821579 | LEVER WATER DISPENSER |
| 8 | 821883 | SPRING LEVER WATER DISPENSER |
| 9 | 838113 | TRAY DRIP ASSY WATER DISPENSER |
| Includes 821582 | DRIP TRAY CONTAINER | |
| Includes 821583 | DRIP TRAY LID |
CABINET COMPONENTS

| REFERENCE | PART NUMBER | PART DESCRIPTION |
| 1 | 841534 | COVER HINGE TOP LONG RH GR |
| 2 | 817818P | SCREW M5X20 HEX PH ST TV (PKT 10) |
| 3 | 820652 | BRACKET HINGE IW RH ASSY |
| 4 | 821943P | SUPPORT HINGE RH RF FREESTANDING |
| 5 | 821917 | CONNECTOR PCB RAST 8 WAY |
| 6 | 873279 | CONNECTOR RAST 7234-008-500 |
| 7 | 883948P | PLUG TAPPED HOLE SILVER (PKT 3) |
| 8 | 883951 | TRIM CORNER SILVER 680/790 |
| 9 | 880656P | SCREW 10GX25CSK SQ SS (PKT 10) |
| 10 | 881283P | BRACKET CTR HINGE RH (PKD) |
| Includes 883988P | CAP DOOR CLOSING RH HGE BRKT G | |
| 11 | 883988P | CAP DOOR CLOSING RH HGE BRKT G |
| 12 | 821286P | MOD DISP AS U2 INT 8 BUT SVC |
| 13 | 838437 | HARNESS DISPLAY SPARES |
| 14 | 820736 | HOUSING FRONT LED PC |
| 15 | 817816P | SCREW 6 X12 AB TRUSS PH ST TV (PKT 10) |
| 16 | 820743P | MOD LAMP AS 2LED ROHS SVC |
| Includes 820736 | HOUSING FRONT LED PC | |
| 17 | 820737 | WINDOW LED PC |
| 18 | 848320P | PC 3W FAN ASSY JST/DCT |
| Includes | FAN HOUSING PC ASSY | |
| Includes | DUCT JUNCTION | |
| Includes | CONNECTOR IDC UP2 (2) | |
| Includes | LABEL WARNING 12 VOLT DC | |
| Includes | SHEET INSTRUCTION PC FAN ASSY | |
| 19 | 836808 | RETAINER & SLIDE 680 RH ASSY RC |
| Includes | RETAINER SLIDE PC B RH | |
| Includes 836700 | SLIDE 305 RH ASSEMBLY | |
| Includes 836520P | CLIP SLIDE | |
| 836807 | RETAINER & SLIDE 680 LH ASSY RC | |
| Includes | RETAINER SLIDE PC B LH | |
| Includes 836701 | SLIDE 305 LH ASSEMBLY | |
| Includes 836520P | CLIP SLIDE |

| REFERENCE | PART NUMBER | PART DESCRIPTION |
| 20 | 836700 | SLIDE 305 RH ASSEMBLY RC |
| Includes 836520P | CLIP SLIDE | |
| 836701 | SLIDE 305 LH ASSEMBLY RC | |
| Includes 836520P | CLIP SLIDE | |
| 21 | 836520P | CLIP SLIDE (PKT 2) |
| 22 | 836545 | RETAINER SLIDE FC RH |
| 836546 | RETAINER SLIDE FC LH | |
| 23 | 836702 | SLIDE 355 RH ASSEMBLY |
| Includes 836520P | CLIP SLIDE | |
| 836703 | SLIDE 355 LH ASSEMBLY | |
| Includes 836520P | CLIP SLIDE | |
| 24 | 884011 | COVER REED SWITCH ST4 SILVER |
| 881420 | COVER REED SWITCH WHITE ST4 | |
| 25 | 814443P | SWITCH REED FIELD FIX KIT ST4 |
| Includes | HEATSHRINK 1/8’’ MW ADHESIVE LINED | |
| 26 | 836593 | DUCT RETURN AIR FC 635 |
| 27 | 883953P | CAP SCREW CROSS RAIL SILVER |
| 880595P | CAP SCREW CROSS RAIL WHITE | |
| 28 | 817822P | SCREW #10X19 AB #2 SQ TV (PKT 10) |
| 29 | 847316P | RETAINER WHEEL STEEL KIT |
| Includes | RETAINER WHEEL STEEL | |
| Includes | SCREW 8-32X8 TY T PAN PH TV | |
| Includes | ROLLER FOOT FRONT | |
| Includes | PIN ROLLER PLATED | |
| 30 | 818614P | BRACKET HINGE BASE RH (PKD) |
| Includes 883988P | CAP DOOR CLOSING RH HGE BRKT G | |
| 31 | 813481 | BOLT BLIND END HINGE BRACKET |
| 32 | 880512 | FOOT LEVELLING ASSEMBLY |
| Includes | WHEEL LEVELLING FOOT ASSY | |
| Includes | BASE LEVELLING FOOT | |
| 33 | 821037 | SHELF GL PC 635 ASSY SC |
| Includes | SHELF GLASS PC 635 | |
| Includes | TRIM SHELF PC 635 SC | |
| Includes | STIFFENER SHELF PLASTIC PC SC | |
| Includes 836567 | PLUG TRIM SHELF RH | |
| Includes 836568 | PLUG TRIM SHELF LH |

| REFERENCE | PART NUMBER | PART DESCRIPTION |
| 34 | 821038 | SHELF GL HCL 635B ASSY SC |
| Includes | SHELF GLASS PC 635 | |
| Includes | TRIM SHELF HCL 635 SC | |
| Includes | STIFFENER SHELF PC 635 SC | |
| Includes 836567 | PLUG TRIM SHELF RH | |
| Includes 836568 | PLUG TRIM SHELF LH | |
| Includes 836580 | RETAINER HCL FRONT 635 | |
| 35 | 836729 | LID HUMIDITY CONTROL 635B |
| 36 | 836580 | RETAINER HCL FRONT 635 |
| 37 | 836633 | SLIDE CTRL HUMIDITY LH |
| 836631 | SLIDE CTRL HUMIDITY RH | |
| 38 | 836634 | GUIDE CTRL HUMIDITY LH |
| 836632 | GUIDE CTRL HUMIDITY RH | |
| 39 | 836522 | BIN SMALL |
| 40 | 836512 | TRAY 635 |
| 41 | 836585 | SKID TRAY RH |
| 836586 | SKID TRAY LH | |
| 42 | 836517 | WHEEL & CHASSIS ASSEMBLY (PKT 2) |
| 43 | 836659 | BIN LARGE 635 ASSY |
| 44 | 860593 | HOLDER BOTTLE SINGLE ASSY |
| 45 | 837192 | CONNECTOR WATER ELBOW C10308W |
| 46 | 837193P | COLLET LOCKING CLIP PIC1808R (PKT 2) |
| NI | 819264 | KIT JOINER SILVER |
ICEMAKER COMPONENTS & ICE BIN

| REFERENCE | PART NUMBER | PART DESCRIPTION |
| 1 | 836929 | SCOOP ICE |
| 2 | 836886 | BIN AND SCOOP ASSEMBLY |
| Includes 836928 | BIN ICE | |
| Includes 836929 | SCOOP | |
| 3 | 836936 | SPIGOT FILL ICE MAKER |
| 4 | 836915 | HOUSING ICE MAKER |
| 5 | 820833P | ICEMAKER ASSEMBLY LARGE |
| Includes 820841 | TRAY ICE AUTO LARGE | |
| Includes 836910 | LEVER GEAR BOX ICE | |
| Includes 836915 | HOUSING ICE MAKER | |
| Includes 836934 | GEARBOX ICE MAKER | |
| Includes 836948 | SCREW 6X1/2 PAN PH SS | |
| 6 | 836934 | GEARBOX ICE MAKER |
| 7 | 836912 | LEVER BIN DETECT |
| 8 | 836948P | SCREW 6X1/2 PAN PH SS (PKT 10) |
| 9 | 836910 | LEVER GEAR BOX ICE |
| 11 | 820841 | TRAY ICE AUTO LARGE |
| 12 | 836909 | FOAM CLIP SENSOR |
| 13 | 837180 | CLIP SENSOR ICE TRAY |
| 14 | 321107 | ICE MAKER SENSOR LEAD WIRE KIT |
| Includes | SENSOR THERMISTOR ICE MAKER | |
| Includes | CONNECTOR IDC UY2 – 3MS | |
| Includes | INSTRUCTIONS ICE SENSOR KIT | |
| 15 | 821689P | ICE FILL TUBE HEATER KIT MK2 |
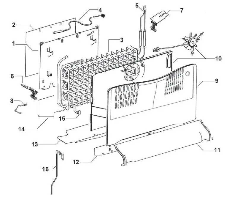
FAN, COVERS & EVAPORATOR ASSEMBLIES

| REFERENCE | PART NUMBER | PART DESCRIPTION |
| 1 | 814446 | CHASSIS EVAP 635 B |
| 2 | 880423P | DEF HRT CHASSIS |
| 3 | 837332P | EVAP ASSY 635B 230V DP |
| Includes | EVAPORATOR FINNED 635 R600A | |
| Includes 814446 | CHASSIS EVAP 635 B | |
| Includes 814631 | SHIELD EVAP B CHASSIS | |
| Includes 821875 | HEATER DEFROST DBLE 230V 635 | |
| Includes 880423P | DEF HRT CHASSIS | |
| Includes 820604 | CLIP EVAP BAFFLE | |
| Includes 813992 | CLIP ACTIVE SMART BAFFLE | |
| Includes 820835 | CLIP DEFROST HEATER B SHORT (2) | |
| Includes 814460 | HARNESS EARTH 100MM | |
| Includes | CABLE TIE 200MMX3.6 | |
| 4 | 855203P | SENSOR KIT ASSY |
| Includes | CONNECTOR BUTT | |
| Includes | HARNESS SENSOR PC | |
| 5 | 821875 | HEATER DEF DBL 230V 635 |
| NI | 821745 | COVER PLUG TYCO |
| 6 | 813992 | CLIP ACTIVE SMART BAFFLE |
| 7 | 820604 | CLIP EVAP BAFFLE |
| 8 | 814460 | HARNESS EARTH 100MM |
| 9 | 883289 | COVER FAN FC FRONT B |
| 10 | 848314P | FAN FC KIT 635 SERIES A TO |
| Includes 880409P | COVER HEAT SHIELD ALUM 635 | |
| Includes | COVER FAN FC REAR 635 | |
| Includes | CONNECTOR IDC UP2 (2) | |
| Includes | FAN DC SUSPENDED FC ASSY | |
| 11 | 836593 | DUCT RETURN AIR FC 635 |
| 12 | 880409P | COVER HEAT SHIELD ALUM 635 P42 |
| 13 | 872831 | SHIELD DRAIN HTR DEFROST 635B |
| 14 | 814631 | SHIELD EVAP B CHASSIS |
| 15 | 820835 | CLIP DEFROST HEATER B SHORT |
| 16 | 821251 | WIRE DRAIN HEATER DOUBLE B |
WATER TANK & DUCT COVERS

| REFERENCE | PART NUMBER | PART DESCRIPTION |
| 1 | 836849 | COVER DUCT TOP WATER |
| Includes | TAPE FOAM 440X6X3 S/CELL P3 | |
| 2 | 836846 | TANK DISPENSER ASSEMBLY |
| Includes | CAP TANK DISPENSER | |
| Includes | BASE TANK DISPENSER | |
| Includes | BAFFLE TANK DISPENSER | |
| 3 | 836857 | TUBE FILTER WATER 1/4” 4 MTR |
| 4 | 837162 | TUBE WATER TANK INLET |
| 5 | 836861 | COVER DUCT PC B LONG WATER |
| 6 | 873950 | INSULATION COVER DUCT LONG B |
| 7 | 813287 | GRILLE PC RETURN AIR B MODEL |
| 8 | 872823 | INSULATION INSERT PID |
| 10 | 855203P | SENSOR KIT ASSY ACTV SM |
| Includes | HEATSHRINK 25MM | |
| Includes | HARNESS SENSOR PC | |
| Includes | CONNECTOR BUTT (2) | |
| Includes | SHEET INSTRUCTN BUTT CONNECTORS |
COMPRESSOR AREA COMPONENTS

| REFERENCE | PART NUMBER | PART DESCRIPTION |
| 1 | 874881 | PANEL BACK ASSY 400H,395B,N388 |
| 2 | 814684 | TUBE EVAP TRAY FORMED H/SHK 68 |
| 3 | 815236P | SCREW #12X1/2 CSK PH TV (PKT 10) |
| 4 | 820734 | TRAY EVAP AS |
| 5 | 817817P | SCREW #8X12 SP PAN NIB ST TV (PKT 10) |
| 6 | 207432P | COMPR PKD EMB VESD9CEVO |
| includes | COMPR EMB VESD9CEVO | |
| includes 207310 | COVER PROTECTOR VEM | |
| includes 814843 | FILTER PREBRAZED LONG TAIL | |
| includes | PIN LOCKING COMP | |
| includes | POST COMP MOUNTING 26MM (4) | |
| includes | GROMMET COMPR MTG 26MM (4) | |
| includes | CLIP FOOT COMPRESSOR (4) | |
| 7 | 207436 | INVERTER VEMC9C 230V |
| 8 | 855270P | CLIP FOOT COMPRESSOR (PKT 4) |
| 9 | 849622P | GROMMET 16.5MM KIT 4 PACK |
| includes | POST COMP MOUNTING 16.5MM | |
| includes | GROMMET COMPR MTG 16.5MM | |
| includes | CLIP FOOT COMPRESSOR | |
| 10 | NA | REFER TO ITEM #9 – KIT ONLY |
| 11 | 814843P | FILTER LONG TAIL XH9 12GRM |
| 12 | 820335 | TRAY COMP MOUNTING 635VCC |
| 13 | 817829P | SCREW 8X16 SP PAN NIB TV (PKT 10) |
| 14 | 813271 | CLIP INVERTER MOUNTING |
| 15 | 817828P | SCREW 8-32X8 TY T PAN PH TV (PKT 10) |
| 16 | 847818P | MOD CNTRL F AS51 120-230V SVC |
| 17 | 817837 | CABLE SUPPLY SING/UK |
| 18 | 821475 | HARNESS VCC INV EXT |
| 19 | 821475 | HARNESS VCC INV EXT |
| 20 | 821259 | TUBE SUCT CAP ASSY 5/16 ROHS |
© Fisher & Paykel Appliances 2020. All rights reserved. The models shown in this guide may not be available in all markets and are subject to change at any time. The product specifications in this guide apply to the specific products and models described at the date of issue. Under our policy of continuous product improvement, these specifications may change at any time. For current details about model and specification availability in your country, please go to our website or contact your local Fisher & Paykel dealer.



















