FISHER PAYKEL RF540ADUSX5 FP EU Refrigerator Freezer

Product Information
- Product Type: Refrigerator Freezer
- Brand: Fisher & Paykel
- Model: RF540ADUSX5 FP EU
- Product Code: 26486-A
- Voltage: 220-240 50Hz
Product Usage Instructions
- Before using the refrigerator freezer, ensure that the voltage requirement of 220-240 50Hz is met.
- Refer to the contents section of the user manual to locate the relevant parts for installation and usage.
- For PC Door Components, refer to the parts list key to understand the part reference and description.
- For installing the Trim Door Corner Kit MSX2, follow the instructions listed under Reference Part Number 1.
- For installing the Guide Tube Door RH and LH, follow the instructions listed under Reference Part Number 4.
- For installing the Screw 6X1/2 Pan Ph SS (pkt 10), refer to Reference Part Number 5.
- For installing the Bearing Hinge Water RH and LH, refer to Reference Part Number 6.
- For installing the Plug Door Shelf White (pkt 2), refer to Reference Part Number 8.
- For installing the Cover Dairy 900, Shelf Door 900, Rail Bottle Support 900, and Divider Bottle 900, refer to Reference Part Numbers 9-12 respectively.
- For installing DR PC 445X1130 FU4AS SX2RH HSW and DR PC 445X1130 FAS SX2 LH HSW, refer to Reference Part Numbers 13 and 14 respectively.
- For installing the Gasket Assy 900 PC 430X1073 LTGY, refer to Reference Part Number 15.
- For installing the Softclose Door IR1 RH and LH, refer to Reference Part Numbers 16 and 17 respectively.
- For any additional information or queries regarding the product usage, refer to the contact details provided in the user manual.
INTRODUCTION
| BRAND | VOLTAGE | MODEL | PRODUCT CODE |
| Fisher & Paykel | 220-240 50Hz | RF540ADUSX5 FP EU | 26486-A |
MODELS
The models covered by this manual are listed on the front cover.
The information detailed in this manual is subject to change without notice. The latest version is indicated by the reprint date and replaces any earlier editions.
KIT PARTS
Where a part number is shown against the descriptions for kit components, they are also available as separate items. In addition, some parts may be supplied with these kits that are not available as separate items, and are therefore either not listed, or a part number is not shown against the part description in this manual.
PARTS LIST KEY
| NI | As a part reference, indicates the part is not illustrated on the diagram. |
| NOT USED | As a part number, indicates the diagram part reference is not used in this manual. |
| NS | As a part number, indicates the part is not servicable. |
EU GB
Fisher & Paykel Appliances Ltd UK
tel: 08000 886 605
fax: 08000 886 606
e-mail: [email protected]
www.fisherpaykel.com/uk/
www.fisherpaykel.com/eu/
IE
Fisher & Paykel Appliances
Tel: 1800 625 174
Fax: 1800 635 012
e-mail: [email protected]
www.fisherpaykel.com/ie/
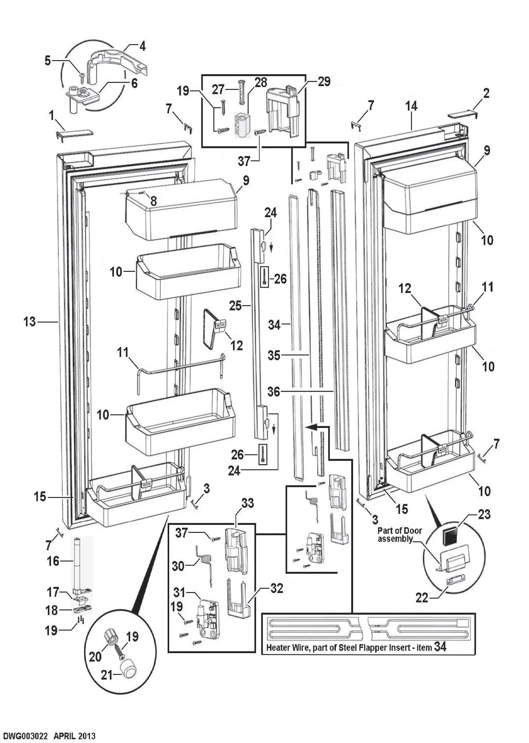
PC DOOR COMPONENTS

| REFERENCE | PART NUMBER | PART DESCRIPTION |
| 1 | 865538 | TRIM DOOR CORNER KIT MSX2 |
| Includes | TRIM CORNER DOOR FLAT SX2 (8) | |
| Includes | COVER DOOR HINGE RH SX2 | |
| Includes | COVER DOOR HINGE LH SX2 | |
| Includes | TRIM DOOR DESIGNER SX2 (4) | |
| 2 | REFER TO #1 | AVAILABLE AS A KIT |
| 3 | REFER TO #1 | AVAILABLE AS A KIT |
| 4 | 820715 | GUIDE TUBE DOOR RH |
| 820862 | GUIDE TUBE DOOR LH | |
| 5 | 836948P | SCREW 6X1/2 PAN PH SS (PKT 10) |
| 6 | 820845 | BEARING HINGE WATER RH |
| 820958 | BEARING HINGE WATER LH | |
| 7 | REFER TO #1 | AVAILABLE AS A KIT |
| 8 | 876281P | PLUG DOOR SHELF WHITE (PKT 2) |
| 9 | 837036 | COVER DAIRY 900 |
| 10 | 836993 | SHELF DOOR 900 |
| 11 | 818860 | RAIL BOTTLE SUPPORT 900 |
| 12 | 837079 | DIVIDER BOTTLE 900 |
| 13 | 866387P | DR PC 445X1130 FU4AS SX2RH HSW |
| Includes 819036P | GASKET ASSY 900 PC 430X1073 LTGY | |
| Includes | TRIM CORNER DOOR FLAT SX2 | |
| Includes | TRIM DOOR DESIGNER SX2 | |
| Includes 864803 | MAGNET HALL SW 10X30 | |
| Includes 820845 | BEARING HINGE WATER RH | |
| Includes 864794P | COVER MAGNET DOOR GR | |
| Includes | COVER DOOR HINGE RH SX2 | |
| 14 | 866388P | DR PC 445X1130 FAS SX2 LH HSW |
| Includes 819036P | GASKET ASSY 900 PC 430X1073 LTGY | |
| Includes | TRIM CORNER DOOR FLAT SX2 | |
| Includes | TRIM DOOR DESIGNER SX2 | |
| Includes 864803 | MAGNET HALL SW 10X30 | |
| Includes 820958 | BEARING HINGE WATER LH | |
| Includes 864794P | COVER MAGNET DOOR GR | |
| Includes | COVER DOOR HINGE LH SX2 | |
| 15 | 819036P | GASKET ASSY 900 PC 430X1073 LTGY |
| 16 | 821438 | SOFTCLOSE DOOR IR1 RH |
| 821439 | SOFTCLOSE DOOR IR1 LH |
| REFERENCE | PART NUMBER | PART DESCRIPTION |
| 17 | 821442 | STOP DOOR SC RH |
| 821443 | STOP DOOR SC LH | |
| 18 | 821444 | BEARING DOOR SC |
| 19 | 817825P | SCREW 8X22 WAFER PHIL ST TV (PKT 10) |
| 20 | 837903 | BOBBIN STOP SOFTCLOSE |
| 21 | 837904 | SLEEVE STOP SOFTCLOSE |
| 22 | 864794P | COVER MAGNET DOOR GR |
| includes | SCREW ST 8X5/16 TAB MTS PH NP | |
| 23 | 864803 | MAGNET HALL SW 10X30 |
| 24 | 860795P | BOSS HANDLE FLAT PKD |
| 25 | 820584 | HANDLE D3 642 RF ASSY BRUSHED |
| Includes 819646 | SCREW M5X40 CAP (2) | |
| 26 | 819646P | SCREW M5X40 CAP (PKT 10) |
| 27 | 837014 | PIN FLAPPER TOP |
| 28 | 837039 | HINGE FLAPPER TOP |
| 29 | 837013 | ENDCAP FLAPPER TOP |
| 30 | 837048 | SPRING FLAPPER |
| 31 | 837049 | HINGE FLAPPER BOTTOM |
| 32 | 837050 | CAP FLAPPER BOTTOM |
| 33 | 837038 | ENDCAP FLAPPER BOTTOM |
| 34 | 838291P | INSERT STEEL FLAPPER & HEATER 8W |
| 35 | 837042 | INSULATION FLAPPER |
| 36 | 837015 | BODY FLAPPER 900 |
| 37 | 611933P | SCREW 8X5/8 TA MTS PH H5 ZN (PKT 10) |
WATER DISPENSER HOUSING & DISPLAY MODULE COMPONENTS

| REFERENCE | PART NUMBER | PART DESCRIPTION |
| 1 | 821509P | MOD DISP AS U2 EXT SVC |
| Includes 821293 | FASICA IML WATER DISPENSER | |
| 2 | 821293 | FASICA IML WATER DISPENSER |
| 3 | 838115 | SPIGOT ASSY WATER DISPENSER |
| Includes 837391 | CHECK VALVE SPIGOT WATER | |
| Includes 837390 | ORING SPIGOT WATER DISPENSER | |
| 4 | 837391 | CHECK VALVE SPIGOT WATER |
| 5 | 837390 | ORING SPIGOT WATER DISPENSER |
| 6 | 838114 | LEVER ASSY WATER DISPENSER |
| Includes 821579 | LEVER WATER DISPENSER | |
| Includes 821883 | SPRING LEVER WATER DISPENSER | |
| 7 | 821579 | LEVER WATER DISPENSER |
| 8 | 821883 | SPRING LEVER WATER DISPENSER |
| 9 | 838113 | TRAY DRIP ASSY WATER DISPENSER |
| Includes 821582 | DRIP TRAY CONTAINER | |
| Includes 821583 | DRIP TRAY LID | |
| 10 | 821582 | DRIP TRAY CONTAINER |
| 11 | 821583 | DRIP TRAY LID |
FC DRAWER COMPONENTS

| REFERENCE | PART NUMBER | PART DESCRIPTION |
| 1 | 865538 | TRIM DOOR CORNER KIT MSX2 |
| Includes | TRIM CORNER DOOR FLAT SX2 (8) | |
| Includes | COVER DOOR HINGE RH SX2 | |
| Includes | COVER DOOR HINGE LH SX2 | |
| Includes | TRIM DOOR DESIGNER SX2 (4) | |
| 2 | 866324P | DRAWER FC 900X610 F SX2 HSW |
| Includes 819831P | GASKET FRAME E610 FC | |
| Includes 864794P | COVER MAGNET DOOR GR | |
| Includes 864803 | MAGNET HALL SW 10X30 | |
| Includes 860795 | BOSS HANDLE FLAT (2) | |
| Includes | TRIM CORNER DOOR FLAT SX2 | |
| 3 | 819831P | GASKET FRAME E610 FC |
| 10 | 837233 | BRACKET DOOR FC RH |
| 837234 | BRACKET DOOR FC LH | |
| 11 | 817825P | SCREW 8X22 WAFER PH ST TV (PKT 10) |
| 18 | 837010 | BRACKET MOUNT PINION FC RH |
| 837011 | BRACKET MOUNT PINION FC LH | |
| 19 | 838502P | PINION ANTIRACK FC (2) |
| 21 | 864794P | COVER MAGNET DOOR GR |
| includes | SCREW ST 8X5/16 TAB MTS PH NP | |
| 22 | 864803 | MAGNET HALL SW 10X30 |
| 23 | 837002 | BAR ANTI RACKING 900 FC |
| 25 | 860795P | BOSS HANDLE FLAT PKD |
| 26 | 820585 | HANDLE D3 820 RF ASSY BRUSHED |
| Includes 819646 | SCREW M5X40 CAP (2) | |
| 28 | 819646P | SCREW M5X40 CAP (PKT 10) |
CABINET INTERIOR & EXTERIOR COMPONENTS

| REFERENCE | PART NUMBER | PART DESCRIPTION |
| 1 | 820647 | COVER HINGE TOP IW RH |
| 2 | 817818P | SCREW M5X20 HEX PH ST TV (PKT 10) |
| 3 | 820652 | BRACKET HINGE IW RH ASSY |
| 4 | 821943 | SUPPORT HINGE TOP RH |
| 5 | 855203P | SENSOR KIT ASSY |
| Includes | CONNECTOR BUTT | |
| Includes | HARNESS SENSOR PC | |
| 6 | 821917 | CONNECTOR PCB RAST 8 WAY |
| 7 | 873279 | CONNECTOR RAST 7234-008-500 |
| 8 | 820860 | COVER HINGE TOP IW LH |
| 9 | 820861 | BRACKET HINGE IW LH ASSY |
| 10 | 821944 | SUPPORT HINGE TOP LH |
| 11 | 820737 | WINDOW LED PC |
| 12 | 820736 | HOUSING FRONT LED PC |
| NI | 817816P | SCREW 6 X12 AB TRUSS PH ST TV (PKT 10) |
| 13 | 866791P | MOD LAMP AS INTERCEPTOR NWF SVC |
| 14 | 563774P | MOD WIFI GEA3 LITE SVC |
| 15 | 837193P | COLLET LOCKING CLIP PIC1808R (PKT 2) |
| 16 | 837192 | CONNECTOR WATER ELBOW C 0308W |
| 17 | 883951 | TRIM CORNER SILVER RECESSED |
| 18 | 880656P | SCREW 10GX25CSK SQ SS (PKT 10) |
| 19 | 821446 | BRACKET HINGE SC RH ASSY |
| 821447 | BRACKET HINGE SC LH ASSY | |
| 20 | NOT USED | ITEM NOT USED ON THIS MODEL |
| 21 | 867767P | MOD DISP AS U2 INT WF 8B SVC |
| 22 | 838437 | HARNESS DISPLAY SPARES |
| 23 | 848320P | PC 3W FAN ASSY JST/DCT |
| Includes | DUCT JUNCTION ASSY | |
| Includes | INSULATION DISPLACEMENT TERMINALS | |
| Includes | CONNECTOR IDC UP2 (2) | |
| Includes | LABEL WARNING 12 VOLT DC | |
| Includes | SHEET INSTRUCTION PC FAN ASSY | |
| 24 | 873394 | GASKET FOAM LIGHT |

| REFERENCE | PART NUMBER | PART DESCRIPTION |
| 25 | 820733 | SINGLE LED HOUSING |
| 26 | 820732P | MOD LAMP AS SGL LED ROHS |
| 27 | 875318 | COVER LAMP PC 42 |
| 28 | 837096 | TRACK FLAPPER CABINET |
| 29 | 837140P | SCREW 8X22 WAFER PH SS (PKT 10) |
| 30 | 836700 | SLIDE 305 RH ASSEMBLY RC |
| Includes 836520P | CLIP SLIDE | |
| 836701 | SLIDE 305 LH ASSEMBLY RC | |
| Includes 836520P | CLIP SLIDE | |
| 31 | 836520P | CLIP SLIDE (PKT 2) |
| 32 | 836996 | RETAINER SLIDE PC 900 RH |
| 836997 | RETAINER SLIDE PC 900 LH | |
| 33 | 836998 | RETAINER SLIDE FC 900 RH |
| 836999 | RETAINER SLIDE FC 900 LH | |
| 34 | 836702 | SLIDE 355 RH ASSY RC |
| Includes 836520P | CLIP SLIDE | |
| 836703 | SLIDE 355 LH ASSY RC | |
| Includes 836520P | CLIP SLIDE | |
| 35 | 838200 | SLIDE DRAWER FC MAIN RH |
| 838199 | SLIDE DRAWER FC MAIN LH | |
| 36 | 837047 | TRACK ANTI RACKING FC |
| 37 | 884011 | COVER REED SWITCH ST4 SILVER |
| 38 | 865214P | MOD HALL SWITCH RF |
| 39 | 817834P | SCREW 8X16 HEX WA PH TV MGPH RC (PKT 10) |
| 40 | 818843 | RETAINER WHEEL STEEL |
| 41 | 847316P | RETAINER WHEEL STEEL KIT |
| Includes | RETAINER WHEEL STEEL | |
| Includes | SCREW 8-32X8 TY T PAN PH TV | |
| Includes | ROLLER FOOT FRONT | |
| Includes | PIN ROLLER PLATED | |
| 42 | 813481 | BOLT BLIND END HINGE BRACKET |
| 43 | 818535 | FOOT LEVELLING ASSEMBLY RC |
| Includes | WHEEL LEVELLING FOOT ASSY | |
| Includes | BASE LEVELLING FOOT |
SHELF COMPONENTS

| REFERENCE | PART NUMBER | PART DESCRIPTION |
| 7 | 837117P | SHELF GLASS PC 900 ASSY SC (2) |
| Includes 836569 | PLUG STIFFENER SHELF RH | |
| Includes 836570 | PLUG STIFFENER SHELF LH | |
| Includes 836567 | PLUG TRIM SHELF RH | |
| Includes 836568 | PLUG TRIM SHELF LH | |
| Includes | TRIM SHELF PC 900 SC | |
| Includes | STIFFENER SHELF PC 900 SC | |
| 8 | 836978 | LID HUMIDITY CONTROL 900 |
| 9 | 837116P | SHELF GLASS HCL 900B ASSY SC (1) |
| Includes 836569 | PLUG STIFFENER SHELF RH | |
| Includes 836570 | PLUG STIFFENER SHELF LH | |
| Includes 836567 | PLUG TRIM SHELF RH | |
| Includes 836568 | PLUG TRIM SHELF LH | |
| Includes 837104 | RETAINER HCL FRONT 900 464MM | |
| Includes | TRIM SHELF HCL 900 SC | |
| Includes | STIFFENER SHELF PC 900 SC | |
| Includes 881268 | BRACKET HCL SUPPORT B GL SH (2) | |
| Includes 836978 | LID HUMIDITY CONTROL 900 | |
| Includes 836631 | SLIDE CONTROL HUMIDITY RH | |
| Includes 836633 | SLIDE CONTROL HUMIDITY LH | |
| Includes 836632 | GUIDE CONTROL HUMIDITY RH | |
| Includes 836634 | GUIDE CONTROL HUMIDITY LH | |
| 10 | 837104 | RETAINER HCL FRONT 900 464MM |
| 11 | 836631 | SLIDE CONTROL HUMIDITY RH |
| 836633 | SLIDE CONTROL HUMIDITY LH | |
| 12 | 836632 | GUIDE CONTROL HUMIDITY RH |
| 836634 | GUIDE CONTROL HUMIDITY LH | |
| 13 | 881268 | BRACKET HCL SUPPORT B GL SH |
| 22 | 836971 | BIN MEDIUM 900 |
| 24 | 836973 | TRAY SLIDING 900 |
| 25 | 836970 | BIN SMALL 900 |
| 26 | 836995 | BIN FC 900 |
| 27 | 819416 | HOOK TRAY TO BIN |
| 28 | 837040 | RETAINER SLIDE TRAY |
| 29 | 860593 | BOTTLE HOLDER SINGLE |
ICE MAKER & ICE BIN COMPONENTS

| REFERENCE | PART NUMBER | PART DESCRIPTION |
| 1 | 836929 | SCOOP ICE |
| 2 | 837030 | BIN ICE 900 |
| 3 | 836936 | SPIGOT FILL ICE MAKER |
| 4 | 836915 | HOUSING ICE MAKER |
| 5 | 820833P | ICEMAKER ASSY LARGE |
| Includes 820841 | ICE TRAY AUTO LARGE | |
| Includes 836910 | LEVER GEAR BOX ICE | |
| Includes 836915 | HOUSING ICE MAKER | |
| Includes 836934 | GEARBOX ICE MAKER | |
| Includes 836948 | SCREW 6X12 PAN PH SS | |
| 6 | 836934 | GEARBOX ICE MAKER |
| 7 | 836912 | LEVER BIN DETECT |
| 8 | 836948P | SCREW 6X1/2 PAN PH SS (PKT 10) |
| 9 | 836910 | LEVER GEAR BOX ICE |
| 11 | 820841 | ICE TRAY AUTO LARGE |
| 12 | 836909 | FOAM CLIP SENSOR |
| 13 | 837180 | CLIP SENSOR ICE TRAY |
| 14 | 321107 | ICE MAKER SENSOR LEAD WIRE KIT |
| Includes | SENSOR THERMISTOR ICE MAKER | |
| Includes | CONNECTOR IDC UY2 – 3MS | |
| 15 | 821689P | ICE FILL TUBE HEATER KIT MK2 |
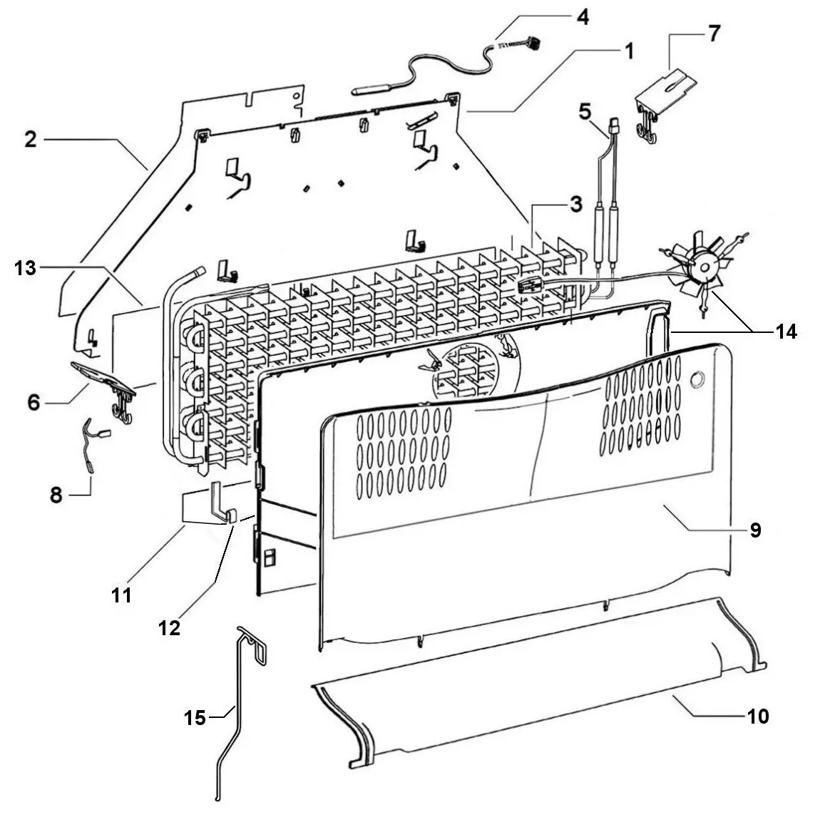
FAN, COVER & EVAPORATOR COMPONENTS

| REFERENCE | PART NUMBER | PART DESCRIPTION |
| 1 | 814475 | CHASSIS EVAP 790B |
| 2 | 884315 | DEFLECTOR HEAT 790B |
| 3 | 837336P | EVAP ASSY 790B 230V DP |
| Includes | EVAPORATOR FINNED 790 R600A | |
| Includes 814475 | CHASSIS EVAP 790B | |
| Includes 814713 | SHIELD EVAP CHASSIS 790B | |
| Includes 884315 | DEFLECTOR HEAT 790B | |
| Includes 821877 | HEATER DEFROST DBLE 230V 790 | |
| Includes 820604 | CLIP EVAP BAFFLE | |
| Includes 813992 | CLIP ACTIVE SMART BAFFLE | |
| Includes 820835 | CLIP DEFROST HEATER B SHORT (2) | |
| Includes 814460 | HARNESS EARTH 100MM | |
| Includes 821255 | CABLE TIE 200MMX3.6 | |
| 4 | 855203P | SENSOR KIT ASSY ACTV SM |
| Includes | HEATSHRINK 25MM | |
| Includes | HARNESS SENSOR PC | |
| Includes | CONNECTOR BUTT (2) | |
| Includes | SHEET INSTRUCTN BUTT CONNECTORS | |
| 5 | 821877 | HEATER DEFROST DBLE 230V 790 |
| NI | 821745 | COVER PLUG TYCO |
| 6 | 813992 | CLIP ACTIVE SMART BAFFLE |
| 7 | 820604 | CLIP EVAP BAFFLE |
| 8 | 814460 | HARNESS EARTH 100MM |
| 9 | 873395 | COVER FAN FC FRONT E790B |
| 10 | 836595 | DUCT RETURN AIR FC 790 |
| 11 | 883783 | SHIELD FC REAR COVER 790 |
| 12 | 820835 | CLIP DEFOST HEATER B SHORT |
| 13 | 814713 | SHIELD EVAP CHASSIS |
| 14 | 848316P | FAN FC 3W KIT 790 SERIES A TO |
| Includes 880279 | SHIELD HEATER FC COVER 790 | |
| Includes | COVER FAN FC REAR 790 | |
| Includes | CONNECTOR IDC UP2 (2) | |
| Includes | LABEL WARNING 12 VOLT DC | |
| Includes | FAN DC SUSPENDED FC ASSY | |
| 15 | 821251 | WIRE DRAIN HEATER DOUBLE B |
WATER TANK & DUCT COVER COMPONENTS

| REFERENCE | PART NUMBER | PART DESCRIPTION |
| 1 | 836849 | COVER DUCT TOP WATER |
| 2 | 836846 | TANK DISPENSER ASSEMBLY |
| Includes | CAP TANK DISPENSER | |
| Includes | BASE TANK DISPENSER | |
| Includes | BAFFLE TANK DISPENSER | |
| 3 | 836857 | TUBE FILTER WATER 1/4 OD 4M WH |
| 4 | 837139 | TUBE WATER TANK INLET 900 |
| 5 | 837020 | COVER DUCT PC 900B |
| 6 | 837021 | INSULATION COVER DUCT 900B |
| 7 | 813287 | GRILLE PC RETURN AIR B MODEL |
| 8 | 872823 | INSULATION INSERT PID |
| 9 | 855203P | SENSOR KIT ASSY ACTV SM |
| Includes | HARNESS SENSOR THERMISTOR PC | |
| Includes | CONNECTOR BUTT (2) |
TERMINAL, PLUGS & SOCKETS

| FERENCE | PART NUMBER | PART DESCRIPTION | COMMENTS |
| 1 | 819607P | TERMINAL SYF-01T PKT 10 | 26/20 AWG |
| 819608P | TERMINAL SYF-41T PKT 10 | 20/16 AWG | |
| 2 | 819609P | PIN/TERM SYM-01T PKT 10 | 26/20 AWG |
| 819610P | PIN/TERM SYM-41T PKT 10 | 20/16 AWG | |
| 3 | 819615 | JST SOCKET 2PIN YLR-02V | |
| 819616 | JST SOCKET 3PIN YLR-03V | ||
| 819617 | JST SOCKET 4PIN YLR-04V | ||
| 819618 | JST SOCKET 6PIN YLR-06VF | ||
| 819619 | JST SOCKET 8 PIN YLR-08V | ||
| 4 | 819611 | JST PLUG 2PIN YLP-02V | |
| 819612 | JST PLUG 4PIN YLP-04V | ||
| 819613 | JST PLUG 6PIN YLP-06V | ||
| 819614 | JST PLUG 8PIN YLP-08V | ||
| 5 | 819620 | RETAINER 2 WAY YLS-02V | |
| 819621 | RETAINER 3 WAY YLS-03V | ||
| 6 | 881588 | CONNECTOR RAST 9290-02-AB01 | MAINS CORD |
| 881589 | CONNECTOR RAST 9290-02-BA01 | DEFROST HEATER | |
| 881590 | CONNECTOR RAST 9290-02-EE01 | RUN CAPACITOR | |
| 7 | 881591 | CONNECTOR RAST 9290-04-EF02 | COMPRESSOR CABLE |
| 8 | 873251 | CONNECTOR RAST 7234-003-500 | |
| 873250 | CONNECTOR RAST 7234-004-500 | ||
| 881135 | CONNECTOR RAST 7234-005-500 | ||
| 873247 | CONNECTOR RAST 7234-006-500 | ||
| 873279 | CONNECTOR RAST 7234-008-500 | ||
| 873248 | CONNECTOR RAST 7234-010-500 | ||
| 873243 | CONNECTOR RAST 7234-012-500 | ||
| 881136 | CONNECTOR RAST 7234-014-500 | ||
| 881137 | CONNECTOR RAST 7234-017-502 | ||
| 9 | 820687P | ADAPTOR JST REC TO MOLEX KIT | |
| Includes 884412 | COVER PLUG MOLEX | ||
| 10 | 820688P | ADAPTOR JST PLUG TO MOLEX KIT | |
| Includes 884412 | COVER PLUG MOLEX |
NOTE: THE NUMBERS IN THE DESCRIPTION OF THE RAST CONNECTOR DENOTES THE NUMBER OF CONNECTIONS – EXAMPLE: 7234-017-502 =17 WAY CONNECTOR
COMPRESSOR & CONTROL MODULE COMPONENTS

| REFERENCE | PART NUMBER | PART DESCRIPTION |
| 1 | 374047P | PANEL BACK & COND 900 SHORT ASSY |
| 2 | 819598 | TUBE EVAP TRAY FORMED H/SHRINK |
| 3 | 815236P | SCREW #12X1/2 CSK PH TV (PKT 10) |
| 4 | 820734 | TRAY EVAP AS |
| 5 | 817817P | SCREW #8X12 SP PAN NIB ST TV (PKT 10) |
| 6 | 207426P | COMPR PKD JIAX VNFB16Y 230V |
| includes | COMPR JIAX VNFB16Y | |
| includes | COVER PROTECTOR JIAX VCC | |
| includes 814843 | FILTER PREBRAZED LONG TAIL | |
| includes | GROMMET COMPR MTG 16.5MM (4) | |
| includes | POST COMP MOUNTING 16.5MM (4) | |
| includes | CLIP FOOT COMPRESSOR (4) | |
| 7 | 207427 | INVERTER JIAX VNFB16Y 230V |
| 8 | 855270P | CLIP FOOT COMPRESSOR (PKT 4) |
| 9 | 849622P | GROMMET 16.5MM KIT 4 PACK |
| includes | POST COMP MOUNTING 16.5MM | |
| includes | GROMMET COMPR MTG 16.5MM | |
| includes | CLIP FOOT COMPRESSOR | |
| 10 | NA | REFER TO ITEM #9 – KIT ONLY |
| 11 | 814843P | FILTER LONG TAIL XH9 12GRM |
| 12 | 837028 | TRAY COMPRESSOR MOUNTING 900 |
| 13 | 817829P | SCREW 8X16 SP PAN NIB TV (PKT 10) |
| 14 | 880911 | BRACKET STABILITY ASSY |
| 15 | 817828P | SCREW 8-32X8 TY T PAN PH TV (PKT 10) |
| 16 | 813271 | CLIP INVERTER MOUNTING |
| 17 | 867800P | MOD CTRL AS WIFI 120-230V SVC |
| 18 | 817837 | CABLE SUPPLY SING/UK |
| 19 | 884242 | HARNESS VCC SIGNAL |
| 20 | 884243 | HARNESS VCC POWER |
| 21 | 821258 | TUBE SUCT CAP ASSY 5/16 ROHS |
| 22 | 820718 | VALVE ICE WATER 16 WATT |
| 23 | 821779 | KIT FILTER WATER 600KPA 85PSI |
| Includes 836848 | CARTRIDGE FILTER WATER | |
| Includes 836855 | HEAD FILTER WATER | |
| Includes 836857 | TUBE FILTER WATER 1/4″ OD WHITE 4M | |
| Includes 821756 | VALVE PRESSURE LIMIT 600KPA 85 | |
| 24 | 836857 | TUBE FILTER WATER ¼” OD WHITE 4M |
| 25 | 836855 | HEAD FILTER WATER |
| 26 | 836848 | CARTRIDGE FILTER WATER |
| 27 | 821756 | VALVE PRESSURE LIMIT 600KPA 85 |
| 28 | 312197 | ADAPTOR TAP-TUBE 1/4″ OD X 1/2″ BSP |
© Fisher & Paykel Appliances 2020. All rights reserved.
The models shown in this guide may not be available in all markets and are subject to change at any time.
The product specifications in this guide apply to the specific products and models described at the date of issue. Under our policy of continuous product improvement, these specifications may change at any time.
For current details about model and specification availability in your country, please go to our website or contact your local Fisher & Paykel dealer.
08.2126486-A 08.21




















