FISHER PAYKEL RB601V18M FP GB IE Refrigerator and Freezer

INTRODUCTION
| BRAND | VOLTAGE | MODEL | PRODUCT CODE | |||
| Fisher & Paykel | 220-240 50Hz | RB60V18M FP GB IE | 26035-A |
MODELS
- The models covered by this manual are listed on the front cover.
- The information detailed in this manual is subject to change without notice. The latest version is indicated by the reprint date and replaces any earlier editions.
KIT PARTS
Where a part number is shown for kit components, they are also available as separate items. In addition, some parts may be supplied with these kits that are not available as separate items, and are therefore either not listed, or a part number is not shown against the part description in this manual.
PARTS LIST KEY
- NI
As a part reference, indicates the part is not illustrated on the diagram. - NOT USED
As a part number, indicates the diagram part reference is not used in this manual. - NS
As a part number, indicates the part is not servicable.
CUSTOMER SERVICE
EU GB
Fisher & Paykel Appliances Ltd UK
tel: 08000 886 605
fax: 08000 886 606
e-mail: uk.[email protected]
www.fisherpaykel.com/uk/
www.fisherpaykel.com/eu/
IE
Fisher & Paykel Appliances
Tel: 1800 625 174
Fax: 1800 635 012
e-mail: [email protected]
www.fisherpaykel.com/ie/
DOOR COMPONENTS
DWG003006
| REFERENCE | PART NUMBER | PART DESCRIPTION |
| 1 | H0060222453 | COVER END PC DOOR |
| 2 | H0060222452 | SWITCH REFRIGERATE |
| 3 | H0060817710 | BRACKET OUTER DOOR MOUNTING |
| 4 | H0060814178 | RAIL TOP MOUNTING BAR |
| 5 | H0060210294 | RAIL DOOR MOUNTING SHORT |
| 6 | H0060212285 | END COVER UPPER HINGE |
| 7 | H0060812438 | HINGE UPPER |
| 8 | H0060210200 | RAIL DOOR MOUNTING LONG |
| 9 | H0060223016 | STOPPER GASKET |
| 10 | H0060833158 | DOOR PC |
| 11 | H0060210289 | COVER DOOR BRACKET |
| 12 | H0060106782 | BRACKET DOOR MOUNTING |
| 13 | H0060833159 | DOOR FC |
| 14 | H0060222453A | COVER END FC DOOR |
| 15 | H0060302770 | GASKET FC |
| 16 | H0060812439 | HINGE LOWER |
| 17 | H0060302769 | GASKET INNER SIDE FC |
| 18 | H0060302768 | GASKET INNER PC |
| 19 | H0060210292 | COVER END LOWER HUNGE |
| 20 | H0060830862 | GASKET PC |
| 21 | H0060835140 | SHELF DOOR UPPER |
| 22 | H0060835153 | SHELF DOOR MIDDLE |
| 23 | H0060835154 | SHELF DOOR LOWER |
| 24 | H0060517318 | BOOKLET USE & CARE |
| 25 | H0060301585 | DOOR MAGNET |
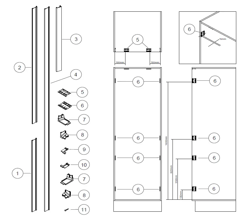
BUILT-IN KIT COMPONENTS
DWG003341
| REFERENCE | PART NUMBER | PART DESCRIPTION |
| 1 | H0060114626B | TRIM SIDE FC HINGED SIDE |
| 2 | H0060114626A | TRIM SIDE PC HINGED SIDE |
| 3 | H0060114625 | TRIM TOP |
| 4 | H0060114626 | TRIM SIDE NON-HINGED SIDE |
| 5 | H0060114628 | CLIP TOP TRIM |
| 6 | H0060114629 | CLIP SIDE TRIM |
| 7 | H0060224899 | CORNER TOP NON-HINGED LH |
| H0060224899A | CORNER TOP NON-HINGED RH | |
| 8 | H0060224900 | CORNER TOP HINGED LH |
| H0060224900A | CORNER TOP HINGED RH | |
| 9 | H0060224901 | TRIM END LH |
| 10 | H0060224901A | TRIM END RH |
| 11 | H0130100516P | SCREW 12X6MM PH CS (PKT 10) |
| NI | 873917 | COVER VENTILATION BUILT IN |
CABINET COMPONENTS
DWG 005172
| REFERENCE | PART NUMBER | PART DESCRIPTION |
| 1 | H0060113353 | BRACKET CABINET FIXING UPPER |
| 2 | H0060222992 | COVER UPPER CABINET |
| 3 | H0060835191 | PANEL DISPLAY |
| 4 | H0060223015A | COVER DISPLAY SMALL |
| 5 | H0060222516A | COVER DISPLAY LARGE |
| 6 | H0060222469 | COVER PC DUCT |
| 7 | H0060222470 | COVER PC DUCT LIGHT |
| 8 | H0064001217 | PCB LED LIGHT |
| 9 | H0060222464 | COVER LED LIGHT |
| 10 | H0060830891 | SLIDE PC BIN |
| 11 | H0060704333 | EVAPORATOR |
| 12 | H0060112808 | TRAY EVAPORATOR |
| 13 | H0060222458 | FOOT LEVELLING |
| 14 | H0060113352 | BRACKET CABINET FIXING LOWER |
| 15 | H0060222989 | STOP CABINET LOWER |
| 16 | H0060222991 | COVER BRACKET |
| 17 | H0060222474 | HOUSING FC FAN |
| 18 | H0064001039A | MOTOR FC FAN |
| 19 | H0060205561 | BLADE FC FAN |
| 20 | H0060222463 | BRACKET FC FAN MOTOR |
| 21 | H0060222473 | COVER FC DUCT |
| 22 | 873917 | COVER VENTILATION BUILT IN |
| NI | H0064001405A | AIR DAMPER CONTROL |
| NI | H0060401425 | CABLE SENSOR PC |
| NI | H0060402181 | DEFROST SENSOR |
| NI | H0060401766 | REF SENSOR (INCLUDES CABLE) |
| NI | H0064001459A | DEFROST HEATER |
| NI | H0060402169A | FUSE WIRE CABLE |
SHELF & DRAWERS COMPONENTS
DWG003008
| REFERENCE | PART NUMBER | PART DESCRIPTION |
| 1 | H0060830888 | SHELF UPPER REAR PC |
| 2 | H0060831987B | SHELF UPPER FRONT PC |
| 3 | H0060831994H | SHELF PC |
| 4 | H0060831994J | SHELF PC LOWER |
| 5 | H0060832871A | BIN PC |
| 6 | H0060832583 | SHELF DRAWER THERMAL |
| 7 | H0060831935A | DRAWER CRISPER ASSY |
| 8 | H0060831936D | DRAWER FC UPPER |
| 9 | H0060832874B | DRAWER FC MIDDLE |
| 10 | H0060831938B | DRAWER FC LOWER |
| 11 | H0060303089 | GLASS FC LARGE |
| 12 | H0060303089A | GLASS FC SMALL |
COMPRESSOR COMPONENTS
DWG003009
| REFERENCE | PART NUMBER | PART DESCRIPTION |
| 1 | H0060704205 | CONDENSER |
| 2 | H0060222476 | TUBE DRAIN |
| 3 | H0060832806 | MODULE CONTROL |
| 4 | H0060832572 | COVER COMPRESSOR COMPARTMENT |
| 5 | H0060704211 | HEATER EVAPORATOR TRAY |
| 6 | H0060222477 | TRAY OVERFLOW |
| 7 | H0064001311B | MOTOR COOLING FAN |
| 8 | H0060222463 | BRACKET COOLING FAN |
| 9 | H0060703738 | COMPRESSOR |
| 10 | H0060702807A | FILTER DRIER |
| 11 | H0060401749D | CABLE POWER |
| 12 | H0060833183 | TRAY COMPRESSOR MOUNTING |
| 13 | H0061800104 | INVERTER BOARD |
© Fisher & Paykel Appliances 2020. All rights reserved.
The models shown in this guide may not be available in all markets and are subject to change at any time.
The product specifications in this guide apply to the specific products and models described at the date of issue. Under our policy of continuous product improvement, these specifications may change at any time.
For current details about model and specification availability in your country, please go to our website or contact your local Fisher & Paykel dealer.
PRODUCT CODE: 26035-A 08.20

























