FISHER PAYKEL RS6019S2R1 Refrigerator User Manual
INTRODUCTION
| BRAND | VOLTAGE | MODEL | PRODUCT CODE |
| Fisher & Paykel | 120-240 50Hz | REFRIG RS6019S2R1 FP EU | 26216-A |
MODELS
The models covered by this manual are listed on the front cover.
The information detailed in this manual is subject to change without notice. The latest version is indicated by the reprint date and replaces any earlier editions.
KIT PARTS
Where a part number is shown against the descriptions for kit components, they are also available as separate items. In addition, some parts may be supplied with these kits that are not available as separate items, and are therefore either not listed, or a part number is not shown against the part description in this manual.
PARTS LIST KEY
| NI | As a part reference, indicates the part is not illustrated on the diagram. |
| NOT USED | As a part number, indicates the diagram part reference is not used in this manual. |
| NS | As a part number, indicates the part is not servicable. |
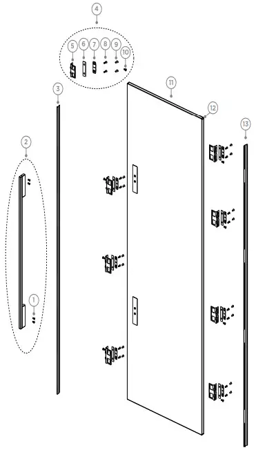
DOOR COMPONENTS

| REFERENCE | PART NUMBER | PART DESCRIPTION |
| 1 | 838158P | NUT M8 HEX MS ZP KIT |
| 2 | 842456P | WASHER M8X21X1.6 ZP KIT |
| 3 | 838153P | BOLT SKIN DOOR BI |
| 4 | 865605P | BRACKET PANEL DOOR RS60 |
| 5 | 846155P | SCREW MC M5X30 PAN PH MS ZP PK |
| 6 | 865291P | COVER TOP DOOR 60CM |
| 7 | 851724 | MAGNET DOOR SWITCH |
| 8 | 865295P | KIT BRACKET MAGNET DOOR 60CM |
| Includes | BRACKET MAGNET DOOR 60CM | |
| Includes | SCREW CAP M5X10 LOW HEAD | |
| 9 | 862027P | SCREW M5X12 CSK TORX ZP KIT |
| 10 | 839226 | HINGE K08 TYPE B |
| 11 | 866399P | KIT PLATE TAPPING BRACKET DR 60CM |
| Includes | PLATE EXT BRACKET DR 60CM | |
| Includes | PLATE TAPPING BRACKET DR 60CM | |
| 12 | 863792P | DOOR RS6019S FOAMED ASSY |
| Includes 866397P | SEAL DIVIDER DOOR RS60 | |
| 13 | 864273P | GASKET DOOR ASSY RS60 ST |
| 14 | 866234P | SHELF DR DAIRY RS60 ASSY |
| 15 | 866235P | SHELF DR MID RS60 ASSY |
| 16 | 866236P | SHELF DR TALL RS60 ASSY |
| 17 | 866397P | SEAL DIVIDER DOOR RS60 |
| 18 | 837843 | HINGE K08 TYPE A |
| 19 | 844897 | BRACKET PANEL DOOR LOCKING |
| 20 | 843453P | WASHER FLAT M6X12X1.2 PKT10 |
| 21 | 841568P | SCREW MC M5X10 PAN PH MS PKT10 |
| 22 | 867470 | KIT FLOW DIVIDER RS60 |
| Includes | SCREW SD 3.9X13 PAN PH ZP | |
| Includes | CAP DIVIDER FLOW DOOR RS60 | |
| Includes | SEAL DIVIDER FLOW DOOR RS60 | |
| Includes | BASE SEAL DIVIDER FLOW DOOR |
DOOR PANEL COMPONENTS

| REFERENCE | PART NUMBER | PART DESCRIPTION |
| 1 | 842292P | SCREW WSH M5X25 KIT |
| 2 | 848303P | KIT HANDLE RD3 852 ASSY |
| Includes 842292P | SCREW WSH M5X25 KIT | |
| 863513P | HANDLE ASSY PRO COLUMNS | |
| Includes 842292P | SCREW WSH M5X25 KIT | |
| 863013P | HANDLE ASSY D5 (SILVER) | |
| Includes 842292P | SCREW WSH M5X25 KIT | |
| 863645P | HANDLE ASSY D5 BLK | |
| Includes 842292P | SCREW WSH M5X25 KIT | |
| 3 | 864931P | TRIM SIDE DR 60 CM |
| 4 | 868492P | KIT TRIM PANEL ATTACH 60CM |
| Includes 845432P | SCREW M5X12 MUSHPH MT STL PKT10 | |
| Includes 868180 | KIT SCREW PANEL ATTACHMENT X25 | |
| Includes 845428P | SCREW M5X12 CSK PH NP PKT10 | |
| Includes 864933P | BRACKET TRIM SIDE DOOR | |
| Includes 867267P | SLIDER BRACKET SKIN DR 60CM | |
| Includes 867266P | SPACER BRACKET SIDE DR 60CM | |
| 5 | 864933P | BRACKET TRIM SIDE DOOR |
| 6 | 867266P | SPACER BRACKET SIDE DR 60CM |
| 7 | 867267P | SLIDER BRACKET SKIN DR 60CM |
| 8 | 868180 | KIT SCREW PANEL ATTACHMENT |
| Includes | SCREW ST 8X5/8 CSK PH AB ZP X25 | |
| 9 | 845428P | SCREW M5X12 CSK PH NP PKT10 |
| 10 | 845432P | SCREW M5X12 MUSHPH MT STL PKT10 |
| 11 | 26221 | DOOR PANEL RD6019 FP AA |
| 12 | 527679P | KIT CORNER FLAT DOOR PKT4 |
| 13 | 867159P | TRIM SIDE HINGE DR 60CM |
SHELVES & BINS AREA

| REFERENCE | PART NUMBER | PART DESCRIPTION |
| 1 | 864926P | TRIM UI RS60 HINGE RH |
| 865599P | TRIM UI RS60 NON HINGE RH | |
| 2 | 611933P | SCREW ST 8X5/8TA MTS PH H5ZNPL |
| 3 | 864327P | MOD DISP RS60 DZ |
| 4 | 563774P | MOD WIFI GEA3 LITE SVC |
| Includes | MODULE WIFI GE LITE PCBA | |
| Includes | HARNESS WIFI RS60 | |
| 5 | 865598P | TRIM UI RS60 HINGE LH |
| 864927P | TRIM UI RS60 NON HINGE LH | |
| 6 | 864538P | RAIL CANTI LH RS60 ASSY |
| includes 840421P | SCREW ST 8X15PH SHOULDER PKT10 | |
| 7 | 840421P | SCREW ST 8X15PH SHOULDER PKT10 |
| 8 | 847036P | SCREW TORX CSK SS 8X16 PKT10 |
| 9 | 864544P | SHELF CANTI RS60 ASSY |
| 10 | 864729P | SHELF FIXED UPR RS60 PC ASSY |
| 11 | 860593 | RACK BOTTLE SINGLE |
| 12 | 863448P | MAT BIN UPR ASSY RS24W |
| 13 | 865271P | BIN ASSEMBLY UC RS60 |
| 14 | 866162P | DIVIDER BIN UC RS60 |
| 15 | 865499P | HCL SHELF ASSEM UPR RS60 |
| 16 | 866160P | COVER SLIDE 223MM LH |
| 17 | 866161P | COVER SLIDE 223MM RH |
| 18 | 865505P | SLIDE 223MM RH ASSY |
| 19 | 865504P | SLIDE 223MM LH ASSY |
| 20 | 866158P | BRACKET SLIDE 223MM LH |
| 21 | 847532P | SCREW M4X16 PLASTITE PH T15 PK |
| 22 | 866159P | BRACKET SLIDE 223MM RH |
| 23 | 865276P | BRACKET HCL RS60 L |
| 24 | 865275P | BRACKET HCL RS60 R |
| 25 | 865045P | BRACKET SLIDE 355MM LEFT |
| 26 | 864824P | BRACKET SLIDE 355MM RIGHT |
| 27 | 836703 | SLIDE 355 LH ASSY |

| REFERENCE | PART NUMBER | PART DESCRIPTION |
| 28 | 836702 | SLIDE 355 RH ASSY |
| 29 | 838615 | COVER SLIDE FC 890 RH |
| 30 | 838804 | COVER SLIDE FC 890 LH |
| 31 | 865010P | HCL LWR RS60 |
| 32 | 865007P | DIVIDER BIN LARGE LC RS60 |
| 33 | 865376P | BIN LARGE ASSEMBLY LC RS60 |
| 34 | 847072 | MAT BIN LWR RS24S WITH BUMPERS |
CABINET INTERIOR COMPONENTS

| REFERENCE | PART NUMBER | PART DESCRIPTION |
| 1 | 863960P | CEILING LIGHT ASSY |
| 2 | 862027P | SCREW M5X12 CSK TORX ZP PK |
| 3 | 862127P | BRACKET HINGE TOP RS60 |
| 4 | 864920P | BRACKET ALCOVE TOP |
| 5 | 845878 | CLIP SENSOR |
| 6 | 813822P | CABINET THERMISTOR KIT |
| 7 | 821745 | COVER PLUG TYCO |
| 8 | 845008P | MOD LAMP AS SMALL SVC |
| 9 | 875318 | COVER LAMP PC P42 |
| 10 | 848120P | SCREW M4X35 PAN TX15 SS PKT10 |
| 11 | 864646P | SHIELD FC COVER |
| 12 | 864370P | COVER DUCT LWR RS6019 ASSY |
| 13 | 844877 | SHIELD DRAIN LWR 30PC |
| 14 | 862891 | HOUSING FAN ASSY WHITE |
| 15 | 866808P | EVAP PC LWR 5 PASS 290MM |
| 16 | 847315 | WIRE DRAIN HEATER RS |
| 17 | 844108 | SHIELD HEAT 30 LWR FC |
| 18 | 864859P | COVER DRAIN UPR ASSY |
| 19 | 847532P | SCREW M4X16 PLASTITE PH T15 PKT10 |
| 20 | 611307P | WASHER PLAIN M5X16 ZNPL PKT10 |
| 21 | 840421P | SCREW ST 8X15PH SHOULDER PKT10 |
| 22 | 865184P | COVER DUCT ASSY UPR RS60F |
| Includes 847363 | NAMEPLATE FP CHROME LETTERS | |
| 23 | 847363 | NAMEPLATE FP CHROME LETTERS |
| 24 | 846243P | HEATER DEF 3PV 30 230V |
| 25 | 866807P | EVAP PC UPR 5 PASS 290MM |
| 26 | 844876 | SHIELD DRAIN UPR 30PC |
| 27 | 844545P | FAN CNTFGL D125 ASSY |
| 28 | 844551 | HOUSING FAN CNTFGL D125 ASSY |
TERMINAL, PLUGS & SOCKETS

| REFERENCE | PART NUMBER | PART DESCRIPTION | COMMENTS |
| 1 | 819607P | TERMINAL SYF-01T PKT 10 | 26/20 AWG |
| 819608P | TERMINAL SYF-41T PKT 10 | 20/16 AWG | |
| 2 | 819609P | PIN/TERM SYM-01T PKT 10 | 26/20 AWG |
| 819610P | PIN/TERM SYM-41T PKT 10 | 20/16 AWG | |
| 3 | 819615 | JST SOCKET 2PIN YLR-02V | |
| 819616 | JST SOCKET 3PIN YLR-03V | ||
| 819617 | JST SOCKET 4PIN YLR-04V | ||
| 819618 | JST SOCKET 6PIN YLR-06VF | ||
| 819619 | JST SOCKET 8 PIN YLR-08V | ||
| 4 | 819611 | JST PLUG 2PIN YLP-02V | |
| 819612 | JST PLUG 4PIN YLP-04V | ||
| 819613 | JST PLUG 6PIN YLP-06V | ||
| 819614 | JST PLUG 8PIN YLP-08V | ||
| 5 | 819620 | RETAINER 2 WAY YLS-02V | |
| 819621 | RETAINER 3 WAY YLS-03V |
PLINTH COMPONENTS

| REFERENCE | PART NUMBER | PART DESCRIPTION |
| 1 | 867107P | FOAM BLOCK REAR |
| 2 | 867857P | FOAM BLOCK REAR BTM |
| 3 | 867108P | FOAM BLOCK SEAL FRONT RS60 |
| 4 | 865405P | COPPER U BEND 60CM |
| 5 | 864398P | TRAY EVAP RS60 KIT |
| 6 | 838855P | FAN CONDENSER 120X25 KIT |
| 7 | 862277P | CONDENSER FOT 213 X 84 3 PASS KIT |
| 8 | 845432P | SCREW M5X12MUSH PH MT ST PKT10 |
| 9 | 862432P | LOCKING PLATE REAR PLINTH RS60 |
| 10 | 867740P | DRAIN TUBE RS60 |
| 11 | 847961P | CLIP SADDLE 9MM PKT 10 |
| 12 | 865861P | CORDSET PWR EU RS60 |
| 13 | 868435P | FILTER DRYER DUAL 5G 60CM |
| 14 | 867103P | REF VALVE TO FILTER ASSY RS60 |
| includes 868435P | FILTER DRYER DUAL 5G 60CM | |
| 15 | 207462P | KIT COMPR EMB VESF7C RS60 230V |
| includes 849622P | GROMMET COMPR MTG 16MM | |
| Includes 207445 | INVTR EMB VESF7C 230V PFC FA | |
| includes 207419 | CLIP R COVER COMP M1.6 S4HPP16 | |
| includes 207310 | COVER PROTECTOR VEM | |
| includes 868435P | FILTER DRYER DUAL 5G 60CM | |
| includes 865116P | TUBE ADAPTOR SUCTION RS60 | |
| 16 | 865116P | TUBE ADAPTOR SUCTION RS60 |
| 17 | 207419 | CLIP R COVER COMP M1.6 S4HPP16 |
| 18 | 849622P | GROMMET 16.5MM KIT 4 PACK |
| includes 855270P | CLIP FOOT COMPRESSOR (PKT 4) | |
| includes 849621P | POST COMP MOUNTING 16.5MM (PKT4) | |
| 19 | 855270P | CLIP FOOT COMPRESSOR (PKT 4) |
| 20 | 849621P | POST COMP MOUNTING 16.5MM (PKT4) |
| 21 | 207310 | COVER PROTECTOR VEM |
| 22 | 207445 | INVTR EMB VESF7C 230V PFC FA |
| 23 | 868327P | ASSY CTRL RS60 DZ KIT |
| 24 | 867442P | SCREW MAT M5X15 HXW PH ZP PKT10 |
| 25 | 865839P | BRACKET INVERTER RS60 |

| REFERENCE | PART NUMBER | PART DESCRIPTION |
| 26 | 847960 | CLIP SADDLE 20MM |
| 27 | 868439P | LEVELLING SYSTEM FRONT RS60 |
| Includes | STIFFENER LEVELLING RS60 | |
| Includes 817834P | PKT SCREW #8X16 HEX | |
| 28 | 868440P | LEVELLING SYSTEM REAR RS60 |
| Includes | STIFFENER LEVELLING RS60 | |
| Includes 817834P | PKT SCREW #8X16 HEX | |
| 29 | 817834P | PKT SCREW #8X16 HEX |
| 30 | 868314P | ROD BK LEVELLING RS60 |
| 31 | 846405 | BLOCKER AIR BYPASS KICKSTRIP |
| 32 | 867265P | MTG PLATE TOE KICK RS60 KIT |
| Includes | TOP SEAL TOE KICK RS60 | |
| 33 | 847176 | TOOL FILTER GE |
| 34 | 867007P | PLUG GRILLE RS60 |
| 35 | 867372P | SEAL FOAM REAR RS60 |
| 36 | 865613P | TRIM BTM HINGE COVER 60CM |
| 37 | 845432P | SCREW M5X12MUSH PH MT ST PKT10 |
| 38 | 865863P | TRIM BTM NON HINGE COVER 60CM |
| 39 | 866132P | FLAP GRILLE FIXED RS60 |
| 40 | 862484P | GRILLE ASSY RS60 KIT |
| includes 845432P | SCREW M5X12MUSH PH MT ST PKT10 | |
| includes 865613P | TRIM BTM HINGE COVER 60CM | |
| includes 865863P | TRIM BTM NON HINGE COVER RS60 | |
| includes 866132P | FLAP GRILLE FIXED RS60 | |
| includes 867372P | SEAL FOAM REAR RS60 |
SINGLE INSTALLATION COMPONENTS

| REFERENCE | PART NUMBER | PART DESCRIPTION |
| 1 | 843934 | BRACKET ANTI TIP ASSY |
| includes | ANTI TIP BRACKET | |
| includes | SCREW 10-12 X 35 WAFER PH ZN | |
| includes | PLUG MASONRY SP630#10X30MM | |
| 2 | 864932 | KIT INSTALLATION RS60 |
| includes 868374 | BRACKET ANTI TIP ASSY 60CM | |
| includes 867469 | KIT HINGE SPACER & DEPTH GAUGE | |
| includes 867861 | KIT DOOR SCREW | |
| includes 867470 | KIT FLOW DIVIDER RS60 | |
| includes 867473 | KIT SCREW ALCOVE ATTACHMENT | |
| includes 867472 | KIT PANEL ATTACH | |
| includes 868180 | KIT SCREW PANEL ATTACHMENT | |
| includes 867860 | KIT UI TRIMS | |
| 3 | 867470 | KIT FLOW DIVIDER RS60 |
| includes | SCREW SD 3.9X13 PAN PH ZP | |
| includes | CAP DIVIDER FLOW DOOR RS60 | |
| includes | SEAL DIVIDER FLOW DOOR RS60 | |
| includes | BASE SEAL DIVIDER FLOW DOOR | |
| 4 | 867472 | KIT PANEL ATTACH |
| Includes 864933P | BRACKET TRIM SIDE DOOR X10 | |
| Includes 867267P | SLIDER BRACKET SKIN DR 60CM X10 | |
| Includes 867266P | SPACER BRACKET SIDE DR 60CM X10 | |
| 5 | 864933P | BRACKET TRIM SIDE DOOR |
| 6 | 867266P | SPACER BRACKET SIDE DR 60CM |
| 7 | 867267P | SLIDER BRACKET SKIN DR 60CM |
| 8 | 867469 | KIT HINGE SPACER & DEPTH GAUGE |
| includes | SCREW- HINGE SPACER TO ALCOVE | |
| includes | ASSY HINGE SPACER RH | |
| includes | ASSY HINGE SPACER LH | |
| includes | RS60 DEPTH GAUGE NON HINGE |

| REFERENCE | PART NUMBER | PART DESCRIPTION |
| 9 | 867860 | KIT UI TRIMS |
| includes 843663 | BOLT LIMITING HINGE K08 | |
| includes 865598P | TRIM UI RS60 HINGE LH | |
| includes 864927P | TRIM UI RS60 NON HINGE LH | |
| includes 864926P | TRIM UI RS60 HINGE RH | |
| includes 865599P | TRIM UI RS60 NON HINGE RH | |
| 10 | 865598P | TRIM UI RS60 HINGE LH |
| 864927P | TRIM UI RS60 NON HINGE LH | |
| 11 | 864926P | TRIM UI RS60 HINGE RH |
| 865599P | TRIM UI RS60 NON HINGE RH | |
| NI | 843663 | BOLT LIMITING HINGE K08 |
| NI | 867861 | KIT DOOR SCREW |
| includes | SCREW MC M5X12 MSH PH ZP X10 | |
| NI | 867473 | KIT SCREW ALCOVE ATTACHMENT |
| includes | SCREW TWINTHREAD 8GX19 X6 | |
| NI | 868180 | KIT SCREW PANEL ATTACHMENT |
| includes | SCREW ST 8X5/8 CSK PH AB ZP X25 |
DOUBLE INSTALLATION COMPONENTS

| REFERENCE | PART NUMBER | PART DESCRIPTION |
| 1 | 26263 | JOINER KIT AJRS19LR FP AA |
| 2 | 865578P | TRIM CENTRE DUAL INSTALL 60CM |
| includes | SCREW M5X12 PH MT STL ZN | |
| 3 | 867476P | KIT BRACKET JOINER TOP |
| includes | BRACKET DUAL CONNECTION TOP | |
| includes 845428P | SCREW M5X12 CSK PH NP PKT10 | |
| 4 | 845428P | SCREW M5X12 CSK PH NP PKT10 |
| 5 | 867915P | KIT BRACKET JOINER REAR |
| includes | BRACKET DUAL PLINTH FNT | |
| includes 840371P | SCREW 8GX16 MUSH WASH (PKT10) | |
| 6 | 840371P | SCREW 8GX16 MUSH WASH (PKT10) |
| 7 | 867477P | KIT BRACKET JOINER PLINTH |
| includes | BRACKET DUAL PLINTH FNT | |
| includes 845432P | SCREW M5X12MUSH PH MT ST PKT10 | |
| 8 | 845432P | SCREW M5X12MUSH PH MT ST PKT10 |
| 9 | 843934 | BRACKET ANTI TIP ASSY |
| includes | ANTI TIP BRACKET | |
| includes | SCREW WS #10X35 T17 WFR PH ZP | |
| includes | PLUG MASONRY SP630#10X30MM | |
| 10 | 864932 | KIT INSTALLATION RS60 |
| includes 868374 | BRACKET ANTI TIP ASSY 60CM | |
| includes 867469 | KIT HINGE SPACER & DEPTH GAUGE | |
| includes 867861 | KIT DOOR SCREW | |
| includes 867470 | KIT FLOW DIVIDER RS60 | |
| includes 867473 | KIT SCREW ALCOVE ATTACHMENT | |
| includes 867472 | KIT PANEL ATTACH | |
| includes 868180 | KIT SCREW PANEL ATTACHMENT | |
| includes 867860 | KIT UI TRIMS | |
| 11 | 867470 | KIT FLOW DIVIDER RS60 |
| includes | SCREW SD 3.9X13 PAN PH ZP | |
| includes | CAP DIVIDER FLOW DOOR RS60 | |
| includes | SEAL DIVIDER FLOW DOOR RS60 | |
| includes | BASE SEAL DIVIDER FLOW DOOR |

STABILITY COMPONENTS

| REFERENCE | PART NUMBER | PART DESCRIPTION |
| 1 | 866506P | KIT ANTI TIP BRKT 60CM |
| includes | ANTI TIP BRKT 60CM LH | |
| includes | ANTI TIP BRKT 60CM RH | |
| includes 867442P | SCREW MAT M5X15 HXW PH ZP PKT10 | |
| 2 | 867442P | SCREW MAT M5X15 HXW PH ZP PKT10 |
© Fisher & Paykel Appliances 2022. All rights reserved.
The models shown in this guide may not be available in all markets and are subject to change at any time.
The product specifications in this guide apply to the specific products and models described at the date of issue. Under our policy of continuous product improvement, these specifications may change at any time.
For current details about model and specification availability in your country, please go to our website or contact your local Fisher & Paykel dealer.
PRODUCT CODE: 26216-A 08.22



















