VERTICAL FREEZER
VERTFREEZ RS4621FLJK2 FP BI
PRODUCT CODE: 26145-B
PARTS MANUAL
INTRODUCTION
| BRAND | VOLTAGE | MODEL | PRODUCT CODE |
| Fisher & Paykel | 220-240 50Hz | VERTFREEZ RS4621FLJK2 FP BI | 26145-B |
MODELS
The models covered by this manual are listed on the front cover.
The information detailed in this manual is subject to change without notice. The latest version is indicated by the reprint date and replaces any earlier editions.
KIT PARTS
Where a part number is shown against the descriptions for kit components, they are also available as separate items. In addition, some parts may be supplied with these kits that are not available as separate items, and are therefore either not listed, or a part number is not shown against the part description in this manual.
Fisher & Paykel Appliances Ltd UK
tel: 08000 886 605
fax: 08000 886 606
e-mail: [email protected]
www.fisherpaykel.com/uk/
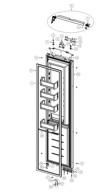
DOOR COMPONENTS

REFERENCE | PART NUMBER | PART DESCRIPTION |
| 1 | 842835P | SHELF DR FC 18F ASSY |
| 2 | 849592P | GASKET DOOR RS18 |
| includes | GASKET SEAL | |
| 3 | 845432P | SCREW M5X12MUSH PH MT ST PKT10 |
| 4 | 842456P | WASHER M8X21X1.6 ZP KIT |
| 5 | 838158P | NUT M8 HEX MS ZP KIT |
| 6 | 843133P | EXTRUSION DOOR TOP RS18 |
| includes 847229 | CAP EXTRUSION DOOR | |
| includes 846179 | STRIP 6 DUAL LOCK TABS | |
| 7 | 847229 | CAP EXTRUSION DOOR |
| 8 | 846179P | STRIP 6 DUAL LOCK TABS PKT 4 |
| 9 | 851724 | MAGNET DOOR |
| 10 | 844632 | BRACKET DOOR MAGNET |
| 11 | 841568P | SCREW MC M5X10 PAN PH MS ZP KI |
| 12 | 841982 | BRACKET ADAPT COL K05 LH |
| 13 | 847953P | SCREW MC M6X10 BTN HEX ZP PKT1 |
| 14 | 838153 | BOLT SKIN DOOR BI |
| 15 | 867829 | BRACKET PANEL DOOR RS18 PC |
| 16 | 865541P | DOOR VIP RS18F FOAMED ASSY |
| Includes 843561 | SEAL DIVIDER DOOR RS18 | |
| 17 | 842890 | BRACKET ADAPT K05 BTM LH |
| 18 | 845914 | BRACKET ADAPT SPACER BTM |
| 19 | 846155P | SCREW MC M5X30 PAN PH MS ZP PK |
| 20 | 846156P | SCREW MC M6X25 PAN PH MS ZP PK |
| 21 | 847957 | CAP FLOW DIVIDER |
| 22 | 848759 | DIVIDER MOUNT ASSEMBLY |
| 23 | 848730 | DUAL LOCK VELCRO TAB 1”X6” |
| 24 | 844897 | BRACKET DR PANEL LOCKING |
| 25 | 843561P | SEAL DIVIDER DOOR RS18 |
DOOR PANEL COMPONENTS

REFERENCE | PART NUMBER | PART DESCRIPTION |
| 1 | 848302P | KIT HANDLE D3 852 ASSY |
| includes 842292P | SCREW WSH M5X25 KIT | |
| includes | ENDCAP | |
| 1 | 848304P | KIT HANDLE EVO 786 ASSY |
| includes 842292P | SCREW WSH M5X25 KIT | |
| includes | ENDCAP | |
| 1 | 848305P | KIT HANDLE EVO2 792 ASSY |
| includes 842292P | SCREW WSH M5X25 KIT | |
| includes | ENDCAP | |
| 1 | 848303P | KIT HANDLE RD3 852 ASSY |
| includes 842292P | SCREW WSH M5X25 KIT | |
| includes | ENDCAP | |
| 2 | 842292P | SCREW WSH M5X25 KIT |
| NI | 845432P | SCREW M5X12MUSH PH MT ST PKT10 (FOR SS PANEL) |
| 3 | 868349P | KIT DOOR TRIM V2 |
| includes | TRIM SIDE DOOR COLUMNS RHS | |
| includes | TRIM SIDE DOOR COLUMNS LHS | |
| 4 | 527679P | KIT CORNER FLAT DOOR PKT4 |
| 5 | 842048P | PANEL DOOR 1884L4D ASSY |
| 6 | 867900 | KIT BRACKET PANEL ATTACH V2 |
| Includes 840371P | SCREW 8GX16 MUSH WASHER HD | |
| Includes 867267 | SLIDER BRACKET SKIN DR 60CM | |
| Includes 864933 | BRACKET TRIM SIDE DOOR 60CM | |
| Includes 867266 | SPACER BRACKET SIDE DR 60CM | |
| 7 | 840371P | SCREW 8GX16 MUSH WASHER HD |
| 8 | 867267 | SLIDER BRACKET SKIN DR 60CM |
| 9 | 864933 | BRACKET TRIM SIDE DOOR 60CM |
| 10 | 867266 | SPACER BRACKET SIDE DR 60CM |
SHELVES & BINS AREA

REFERENCE | PART NUMBER | PART DESCRIPTION |
| 1 | 845274P | BIN ASSY LWR RS18 |
| 2 | 845276P | BIN ASSY LWR ICE RS18 |
| 3 | 836929 | SCOOP ICE |
| 4 | 847283P | BIN ICE CONTAINER RS18 |
| 5 | 845275P | BIN ASSY UPR RS18 |
| 6 | 846892P | SHELF FIXED UPR RS18F ASSY |
| 7 | 843321P | SHELF CANTI 18F ASSY |
| 8 | 849297P | SHELF CANTI HALF ASSY RS18 |
| 9 | 844756 | RAIL CANTI RH |
| 10 | 847036P | SCREW TORX CSK SS 8X16 PKT10 |
| 11 | 843304 | RAIL CANTI LH |
| 12 | 846765 | BRACKET UPPER SHELF |
| 13 | 847532P | SCREW M4X16 PLASTITE PH T15 PKT10 |
| 14 | 843973 | SLIDE 224R SL |
| 843972 | SLIDE 224L SL | |
| 15 | 843977 | SLIDE 337R SL |
| 843976 | SLIDE 337L SL | |
| 16 | 844702 | COVER DIVIDER COLUMNS RS18 |
| 17 | 844713 | END CAP UI RH RS18 |
| 18 | 847486 | GASKET UI END CAP RS18 RH |
| 19 | 865124P | MOD DISP RS18F SVC |
| 20 | 611933P | SCREW ST 8X5/8TA MTS PH H5ZNPL |
| 21 | 844712 | END CAP UI LH RS18 |
| 22 | 847485 | GASKET UI END CAP RS18 LH |
| 23 | 837180 | CLIP SENSOR ICE TRAY |
| 24 | 321107 | ICEMAKER SENSOR LEAD WIRE KIT |
| 25 | 836909 | FOAM CLIP SENSOR |
| 26 | 841488 | KIT ICEMAKER ASSY |
| 27 | 817825P | SCREW #8X22 WAFER PH ST TV PKT10 |
| 28 | 820841 | TRAY ICE AUTO LARGE |
| 29 | 860391 | HOUSING ICE MAKER |
| 30 | 836910 | LEVER GEAR BOX ICE |
| 31 | 836934 | GEARBOX ICE MAKER |
| 32 | 836948P | SCREW 6X1/2 SS PAN PH PKT10 |
| 33 | 860640 | SPIGOT FILL ICE MAKER |
CABINET INTERIOR COMPONENTS

REFERENCE | PART NUMBER | PART DESCRIPTION |
| 1 | 848128 | SPACER COVER DRAIN ASSY |
| 2 | 848120P | SCREW M4X35 PAN TX15 SS PKT10 |
| 3 | 848746 | COVER DRAIN LWR RS18 BRUSHED SS |
| 4 | 840421P | SCREW ST #8X15-M6X12 WASHER KIT |
| 5 | 846732P | CLIP EDGE EARTH TAB AR EPF255 |
| 6 | 814460 | HARNESS EARTH 100MM |
| 7 | 849241P | DUCT CVR SEAL LWR SS RS18 ASSY |
| 8 | 848743 | COVER DRAIN UPR RS18 BRUSHED SS |
| 9 | 849238P | KIT DUCT CVR SEAL UPR SS RS18 ASSY |
| includes | DUCT CVR SEAL UPR SS RS18 ASSY | |
| includes 847363 | NAMEPLATE FP CHROME LETTERS | |
| 10 | 847363 | NAMEPLATE FP CHROME LETTERS |
| 11 | 839474 | HINGE K05-B 115GRAD M6 “S” |
| 12 | 843720 | COVER POCKET HINGE |
| 13 | 843719 | POCKET HINGE TOP LH |
| 14 | 847537 | SPACER BRACKET HINGE TOP |
| 15 | 842944 | BRACKET HINGE TOP RS |
| 16 | 845428P | SCREW M5X12 CSK PH NP PKT10 |
| 18 | 839692P | SCREW M6X16CSK DIN965 PH MS ZP PKT10 |
| 19 | 847675P | TAPE DUALLOCK SJ3540 50MMX10MM |
| 20 | 843931 | TRIM TOP EXTRUSION RS18 |
| 21 | 847006 | BRACKET ALCOVE TOP LH |
| 22 | 845432P | SCREW M5X12MUSH PH MT ST PKT10 |
| 23 | 843574P | ASSY LIGHT CEILING PANEL RS18 |
| 24 | 844551 | HOUSING FAN CNTFGL D125 ASSY |
| 25 | 847532P | SCREW M4X16 PLASTITE PH T15 PK |
| 26 | 848428 | COVER INTEGRATED SIDE LIGHT GR |
| 27 | 849937P | MOD SIDE LIGHT-GR COVER KIT |
| includes | MOD SIDE LIGHT INT COL | |
| includes | COVER INTEGRATED SIDE LIGHT GR |

REFERENCE | PART NUMBER | PART DESCRIPTION |
| 28 | 844545P | FAN CNTFGL D125 ASSY |
| 29 | 845878 | CLIP SENSOR |
| 30 | 813822P | CABINET THERMISTOR KIT |
| 31 | 821745 | COVER PLUG TYCO |
| 32 | 865874P | EVAP EARTH TAB UPR CU CLEAR |
| 33 | 846236P | HEATER DEF 3PV 18 120V |
| 34 | 862917 | HARNESS EARTH DEFROST HEATER |
| 35 | 844103 | SHIELD HEAT 18 UPR FC |
| 36 | 847315 | WIRE DRAIN HEATER RS |
| 37 | 862891 | HOUSING FAN ASSY WHITE |
| 38 | 844104 | SHIELD HEAT 18 LWR FC |
| 39 | 844880 | SHIELD DRAIN UPR 18 FC |
| 40 | 865873P | EVAP EARTH TAB LWR CU CLEAR |
| 41 | 847463 | TUBE ADAPTOR EVAP IN |
| 42 | 842883 | BRACKET PLINTH FRONT LEFT |
| 43 | 845515P | SCREW MC M5X12 HXW NIB ZP PKT10 |
| 44 | 843027 | BRACKET HINGE LOWER LEFT |
| 45 | 848126 | COVER POCKET HINGE 18L |
| 46 | 837842 | HINGE K05-A 115GRAD M6 “S” |
| 47 | 842882 | BRACKET PLINTH FRONT RIGHT |
| 48 | 846972 | HARNESS HUMIDITY SNSR |
| 49 | 563774P | MOD WIFI GEA3 LITE |
| 50 | 843872 | HOUSING SENSOR |
| 51 | 840371P | SCREW 8GX16 MUSH WASHER HD PKT10 |
| 52 | 862641 | HARNESS WIFI GEA WIRE |
| 53 | 851352P | MOD HALL SWITCH RS SVC |
| 54 | 864736P | MOD GEA COMMS V2 SVC |
| 55 | 851381P | MOD HUMIDITY SENSOR W SVC |
TERMINAL, PLUGS & SOCKETS

REFERENCE | PART NUMBER | PART DESCRIPTION | COMMENTS |
| 1 | 819607P | TERMINAL SYF-01T PKT 10 | 26/20 AWG |
| 819608P | TERMINAL SYF-41T PKT 10 | 20/16 AWG | |
| 2 | 819609P | PIN/TERM SYM-01T PKT 10 | 26/20 AWG |
| 819610P | PIN/TERM SYM-41T PKT 10 | 20/16 AWG | |
| 3 | 819615 | JST SOCKET 2PIN YLR-02V | |
| 819616 | JST SOCKET 3PIN YLR-03V | ||
| 819617 | JST SOCKET 4PIN YLR-04V | ||
| 819618 | JST SOCKET 6PIN YLR-06VF | ||
| 819619 | JST SOCKET 8 PIN YLR-08V | ||
| 4 | 819611 | JST PLUG 2PIN YLP-02V | |
| 819612 | JST PLUG 4PIN YLP-04V | ||
| 819613 | JST PLUG 6PIN YLP-06V | ||
| 819614 | JST PLUG 8PIN YLP-08V | ||
| 5 | 819620 | RETAINER 2 WAY YLS-02V | |
| 819621 | RETAINER 3 WAY YLS-03V | ||
| NI | 150807 | TERMINAL REMOVAL TOOL | |
| 855288 | EXTRACTION TOO M ML AMP 1897271 |
PLINTH COMPONENTS

REFERENCE | PART NUMBER | PART DESCRIPTION |
| 1 | 838855P | FAN CONDENSER 120X25 |
| 2 | 843139 | DIVIDER PLINTH REAR |
| 3 | 847176 | TOOL FILTER WATER |
| 4 | 847033 | COVER DIVIDER FRONT |
| 5 | 842779 | DIVIDER PLINTH FRONT |
| 6 | 840371P | SCREW 8GX16 MUSH WASH (PKT10) |
| 7 | 611977P | SCREW ST 8X1/2 SD TRS NIB PH P |
| 8 | 848130 | GROMMET CONDNSR AIR B/PASS |
| 9 | 841929 | LOCKING PLATE REAR PLINTH 18 |
| 10 | 843132P | CONDENSER FOT 200 X 177 2 PASS |
| 11 | 546692P | SCREW ST 8X12MM TAB MTS PKT10 |
| 12 | 846688P | VALVE SANKYO NSCE001RA9 |
| 13 | 841023P | CLIP SPIRE SIZE 8 |
| 14 | 884505 | COVER COMMS PORT |
| 15 | 851247 | HARNESS CORDSET IEC ASSY UK RS |
| 16 | 845861 | TUBE COPPER U-BEND |
| 17 | 847884 | TUBE ADAPTOR VALVE RS18 BENT |
| 18 | 868090P | ASSY CTRL RS WIFI WTR RX SVC |
| includes | ASSY CTRL RS WIFI WTR RX | |
| includes | COVER COMMS PORT | |
| 19 | 842972 | TUBE ADAPTOR PROCESS RS |
| 20 | 842989 | TUBE ADAPTOR SUCTION RS |
| 21 | 207429P | KIT COMPR EMB VESF9C KIT 230V |
| includes 207421 | INVERTER VESF9C 230V PFC FA | |
| includes 207310 | COVER PROTECTOR VEM | |
| includes 207419 | CLIP R COVER COMP M1.6 S4HPP16 | |
| includes 843824P | GROMMET 26MM KIT | |
| includes 845758P | FILTER DRYER DUAL 5G | |
| 22 | 845758P | FILTER DRYER DUAL 5G |
| 23 | 843824P | GROMMET 26MMM KIT |
| includes 841291 | POST COMP MOUNTING 26MM X 4 | |
| inlcudes | GROMMET COMPR MTG 26MM X 4 | |
| includes 855270 | CLIP FOOT COMPRESSOR X 4 | |
| 24 | 855270P | CLIP FOOT COMPRESSOR (PKT 4) |
| 25 | 841291P | POST COMP MTG 26MM PKT X4 |
| 26 | 207419 | CLIP R COVER COMP M1.6 S4HPP16 |

| REFERENCE | PART NUMBER | PART DESCRIPTION |
| 27 | 207310 | COVER PROTECTOR VEM |
| 28 | 207421 | INVERTER VESF9C 230V PFC FA |
| 29 | 849714 | BRACKET INVERTER MOLEX CONN |
| 30 | 842765 | HARNESS INVERTER EMB RS |
| 31 | 846708 | HARNESS EARTH PLINTH |
| 32 | 556082P | SCREW ST M4X12 XTITE HXW PKT10 |
| 33 | 846709 | HARNESS REF VALVE SNSR RS |
| 34 | 842087 | MOUNTING PLATE KICK STRIP 18 |
| 35 | 866753 | KIT TOEKICK MAGNET (4 SETS) |
| Includes | SCREW WS 8X5/8 TWINFST | |
| Includes | MAGNET TOEKICK 36X7MM | |
| 36 | 845432P | SCREW M5X12MUSH PH MT ST PKT10 |
| 37 | 846663 | GRILLE FIXED RS18 LH |
| 38 | 847543 | GRILLE MOVING ASSY RS18 |
| 39 | 846405 | BLOCKER AIR BYPASS KICKSTRIP |
| 40 | 842971 | TUBE DISCHARGE RS18 |
| 41 | 842018 | BRACKET KICK STRIP ADJUSTING |
| 42 | 845740P | CLIP HARNESS HT 151-000367 |
| 43 | 843453P | WASHER FLAT M6X12X1.2 PKT10 |
| 44 | 847984P | SCREW CAP M5X20 NZ PKT10 |
| 45 | 845859 | DRAIN PLINTH |
| 46 | 841476 | TRAY WATER EVAP COLUMNS |
| 47 | 849237P | SCREW AB #8X13 HEX PH PKT10 |
| 48 | 842085 | PLINTH SUPPORT RAIL ASSY |
| 49 | 843475 | ROD BK LEVELLING |
| 50 | 843478 | PLINTH SUPPORT RAIL ASSY BK |
| 51 | 847220 | HEAD FILTER WATER 90 DEG CL |
| 52 | 821756 | VALVE PRESS LIMIT 600KPA 85PSI |
| 53 | 847466 | VALVE BRACKET SINGLE ICEMAKER |
| NI | 851393 | KIT INSTALL FILTER WATER UK |
| Includes 847613 | ADAPTOR TAP 1/4 OD 3/4 BSP | |
| includes 847200 | FILTER WATER REF FWC3 | |
| includes 847700 | CLIP LOCKING I&W | |
| NI | 847700 | CLIP LOCKING I&W |
| NI | 841679 | ADAPTOR 1/4″STEM X7/16″-24 UNS |
| NI | 847200 | FILTER WATER REF FWC3 |
SINGLE INSTALLATION COMPONENTS

REFERENCE | PART NUMBER | PART DESCRIPTION |
| 1 | 868352P | KIT ALCOVE TRIM |
| includes | ASSY ALCOVE TRIM COLUMNS | |
| 2 | 843934 | BRACKET ANTI TIP ASSY |
| includes | ANTI TIP BRACKET | |
| includes | SCREW 10-12 X 35 WAFER PH ZN | |
| includes | PLUG MASONRY SP630#10X30MM | |
| NI | 867906 | KIT INSTALLATION RS V2 |
| Includes | BLOCKER AIR BYPASS KICKSTRIP | |
| Includes | BRACKET ANTI TIP ASSY | |
| Includes | KIT INSTALL FASTENERS | |
| Includes | CAP FLOW DIVIDER | |
| Includes | KIT BOLT LIMITING HINGE K05 | |
| Includes | KIT TOEKICK MAGNET | |
| Includes 867900 | KIT BRACKET PANEL ATTACH V2 | |
| NI | 867900 | KIT BRACKET PANEL ATTACH V2 |
| Includes | SCREW 8GX16 MUSH WASHER HD | |
| Includes | BRACKET TRIM SIDE DOOR 60CM | |
| Includes | SPACER BRACKET SIDE DR 60CM | |
| Includes | SLIDER BRACKET SKIN DR 60CM | |
| NI | 840371P | SCREW 8GX16 MUSH WASH (PKT10) |
| NI | 843662 | BOLT LIMITING HINGE K05 |
| NI | 848192 | KIT INSTALL FASTENERS |
| NI | 848186P | KIT HINGE CHANGE RS18 LH TO RH |
| includes | GRILLE FIXED ASSEMBLY RS18 RH | |
| includes | NUT M5 HEX MS ZP | |
| includes | BRACKET HINGE LOWER RIGHT | |
| includes | POCKET HINGE TOP RH | |
| includes | BRACKET ADAPT K05 BTM RH PC | |
| includes | BRACKET ADAPT COL K05 RH PC | |
| includes | BRACKET ALCOVE TOP RH PC |
DOUBLE INSTALLATION COMPONENTS

| REFERENCE | PART NUMBER | PART DESCRIPTION |
| 1 | 868352P | KIT ALCOVE TRIM |
| includes | ASSY ALCOVE TRIM COLUMNS | |
| 2 | 867910P | KIT DUAL INSTALL |
| includes | TRIM JOINER ASSY COL | |
| includes 867898 | KIT BRACKET JOINER V2 | |
| includes | NUT M6 HEX 10AF FS MS ZNPL | |
| includes | SCREW WSH M6X16 | |
| includes | FLANGE JOINER TRIM COL | |
| includes | JOINER SLEEVE TOP | |
| includes | SCREW M5 25 HEX PH LEAD | |
| 3 | 867898 | KIT BRACKET JOINER V2 |
| includes | NUT M6 HEX 10AF FS MS ZNPL | |
| includes | SCREW WSH M6X16 | |
| includes | FLANGE JOINER TRIM COL | |
| includes | JOINER SLEEVE TOP | |
| includes | SCREW M5 25 HEX PH LEAD | |
| 4 | 843934 | BRACKET ANTI TIP ASSY |
| includes | ANTI TIP BRACKET | |
| includes | SCREW 10-12 X 35 WAFER PH ZN | |
| includes | PLUG MASONRY SP630#10X30MM | |
| NI | 867900 | KIT BRACKET PANEL ATTACH V2 |
| Includes | SCREW 8GX16 MUSH WASHER HD | |
| Includes | BRACKET TRIM SIDE DOOR 60CM | |
| Includes | SPACER BRACKET SIDE DR 60CM | |
| Includes | SLIDER BRACKET SKIN DR 60CM | |
| NI | 847984P | SCREW CAP M5X20 NZ PKT10 |
| NI | 843662 | BOLT LIMITING HINGE K05 |
| NI | 848192 | KIT INSTALL FASTENERS |
| NI | 848186P | KIT HINGE CHANGE RS18 LH TO RH |
| includes | GRILLE FIXED ASSEMBLY RS18 RH | |
| includes | NUT M5 HEX MS ZP | |
| includes | BRACKET HINGE LOWER RIGHT | |
| includes | POCKET HINGE TOP RH | |
| includes | BRACKET ADAPT K05 BTM RH PC | |
| includes | BRACKET ADAPT COL K05 RH PC | |
| includes | BRACKET ALCOVE TOP RH PC |
STABILITY COMPONENTS

REFERENCE | PART NUMBER | PART DESCRIPTION |
| 1 | 847164P | KIT BRACE ANIT TIP |
| includes | BRACE ANTI TIP RH | |
| includes | BRACE ANTI TIP LH | |
| includes | SCREW AB #8X13 HEX PH X 10 |
FISHERPAYKEL.COM
© Fisher & Paykel Appliances 2022. All rights reserved.
The models shown in this guide may not be available in all markets and are subject to change at any time.
The product specifications in this guide apply to the specific products and models described at the date of issue. Under our policy of continuous product improvement, these specifications may change at any time.
For current details about model and specification availability in your country, please go to our website or contact your local Fisher & Paykel dealer.
PRODUCT CODE: 26145-B 06.22



















