203781 Plug 63 A
Installation Guide
WebCode 8579E![]()
- Wide temperature range for use
- High mechanical impact and shock resistance
- Perfect protection against the ingress of liquids and dust
- 3D data available to download from the website
R. STAHL Series 8579/ 12 plugs for Zone 1/ 21 are 4- or 5- pole versions up to 63 A. The floating pins allow them to be inserted and removed quickly and easily. The pivoting strain relief makes it easier to install the cable. Self-cleaning and corrosion-free plug pins made from high-quality materials ensure optimum electrical contact.
Technical Data
| Explosion Protection | |
| Scope of validity | European Union (ATEX) IECEx |
| Application range (zones) | 1 2 21 22 |
| IECEX gas certificate | IECEx PTB 06.0020 |
| IECEx gas explosion protection | Ex db eb IIC T6 … T5 Gb |
| IECEX dust certificate | IECEx PTB 06.0020 |
| IECEx dust explosion protection | Ex tb IIIC T60 °C / T75 °C Db |
| ATEX gas certificate | PTB 01 ATEX 1150 |
| ATEX gas explosion protection | G 112 G Ex db eb IIC T6 … T5 Gb |
| ATEX dust certificate | PTB 01 ATEX 1150 |
| ATEX dust explosion protection | G II 2 D Ex tb IIIC T60 °C / T75 °C Db |
| Certificates | ATEX (PTB), IECEx (PTB), Korea (KGS), Taiwan (ITRI) |
| Explosion protection note | The product label may vary. Series devices have certification according to ATEX and IECEx. |
| Electrical Data | |
| Rated operational voltage AC | 440 to 460 V AC |
| Rated operational current | max. 63 A |
| Rated operational current | 63 A |
| Mechanical service life | > 1×103 mating cycles |
| Type of voltage | Low voltage |
| Frequency range | 60 Hz |
| Ambient Conditions | |
| Ambient temperature | -30 °C … +40 °C (T6) -30 °C … +55 °C (T5) |
Installation Equipment
Plug 63 A
8579/12-411 Art. No. 203781
| Ambient Conditions | |
| Ambient temperature | -22 °F … +104 °F (T60 °C) -22 °F … +131 °F (T75 °C) |
| Mechanical Data | |
| IP degree of protection (IEC 60529) | IP66 |
| IP degree of protection (IEC 60079) | IP66 |
| Enclosure material | Polyamide |
| Silicone-free | Yes |
| Finely stranded connection cross-section | 1 x 2.5 mm2… 1 x 16 mm2 |
| Connection cross-section AWG finely stranded | 1 x AWG 14 … 1 x AWG 6 |
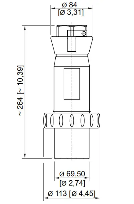
| Width | 113 mm |
| Width in inches | 4.45 in |
| Height | 113 mm |
| Height, inches | 4.45 in |
| Length | 264 mm |
| Length, inches | 10.39 in |
| Impact strength (IEC 60079) | 7 J |
| Impact strength (IEC 62262) | IK10 |
| Colour code | Red |
| Coding (clock hour position) | 11 |
| Series | SolConeX |
| The detailed number of poles | 3 P + PE |
| Weight | 0.94 kg |
| Weight | 2.07 lb |
| Mounting / Installation | |
| Connection | Screw terminal |
| Components | |
| Cable diameter | 24 – 36 mm |
| Cable diameter inch | 0.94 -1.42 in |
Technical Drawings – Subject to Alterations

Position of clock hour position
Example: 6 h position
Dimensional Drawings (All Dimensions in mm [inches]) – Subject to Alterations

Accessories
| Protective cap for plugs 63 A | Art. No. | |
![]() | 4-/5- poles | 153261 |
We reserve the right to make alterations to the technical data, dimensions, weights, designs, and products available without notice. The illustrations cannot be considered binding.
| 2022-10-05 V 0.103 EN | R. STAHL Schaltgeräte GmbH | Am Bahnhof 30 | 74638 WALDENBURG Tel. +49 7942 943 1700 | +49 7942 943 1777 | Email: [email protected] | r-stahl.com |




















