SALTO EM450U00IMB48 XS4 Original+ Door Lock

Installation guide
- Select handing





- Installation



- Battery change

WIRELESS with external door detector


Door detector for Ei4xx…
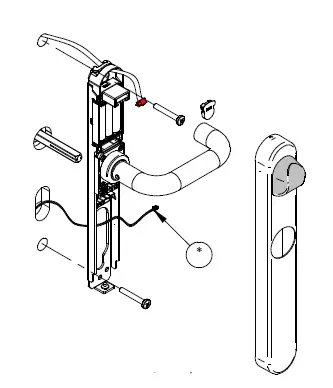
- Entry lock with privacy/ lockout funtion
- Entry lock with privacy/lockout funtion and key override
ELECTRICAL FEATURES
| OPERATING CONDITIONS | |||
| Min. | Max. | ||
| Temperature (OUTSIDE) | -35ºC | 60ºC | |
| Temperature (INSIDE) | With LR03 Batteries | -5ºC | 50ºC |
| With FR03 batteries | -35ºC | 60ºC | |
| Humidity | 0ºC | 95% (Non-Condensing) | |
| SALTO Bulent FEATURES | |
| Frequency Range | 2400-2483.5 MHz |
| Standard | Bluetooth 5.2 Compliant |
| Output TX power | +6 dBm |
| Indoor Range | 10-15m * |
- Depending upon installed environment. To ensure correct operation, do not install the device near a metallic surface.
| RFID CHARACTERISTICS | |
| Central Frequency | 13,56MHz |
PRODUCTS DESCRIPTION
| PRODUCT | TECHNOLOGY | SOFTWARE | |||||||||
|
COMMERCIAL NAME |
MODEL | RFID 13.56 MHz Output max. power | BLUETOOTH SMART 2400–2483.5 MHz Output max. power | IEEE802.15.4 2400–2483.5 MHz Output max. power |
CONTROL |
READER |
BLE MODULE |
RF2 MODULE |
MOTOR | SoC | |
| FUS | BLE Stack | ||||||||||
|
XS4 Original E0102 (A) | W09 | +25 dBm | 0037 | 0132 | |||||||
| W0B | +25 dBm | +8 dBm | 0037 | 0132 | 0136 | ||||||
| W0J | +25 dBm | +8 dBm | 0037 | 0133 | 0136 | ||||||
| W0S | +25 dBm | +2.8 dBm | 0126 | 0132 | – | ||||||
| W09W | +25 dBm | +5 dBm | 0016/0061/0095 | 0132 | 0038/0099 | ||||||
| W0BW | +25 dBm | +8 dBm | +5 dBm | 0016/0095 | 0132/0140 | 0136 | 0038/0099 | ||||
| W0JW | +25 dBm | +8 dBm | +5 dBm | 0016 | 0133 | 0136 | 0038 | ||||
| W08 | +20 dBm | 0037 | 0082 | ||||||||
| W08W | +20 dBm | +5 dBm | 0016/0061 | 0082 | 0038 | ||||||
| XS4 Original with Keypad E1215 (A) | W0BK | +25 dBm | +8 dBm | 0016/0095 | 0132 | 0136 | |||||
| W0JK | +25 dBm | +8 dBm | 0016 | 0133 | 0136 | ||||||
| W0SK | +25 dBm | +2.8 dBm | 0126 | 0132 | – | ||||||
| W0BWK | +25 dBm | +8 dBm | +5 dBm | 0016/0095 | 0132/0140 | 0136 | 0038/0099 | ||||
| W0JWK | +25 dBm | +8 dBm | +5 dBm | 0016 | 0133 | 0136 | 0038 | ||||
| XS4 Original+ E2131 (A) | W40M | +25 dBm | +6 dBm | 0174 | 0179 | 0186 | 0187 | ||||
| W60M | +25 dBm | +6 dBm | 0174 | 0179 | 0186 | 0187 | |||||
| XS4 One+ E2131 (A) | W80M | +25 dBm | +6 dBm | 0174 | 0179 | 0186 | 0187 | ||||
| W60M | +25 dBm | +6 dBm | 0174 | 0179 | 0186 | 0187 | |||||
| XS4 Original i-Button E0127 (B) | W02 | 0023/0024/ 0025 | |||||||||
Hereby, SALTO Systems S.L. (Arkotz Kaela (Pol. Nonbarren), 9 – 20180 Oiartzun– Spain), declares that this access control equipment is in compliance with the essential requirements and other relevant provisions of Directive 2014/53/EU (RED) and 2011/65/EU (RoHS). You will be able to find a copy of the original declaration of conformity at the following Internet address: https://www.saltosystems.com/certificate
ELECTRICAL WARNINGS
EN Caution:
- Risk of explosion if battery is replaced by an incorrect type. Dispose of used batteries according to the instructions.
- Disposal of a battery into fire or a hot oven, or mechanically crushing or cutting of a battery, can result in an explosion.
- Leaving a battery in an extremely high temperature surrounding environment can result in an explosion or the leakage of flammable liquid or gas.
- A battery subjected to extremely low air pressure may result in an explosion or the leakage of flammable liquid or gas.
Distance between this device and human body must be higher than 20 cm.
MECHANICAL WARNINGS
In order to confirm the correct operation of this electronic device, SALTO recommends using it in combination with a lock destined for that use (door mass, frequency of use, fire door, etc.) and that is in good operational conditions. Polished finishes are strongly recommended in seaside environments for a better performance and durability. The environmental conditions mentioned in the data sheets are always referred to non-condensation situations. The Biocote and IA finishes are painted and sharp objects such as rings or metallic key rings or other metallic objects should be avoided during any cleaning process. The SALTO product should be treated with care during the installation process to avoid any aggressive contact that may damage the unit. It may be necessary to loosen the trims mounting during installation. Do not bring the device into contact with oil, paints or acids. Do not paint the door with the mortise lock or electronic device already mounted on the door. CLEANING THE ELECTRONIC DEVICE: a damp cloth with mild soapy water can be used. Never use abrasive soaps or sprays. The black chromium finish (“NE” code) is coated with a protective oil that improves the product conservation. Its presence may increase the appearance of fingerprint traces after the needed product handling. Thus, no cleaning processes are applied at the origin to avoid removing the protective layer. SALTO recommends cleaning the product surfaces with a damp cloth after its manipulation when the installation is finished. For best performance, stainless steel should be cleaned regularly. Note that when the door is closed without the lock having been already programmed, the lock will automatically lock and can only be opened with a Portable Programing Device (PPD). If you have questions or doubts on this, please contact your authorized SALTO supplier.
FCC COMPLIANCE STATEMENT (1)
This device complies with Part 15 of the FCC Rules. Operation is subject to the following two conditions: (1) this device may not cause harmful interference, and (2) this device must accept any interference received, including interference that may cause undesired operation. Changes or modifications not expressly approved by the party responsible for compliance could void the user’s authority to operate the equipment.
Note: This equipment has been tested and found to comply with the limits for a Class B digital device, pursuant to part 15 of the FCC Rules. These limits are designed to provide reasonable protection against harmful interference in a residential installation. This equipment generates, uses, and can radiate radio frequency energy and, if not installed and used in accordance with the instructions may cause harmful interference to radio communications. However, there is no guarantee that interference will not occur in a particular installation. If this equipment does cause harmful interference to radio or television reception, which can be determined by turning the equipment off and on, the user is encouraged to try to correct the interference by one or more of the following measures:
- Reorient or relocate the receiving antenna.
- Increase the separation between the equipment and receiver.
- Connect the equipment into an outlet on a circuit different from that to which the receiver is connected.
- Consult the dealer or an experienced radio/TV technician for help.










ELECTRICAL FEATURES

















