HT40N
ENGINE WATER HEATER
USER MANUAL

SMARTGEN(ZHENGZHOU)TECHNOLOGY CO.,LTD.
HT40N Engine Water Heater
All rights reserved. No part of this publication may be reproduced in any material form (including photocopying or storing in any medium by electronic means or other) without the written permission of the copyright holder.
Applications for the copyright holder’s written permission to reproduce any part of this publication should be addressed to Smartgen Technology at the address above.
Any reference to trademarked product names used within this publication is owned by their respective companies.
SmartGen reserves the right to change the contents of this document without prior notice.
Table 1 Software Version
| Date | Version | Note |
| 2020-05-14 | 1.0 | Original release. |
| 2021-04-26 | 1.1 | 1.Changed the water drain valve; 2.Changed the water drain valve drawing; 3. Changed the font, the format of header and footer; 4. Optimized the translation. |
| 2021-09-16 | 1.2 | Changed the case dimensions in Technical Parameters; optimize the figures of water proof connector, working diagram, installation positions and case dimensions. |
| 2022-08-05 | 1.3 | Changed wiring way, cover picture, installation logic diagram, installation position diagram, operation panel diagram, wiring diagram, case dimensions, added maintenance description. |
OVERVIEW
HT40N Engine Water Heater applies fine cast aluminum enclosure, and flame retardant engineering plastic end cap, which is suitable for engine coolant liquid pre-heating of all types. It is easy and simple to use.
When engine ambient environment is below 4ºC, engine coolant and lubrication oil may condense to solid state at cranking phase, losing lubrication and cooling functions. This may hurt the engine. Therefore, when engine ambient environment is below 4ºC, it shall be added a heater to ensure engine normal cranking and running.
Inside heating tube of heater adopts stainless steel, with strong corrosion resistance. Heater has lamp indicator function, which can clearly indicate Power On and Heating status. There are 3 heating temperatures to select (standard temperature 40ºC; and 50ºC and 60ºC heaters are custom made). This product suits all kinds of engines with displacement (13-25) L. For selecting heater models please login our official website.
PERFORMANCE AND CHARACTERISTICS
- Fine cast aluminum is used for heater enclosure and stainless steel material is used for internal heating tube;
- Coolant liquid temperature is controlled by thermostat switch inside the heater; simple structure and reliable performance;
- Power, Heating, Over heating protection indicators are installed on the panel, which is convenient to observe heater’s working status;
- There is a water drain valve with sealing gasket at the bottom of the heater, it can be used in need;
- Over heating thermostat switch is installed inside, providing dry-heating prevention and over heating protection functions;
- When environment is too high, commissioning operation can be done via Test button;
- This product can work normally in the environment of -40ºC temperature.
TECHNICAL PARAMETERS
Table 2 HT40N Heater Detailed Parameters
| Item | Contents |
| Model | HT40N |
| Rated Power | 4000W |
| Rated Voltage | AC 240V |
| Rated Current | 16.7A |
| Working Voltage | AC 190V~AC277V |
| Applicable Engine Displacement (L) | (13~25)L |
| Thermostat Switch Range | HT40N: Off: (40±3)ºC On: (25±5)ºC |
| HT40N-T50: Off: (50±3)ºC On: (35±5)ºC | |
| HT40N-T60: Off: (60±3)ºC On: (45±5)ºC | |
| Overheating Thermostat Range | Off: (95±3)ºC On: (80±5)ºC |
| Insulating Resistance | ≥50MΩ |
| Electrical Strength | AC 1.5kV 1min, ≤2.5mA |
| Inlet/Outlet Size | 3/4″(φ19mm) |
| Max. Water Pressure | 0.5MPa |
| Protection Level | IP54 |
| Vibration Resistance | (5~8)Hz; Amplitude±7.5mm; Triaxial (8~500)Hz; a=2g; Triaxial |
| Shock Resistance | Half-sine Wave; apeak=50g; Triaxial |
| Working Temperature | -40ºC~+70ºC |
| Storage Temperature | -40ºC~+80ºC |
| Case Dimensions | 389mm×193mm×116mm |
| Weight (Include accessories) | 4.3kg |
PANEL INDICATION


WIRING CONNECTIONS

HEATER INSTALLATION
Please install the heater in vertical direction as the picture shows before using it. Pay attention to the water inlet/outlet directions of heater and meanwhile ensure heater is installed below the lowest point of engine’s water jacket and all air is exhausted, and coolant is fully filled.


NOTE: If there is a W-shaped bend or reverse U-shaped bend during pipe connection, the air accumulated in the pipe cannot be discharged normally, resulting in the liquid cannot be circulated properly. The air dissolved in the liquid will be precipitated during heating and retained in the bend, so on the condition of unsmoothed pipeline, even if by the manual exhaust, it will repeat in the next heating process of air collection. To ensure that the smooth liquid circulation, the hosepipe with an inner diameter of more than 20mm and pipe joints with an inner diameter of more than 15mm should be selected.

OPERATION
7.1 HEATER TEST
When heater is not heating, and overheat indicator is not illuminated, press Test key and it can conduct test heater operation.
7.2 OVERHEAT PROTECTION RESET
When overheat alarm indicator is illuminated, heater goes to overheat protection status. It won’t heat and when heater temperature drops below thermostat reset temperature (25ºC), it again enters heating status.
CAUTION
Before starting the machine, please ensure that all the air is exhausted out of the heater and it is fully filled with coolant. If water is not used and environment temperature is below 0ºC, please drain water off when ordinary water is used. This is to prevent the water in the heater from getting frozen and resulting in heater fracture.
It is recommended to use coolant of corresponding tab of environment temperature.
Please use power line of high temperature resistance.
Earth line must be soundly connected to earth.
Drain valve: Can be opened or closed using hexagonal wrench, adjustable wrench, or a cross screwdriver.
(Unit: mm)

Common Faults and Solutions:
- Overheat protection:
a. Check the valve to assure whether it is opened and whether the heater is full of water;
b. Check whether the hosepipe has an obvious W-shaped or reverse U-shaped trend, and whether there
is an obvious hot and cold alternating area.
Solutions: Shorten the hosepipe length and optimize the hosepipe trend. - High water outlet temperature: It occurs when the hosepipe is too long, both the inner diameter of the hosepipe and the inner diameter of the fitting joints are too small, as well as the water flow is not smooth so that the heat cannot be transferred properly.
Solutions: Shorten the hosepipe length, using the hose with an inner diameter of more than 20mm, and the connectors with an inner diameter of more than 15mm. - Cannot reach the preheating temperature:
a. The heater power is not enough;
b. The cable of the power supply is too long and result in dividing resistance of the cable.
Solutions:
1. Replace the heater whose power matches the engine;
2. Shorten the power cable as possible and increase the cable diameter.
CASE AND INSTALLATION DIMENSIONS

PACKING LIST
Table 3 Packing List
| No. | Item | Model | Number for one unit |
| 1 | Mounting Bracket | ZJ-HT40N | 2 |
| 2 | Flat Gasket | GB/T 95 8 | 8 |
| 3 | Spring Washer | GB/T 93 8 | 8 |
| 4 | Hexagon Nut | GB/T 41 M8 | 8 |
| 5 | Hexagon Head Bolt | GB/T 5781 M8×40 | 8 |
| 6 | User Manual | 1 |
Table 4 Hose and Hydraulic Pipe Fittings
| No. | Item | Model | Number for one unit |
| 1 | Pagoda Joint | BTJT-G3/4-Φ19.5 | 2 |
| 2 | ED Gasket | ED-23.9×29.2×1.5 | 2 |
Table 5 Threaded Fittings
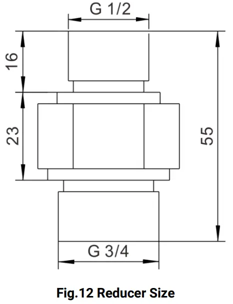
| No. | Item | Model | Number for one unit |
| 1 | Reducer | 1B-08-12/2WD | 2 |
| 2 | ED Gasket | ED-23.9×29.2×1.5 | 2 |
| 3 | ED Gasket | WD-B08 | 2 |
Fittings Selection Illustration:
Pagoda Joint is suitable for crimping connection of rubber hose and hydraulic pipe. Each heater needs 2 Pagoda joints and 2 ED gaskets (ED-23.9×29.2×1.5).
Reducer is suitable for pipe fittings with G1/2 ports. Each heater needs 2 reducers, 2 ED gaskets (ED-23.9×29.2×1.5), and 2 ED gaskets (WD-B08).


SmartGen trademark
SmartGen — make your generator smart
SmartGen Technology Co., Ltd.
No.28 Jinsuo Road, Zhengzhou, Henan Province, China
Tel: +86-371-67988888/67981888/67992951
+86-371-67981000(overseas)
Fax: +86-371-67992952
Web: www.smartgen.com.cn/
www.smartgen.cn/
Email: [email protected]


















