DC Brushless
Barrier Gate
Instruction Manual
BC Series

BC Series DC Brushless Barrier Gate
Warning
Please read this instruction manual carefully before installation, in which contains some important information about installation, usage, maintenance and safety.
Any undefined operation under this instruction is not allowed. Improper usage will result in damage to this product and cause serious injury or property losses.
Please keep this instruction manual properly for future reference.
The design and manufacture of the barrier gate is totally complied with the current standards and regulations.
Considering the possibility of danger, the installation must strictly comply with the following construction standards and electrical operation procedures:
- Before installation, please check if any additional equipment or materials are needed in order to meet the specific requirements.
- The handling of packing materials must comply with local regulations.
- Please do not modify any parts, except for those defined under this instruction manual. Any undefined modification may cause troubles. Any damages to the product arising therefrom shall be beyond the liability of the company.
- Please do not leak water or liquid into the controller or any other open devices. Please disconnect the power immediately if any mentioned cases happened.
- Please keep this product away from heat and open fire. Or it may damage the components; cause the failure or other hazards.
- Nobody is allowed to stand or walk under the barrier boom, especially when it’s on moving. Please do not stand or leave any objects within the boom rotation range of 90° due to the collision by cars.
- Spring adjustment, operation mode setting, induction devices installation must be operated by qualified professionals.
WARRANTY
- To repair against this warranty card and invoice during the warranty period.
- Warranty period: 1 year after the date of invoice.
- Without unauthorized dismantling, any product broken or damage due to quality problem, we’ll offer the repair service for free or replace for free.
- The malfunction and damages caused by incorrect use or man fault is not covered by this warranty.
CONTACT US
E-mail: [email protected]
- Please fill in the order information in the form below.
- All personal information you provided will be only used for warranty service and kept strictly confidential.
- Refer to this list when contacting GATEXPERT for technical service or assistance with your automatic gate opener.
| Order Number | Product Model | Purchase Date | Country / Region |
| Email Address | |||
| Issue Details | |||
Product Outline
On the basis of absorbing essence of similar products at home and abroad, the company has researched and developed this BC series DC brushless barrier gate. This product
adopts international advanced technology, with mechanical and electrical integrated design, which fully realizes automation and intelligence of operating, brings convenience、safety and speed for using.
Functions and Features
- Efficient DC brushless motor and precise gear reducer drive with mechanical and electrical control integrated. More flexible and convenient operation, safe and
reliable for using, completely maintenance free during its service time. - Adopts precise four-bar linkage mechanism and spring balance device which enable the barrier boom work with soft start-slow stop function in fast and stable without any impact. Reduces the driving power in maximum, extends its service life.
- Integrated machine core, small size with large power, wall-mounted installation, easy for assembling and disassembling.
- DC 24V low voltage brushless motor, adapts to global voltage (110~220±15%). It highlights for safer use, less noise, low heat output, frequently use, energy
conservation and environmental protection. - The combination of motor hall encoder and control unit ensures the control to mechanism moving position at the utmost.
- The dedicated controller system has high integration and strong logic performance. It can be connected with any toll system of roads and bridges、parking lots and so on.
- Intelligent speed adjustment efficiently reduces the trembling of the barrier boom, suitable for different occasions.
- High-sensitivity Auto-reverse function will prevent incorrect operation and other crash or hitting accidents.
- Open first anti-smash function: barrier boom will perform opening action once received an opening signal during the closing process.
- Humanized anti-collision boom dropping-out mechanism, when the vehicle accidently hits the barrier boom, the anti-collision mechanism will rotate the boom to avoid
damage to the vehicle and the barrier gate. - High-strength precision cast steel machine case, with outdoor metal powder electrostatic spraying surface treatment, waterproof and dustproof, protection class up to IP54.
Technical Parameter List
| Barrier Gate | BC3015 | BC4020 | BC5035 | BC6050 |
|
Boom Length | Round boom φ75, ≤3m; Octagonal boom 80×46, ≤3m | Round boom φ75, ≤4m; Octagonal boom 80×46, ≤4m | Octagonal boom 100×45, ≤5m | Octagonal boom 100×45, ≤6m |
| Open/Close Time | 1.5 sec | 2.0 sec | 3.5 sec | 5.0 sec |
| Transmission Ratio | 1:60 | 1:120 | ||
| Max. Power | 140w | |||
| Power Supply | AC110-240V± 15% | |||
| Machine Case | 1.5mm Steel Plate | |||
| Machine Case Size (W×D×H) | 332 × 325 × 962mm | |||
| Net Weight | 42kg | |||
| Operating Temperature Range | -40~+60 ℃ (temperature under -20℃ should be equipped with electric heating plate) | |||
| Driving Method | Brushless DC motor + Helical gear reducer | |||
| Protection System(IP) | 54 | |||
| Insulation Class | F | |||
| Relative Humidity | ≤85% | |||
| Motor Unload Speed | 1500r/min | |||
| Service Life | 5 million times | |||
| Remote Control Distance | ≤30m (empty environment, sunny weather) | |||
| Running Noise | <50dB | |||
| Surface Treatment | Outdoor metal powder electrostatic spraying | |||
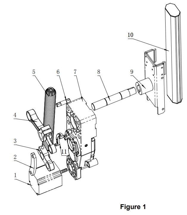
Machine Core Components

- Motor
- Link rod
- Crank arm
- Rocker spring arm
- Spring
- Spring rod(upper)
- Reduction gearbox
- Output shaft
- Boom tray head
- Boom
Installation Direction Definition

Assembly and Installation
6.1 Pre-Installation Check
Note:
- Barrier gate installation must be carried out by qualified technician; Installation must comply with relevant regulations. Before installation, please read this instruction manual carefully.
- Please definite the installation direction of the barrier gate to be leftward or rightward fixed.
- Please make sure that the boom will operate freely without any impediment.
- Please make sure the mounting base is strong enough and the size is suitable.
- Please make sure the installation spots for all the relative equipment are suitable to avoid any collision.
- Please check the accessories according to the packing list (Refer to column 9)
6.2 Basic Structure Installation
- Coil Installation Instruction
:
Position of the induction coil: Generally, the induction coil size would be 2m(L) x 1m(W), its central axis should be right under the barrier boom, please refer to the figure 3.

- Fastening Screws Installation Instruction
:
If the installation site didn’t set with a foundation, then please make sure that the installation ground is strong enough to be fix with the barrier gate. Drill holes for fastening screws with diameter of 16mm, depth of 80mm, drive the M12 x 150mm fastening screw into the hole, then tighten the nut before withdrawing it.
If the installation site is concreted with foundation, please make sure the foundation depth is over 500mm, and the foundation area is over 450 x 450mm. Please pre-bury 3pcs PVC wiring tubes with diameter of 25mm: 1 for induction coil wiring, which should be led towards roadside and should be 50mm underneath the ground. The other 2 tubes are for power supply and control unit wiring. Meanwhile, users can embed 4pcs M12 foundation screws and leave 70mm of the screw thread over the ground, keep a distance of 170 x 170mm; Or users can drill the hole after the foundation hardening, and use the equipped expansion bolts to finalize the installation, please refer to Figure 4. - Barrier Gate Installation Instruction
:
Put the barrier gate in the right place (Keep the boom dropping-out and vehicle passing on the same direction), make sure the barrier gate is vertical to the ground, align the press board to the anchor bolts, lock and fasten them. - Barrier Boom Installation Instruction
:
Place the barrier boom into boom tray, add plastic gasket on both sides, use the spanner to clamp the boom by screws nuts. Please refer to Figure 5.

6.3 Boom Balance Adjustment
The tension of the spring is relative to the boom length, the spring has been assembled in the factory according to the different boom length, also the relative adjustments on boom operating speed 、 operating balance during opening/closing process has been set up before delivery. Spring tense must be re-adjusted by professionals if there were any changes on the boom length or weight. Please check and adjust according to the following steps.
- Open the barrier gate side door and remove the upper cover.
- Unplug the power cord.
- Toggle the crank from the side door to unlock it(refer to column 6.7), manually adjust the boom to the place of 45 degrees then release the hand. If the boom keeps stable on the place of 45 degrees’ angle, indicating that it is with the best spring force.
- If the spring force is too large or too small, then should be adjusted. First, loosen the nut on the top of the spring, clockwise rotating the screw to increase the tension of the spring, counter-clockwise to decrease, then adjust the barrier boom again to its 45degrees’ angle position to check the spring tension.
- Through repeating the above forth step to adjust the boom to its best balance, then fasten the double nuts, adjustment is complete.

6.4 Power Wiring
The power module of the barrier gate has been connected to the control board before delivery. To ensure operational safety and avoid damage to the components, please disconnect the circuit breaker first, and then connect the L and N of AC power into the input port of circuit breaker.

Note: Only professional technicians can engage in the installation and after sales maintenance for this product and are responsible for any damage caused by improper operation.
6.5 Electrify Check
Please close the circuit breaker to connect the power after correctly wired. The indicator light on the control board will be on once the power is connected; After powering on, please press the open/close button on the remote control, barrier gate will automatically detect the opening/closing limit switch (both limit switches are required to be detected). After detecting the opening/closing limit switch, the auto-detecting data will be saved automatically with a long sound of the buzzer, after which, the barrier gate will work normally.
6.6 Vertical Adjustment of Barrier Boom
If the barrier gate boom cannot open to its vertical position or close to its horizontal position. Please take the following steps to adjust it:
- Open the barrier gate door, unplug the power cord.
- Open and remove the upper cover.
- Loosen the two fasten screws on rocker spring arm when the barrier boom is in erect.
Adjust the boom to its horizontal position manually. Use the torque wrench to tighten the two fastening screws (locking force is 72 N·m) - Connect the power to work, check whether the boom opens/closes in place. If not, please re-adjust it after power off until the performance achieving the ideal state.

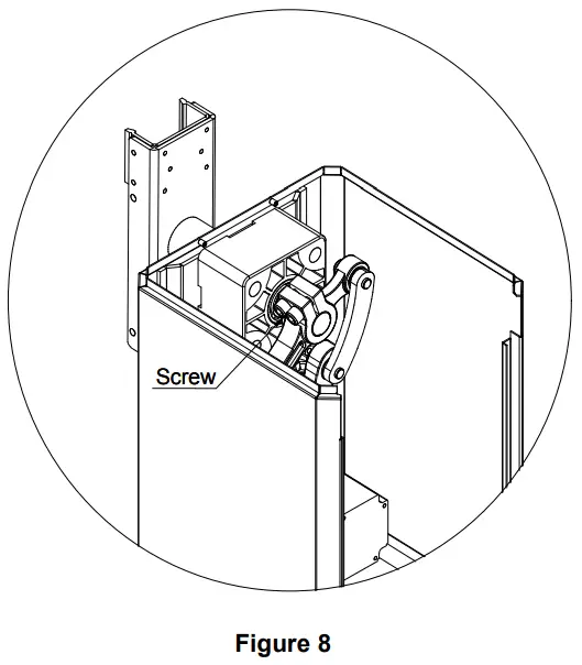
6.7 Manually Open/Close
The barrier boom may stay in the vertical or horizontal position when power is off, by this time the barrier gate mechanism is on its self-locking position. If to manually open/close the boom at this time, please follow the steps as below:
- Open the barrier gate door.
- Unplug the power cord
- For leftward fixed type:
To close when boom in opened position, please counter-clockwise rotate the motor shaft with a specific tool to enable the barrier boom to move, after which barrier boom can be manually pressed down for closing.
To open when boom in closed position, please clockwise rotate the motor shaft with a specific tool to enable the barrier boom to move, after which barrier boom can be manually lifted up for opening. Please refer to Figure 9. - For rightward fixed type:
To close when boom in opened position, please counter-clockwise rotate the motor shaft with a specific tool to enable the barrier boom to move, after which barrier boom can be manually pressed down for closing.
To open when boom in closed position, please clockwise rotate the motor shaft with a specific tool to enable the barrier boom to move, after which barrier boom can be manually lifted up for opening. Please refer to Figure 10.
Note: Please stabilize the boom when manually open it, in order to avoid any unnecessary damage caused by the spring tension.

6.8 Spring Configuration
| Boom Length | Spring |
| 3M Octagonal Boom 80×46 mm | Φ4.5x1pc |
| 4M Octagonal Boom 80×46 mm | Φ5.5x1pc |
| 5M Octagonal Boom 100×45 mm | φ4.5 x1pc; φ5.5 x1pc |
| 6M Octagonal Boom 100×45 mm | φ5.5x2pcs |
Note: If the boom length is shorter than 4m, it’s recommended to use 80x46mm octagonal boom, if longer than 4m, to use 100x45mm octagonal boom.
Control Board Wiring

Warning!
The controller for DC brushless barrier gate is specially designed for the use of low speed and medium speed barrier gates. The place of the running barrier boom is continuously detected by the motor hall, which replaces the limit switches used in conventional barrier control systems.
The combination of the hall encoder and the controller unit ensures the maximum control to the boom optimum running place.
Note!
If some special functions are required, the controller’s connection may differ from which shown in this wiring illustration.
Important Note:
All input signals (like push buttons, limit switches, etc.) must be connected in the volt-free contact way.
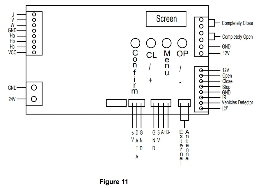
7.1 Wiring Instruction
Motor Port: Insert an 8 ends motor cable port;
Power Port: Insert a 2 ends power cable port;
Close in Place: When the barrier boom is closed in place, the 2 ports will be NC;
Open in Place: When the barrier boom is opened in place, the 2 ports will be NC;
12V+: Output +12V;
GND: Ground;
12V+: Output +12V;
OPEN: OPEN signal input port (another end connects with +12V port);
CLOSE: CLOSE signal input port (another end connects to +12V port);
STOP: Halfway stop during opening or closing signal input port (another end connects to +12V port);
Loop Detector: Loop detector signal input port (NC, automatically close after powering off);
Open in Place Signal NC: Open in place output normal close signal NC;
Close in Place Signal NC: Close in place output normal close signal NC;
Specific Function Description:
- Travel learning: after powering on, press the “close” button on the remote control, after barrier boom closed in place, the buzzer will ring a long beep; then press “open” button on the remote control, after opened in place, the buzzer will ring a long beep again, after which the travel learning is complete. The barrier gate will operate in proper condition.
- Open/Close function: connect +12V and open input ports to send open signal; connect +12V and close input ports to send close signal; connect +12V and stop input ports to send stop signal.
- Loop detector function: connect signal line to the 2 loop detector line ports, after loop detector coil detecting the passing of vehicles, the barrier gate will automatically close.
- Remote control learning: Press the “LEARN BUTTON” on the external receiver, the indicator “LED” will be on, press the same button on the remote control twice, the indicator “LED” will flash and be off, which means the learning is complete. At least 100pcs of remote controls can be paired to each barrier gate.
- Remote control deleting: To delete the paired remote control, please long press the “LEARN BUTTON” on the external receiver until the indicator “LED” is off, after which all paired remote controls are deleted.

7.2Parameter Adjustment
Long press “menu” button on the control board to enter into L mode, press “+” or “-” button to select corresponding Alphabet menu or Number menu, press “menu” to enter into, to adjust the parameters through “+” or “-” buttons, press “menu” again to back to previous menu, after all parameters are set please press “confirm” to finish the adjustment.
Parameter adjustment—3m boom
| Function | Alphabet menu | Number menu | Parameter setting |
| Opening speed | L-1 | L01 | 80 |
| Closing speed | L-2 | L02 | 75 |
| Opening deceleration travel | L-L | L10 | 45 |
| Closing deceleration travel | L-B | L11 | 45 |
Parameter adjustment—4m boom
| Function | Alphabet menu | Number menu | Parameter setting |
| Opening speed | L-1 | L01 | 65 |
| Closing speed | L-2 | L02 | 60 |
| Opening deceleration travel | L-L | L10 | 45 |
| Closing deceleration travel | L-B | L11 | 45 |
Parameter adjustment—5m boom
| Function | Alphabet menu | Number menu | Parameter setting |
| Opening speed | L-1 | L01 | 45 |
| Closing speed | L-2 | L02 | 40 |
| Opening deceleration travel | L-L | L10 | 45 |
| Closing deceleration travel | L-B | L11 | 45 |
Parameter adjustment—6m boom
| Function | Alphabet menu | Number menu | Parameter setting |
| Opening speed | L-1 | L01 | 35 |
| Closing speed | L-2 | L02 | 30 |
| Opening deceleration travel | L-L | L10 | 45 |
| Closing deceleration travel | L-B | L11 | 45 |
Technical Support
If there is any operation failure that can’t be handled by your technical staff, please contact our authorized service representative or professional assistance.
Please provide the barrier gate model, product serial number, controller version and other information when contact us for technical support services, which you can find in the barrier gate machine case model plate.
Packing List
| Numbe | Title | Qty | Picture | Note |
| 1 | Barrier gate machine | 1 |
| Included in machine package |
| 2 | Machine case press board | 2 |
| |
| 3 | Expansion bolt M12 | 4 |
| |
| 4 | Remote control | 2 |
| |
| 5 | Case Key | 2 |
| |
| 6 | Instruction | 1 |
| |
| 7 | Barrier gate boom | 1 |
| Optional, separate package |
| 8 | Boom holder | 1 |
| Optional |
| 9 | Expansion bolt M8 | 4 |
| Optional, for fixing boom holder |
| 10 | Plug-in Machine control | 1 |
| Optional |
Terms of Service
- Two-year free maintenance for the system(barrier gate boom、remote control is not
covered by this warranty) - Lifetime repair guarantee.
- Technical support.
*
The following situations are not covered by free maintenance (or replacement): - Damages to this product caused by installation which is not complied with the instructions under this manual.
- Unstable power supply, the using power supply exceeds the system specified voltage range, and doesn’t meet the national safety power standard, therefore causing the damages to the product.
- Damage to the system appearance due to improper installation or usage.
- Damage to the product due to force majeure such as natural disasters.
- Beyond the warranty period.
- Service items not promised by manufacturer.
The manufacturer reserves the right to modify the technical specifications of the product to meet the latest technological developments with prior notice. This instruction and service terms involved are to the final interpretation of the product manufacturer.
Website: www.gatexpertstore.com
E-mail: [email protected]














