SmartGen HTL Series Engine Oil Heater User Manual
SmartGen — make your generator smart
SmartGen Technology Co., Ltd
No.28 Jinsuo Road, Zhengzhou, Henan Province, China
Tel: +86-371-67988888/67981888/67992951
+86-371-67981000(overseas)
Fax: +86-371-67992952
Email: [email protected]
Web: www.smartgen.com.cn
www.smartgen.cn
All rights reserved. No part of this publication may be reproduced in any material form (including photocopying or storing in any medium by electronic means or other) without the written permission of the copyright holder.
Smartgen Technology reserves the right to change the contents of this document without prior notice.
Table 1 Software Version

OVERVIEW
During cranking, if the outside temperature is lower than 4ºC, engine lubricant may lose its lubricating properties, which can damage the engine. Engine oil heater should be installed to ensure normal starting and running of the engine when the outside temperature is lower than 4 ºC.
HTL series engine oil heater adopt cast stainless steel inner pipes and end closure with high corrosion resistance.
This product is suitable for various engines with (2~110)L engine oil volume.
PERFORMANCE AND CHARACTERISTICS
a) Stainless steel inner pipes and end closure with high corrosion resistance and solid features;
b) The inner pipes have long service life with the benefit of the low power of the unit areas.
c) All-in-one design, compact structure and small volume.
SPECIFICATION
Table 2 Standard Model Parameters

CONNECTIONS
- After open the back cover, please connect the wire according to the label
on the terminal, E: earth line, N: null line, L: live line. - Heat resisting power line is strongly recommended.
- Earth line must be soundly connected to earth.
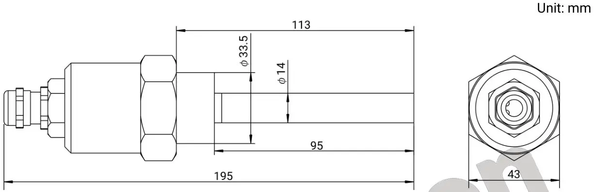
CASE AND INSTALLATION DIMENSIONS

Fig.1 – HTL02A Case and Installation Dimensions

Fig.2 – HTL04A Case and Installation Dimensions


















