FREDRICK RAMOND T24 JA8-2016 Elsa Medium LED Convertible Pendant

Mounting Instructions
- Find a clear area in which you can work.
- Unpack fixture and glass from carton.
- Carefully review instructions prior to assembly.
- Shut off electrical current before starting. If the fixture you are replacing is turned on and off by a wall switch, simply turn the switch off. If not, remove the appropriate fuse (or open the circuit breakers) until the fixture is dead.
- kDO NOT restore current – either by fuse, breaker, or switch – until the new fixture is completely wired and in place.
Stem assembly
- To begin it will be necessary to determine the required length your pendant. If above a table or island the bottom of the glass should be 32” to 36” above the surface.
- Your fixture is supplied with several stem sizes. Determine what combination of stems are needed to achieve the required length
- see Drawing 1. If additional stems are required contact your nearest distributor or visit hinkley.com.
- Begin sliding the stems over the wires of the fixture. Slide the first stem down and thread into the coupler (1) on the top of the fixture shade or body (2). Continue adding stems and threading them together until all necessary stems have been assembled
- Next take the canopy and slip the wires through the center hole of the attached swivel. Slide canopy with swivel along wire and thread end of swivel into last stem.
- Fixture is ready for installation.
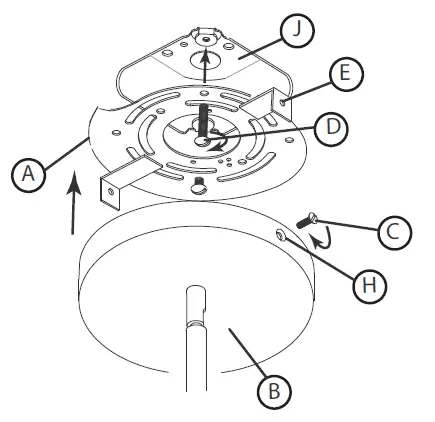
MOUNTING
- To begin installation of your fixture it will first be necessary to remove the mounting plate (A) from the canopy (B). This is accomplished by first removing the two screws (C), located on the side of the canopy. Set screws in a safe place for use later.
- Next attach mounting plate (A) to junction box (J) with two screws (D), NOT PROVIDED.- see Drawing 2.
- Now make all necessary electrical connections following instruction sheet (S-18) provided
- SAFETY WARNING: READ WIRING AND GROUNDING INSTRUCTIONS (I.S. 18) AND ANY ADDITIONAL DIRECTIONS. TURN POWER SUPPLY OFF DURING INSTALLATION. IF NEW WIRING IS REQUIRED, CONSULT A QUALIFIED ELECTRICIAN OR LOCAL AUTHORITIES FOR CODE REQUIREMENTS.
- Make electrical connections from supply wire to fixture lead wires. Refer to instruction sheet (I.S. 18) and follow all instructions to make all necessary wiring connections. Then refer back to this sheet to complete installation of this fixture.
- ATter all connections are made, tuck wires into junction box () and slip backplate (B) over mounting tabs (A) and align threaded holes in tab (AJwith holes (H) in backplate (B).
- Thread in screws (C) removed earlier, and tighten to secure fixture to ceiling.
GLASS INSTALL
- Find a clear area in which you can work.
- Unpack fixture and glass from carton.
- Carefully review instructions prior to assembly.
- First secure top cover (5) to main fixture body (3)
- Next lock glass (4) by lifting glass up toward fixture body (3) and turning to lock into place
- Fixture can now be powered on
Note: To hang fixture as a semi flush secure canopy directly to main fixture body
wiring grounding instructions
SAFETY WARNING: READ WIRING AND GROUNDING INSTRUCTIONS (IS 18) AND ANY ADDITIONAL DIRECTIONS. TURN POWER SUPPLY OFF DURING INSTALLATION. IF NEW WIRING IS REQUIRED, CONSULT A QUALIFIED ELECTRICIAN OR LOCAL AUTHORITIES FOR CODE REQUIREMENTS
wiring instructions
Indoor Fixtures
- Connect positive supply wire (A) (typically black or the smooth, unmarked side of the two-conductor cord) to positive fixture lead (B) with appropriately sized twist on connector – see Drawings 1 or 2


- Connect negative supply wire (C) (typically white or the ribbed, marked side of the two-conductor cord) to negative fixture lead (D).
- Please refer to the grounding instructions below to complete all electrical connections
Outdoor Fixtures
- Connect positive supply wire (A) (typically black or the smooth unmarked side of the two-conductor cord) to positive fixture lead (B) with appropriately sized twist on connector — see Drawings 2 or 3

- Connect negative supply wire (C) (typically white or the ribbed, marked side of the two-conductor cord) to negative fixture lead (D).
- Cover open end of connectors with silicone sealant to form a watertight seal.
If installing a wall mount fixture, use caulk to seal gaps between the fixture mounting plate (backplate) and the wall. This will help prevent water from entering the outlet box. If the wall surface is lap siding, use caulk and a fixture mounting platform specially. - Please refer to the grounding instructions below to complete all electrical connections.
Grounding instructions
Flush Mount Fixtures
For positive grounding in a 3-wire electrical system, fasten the fixture ground wire (E) (typically copper or green plastic coated) to the fixture mounting strap (M) with the ground screw (S) – see Drawing 1
Note: On straps for screw supported fixtures, first install the two mounting screws in strap. Any remaining tapped hole may be used for the ground screw.
Chain Hung Fixtures
Loop fixture ground wire (E) (typically copper or green plastic coated) under the head of the ground screw (S) on fixture mounting strap (M) and connect to the loose end of the fixture ground wire directly to the ground wire of the building system with appropriately sized twist-on connectors – see Drawing 2.
Post-Mount Fixtures
Connect fixture ground wire (E) (typically copper or green plastic coated) to power supply ground with appropriately sized twist-on connector inside post. Cover open end of connector with silicone sealant to form a watertight seal – see Drawing 3.
HINKLEY33000 PinOak Parkway, Avon Lak e, OH 44012800.446.5539/440.653.5500 hinkley.com
















