DS3 Series Microinverter
Installation Guide
Please scan this QR code to have access to our APPs and Product information.
DS3 Series Microinverter Quick Installation Guide
Step 1. Verify that the grid voltage is matching with a microinverter rating
Step 2. Y3 AC Bus Cable distribution
a. Each connector drop of the AC Bus cable shall be matching the position of the microinverter.
b. One end of the AC bus cable is used to access the junction box into the power grid.
c. Wire the conductors of the AC bus:L – BROWN; N – BLUE; PE – YELLOW GREEN(European Standard); or
L1 – BLACK; L2 – RED; PE – GREEN(American Standard).
NOTE: The wiring color code can be different according to the local regulation. Check all the wires of the installation before connecting to the AC bus to be sure they match. Wrong cabling can damage irreparably the microinverters: such damage is not covered by the warranty.
Step 3. Attach the APsystems Microinverters to the Racking
NOTE: Install the microinverters (including DC and AC connectors) under the PV modules to avoid direct exposure to rain, UV, or other harmful weather events. Allow a minimum of 1.5 cm (3/4’’) below and above the casing of the microinverter to allow proper airflow. The racking must be properly grounded as per the local electrical code.
ATTENTION: Do NOT carry the microinverter by the AC cable. This may cause the AC cable to partially or fully disconnect from the unit, resulting in no or poor operation.
a. Mark the location of the microinverter on the rack, with respect to the PV module junction box or any other obstructions.
b. Mount one microinverter at each of these locations using hardware recommended by your module racking vendor.

Step 4. Ground the system
Y3 AC Bus cable has an embedded PE wire: this might be sufficient to ensure proper grounding of the whole PV array. However, in areas with special grounding requirements, external grounding work may still be needed, using the grounding lug supplied with the Microinverter.

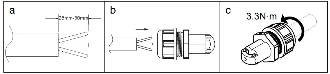
Step 5. Connect the APsystems microinverter to the AC bus cable Insert the microinverter AC connector into the trunk cable connector. Make sure to hear the “click” as proof of a robust connection.
- Best Practice: Use the Bus Cable Unlock Tool of AC Bus to disconnect the connectors.
- NOTE: AC connector interface as follows.

- NOTE: Cover any unused connectors with Bus Cable Y-CONN to protect the unused connectors.

Step 6. Install a Bus Cable End Cap at the end of the AC bus cable
Step 7. Connect APsystems Microinverters to the PV Modules
NOTE: When plugging in the DC cables, the microinverter should immediately blink red one time and green ten times. This will happen as soon as the DC cables are plugged in and will show that the microinverter is
functioning correctly. This entire check function will start and end within 10 seconds of plugging in the unit, so pay careful attention to these lights when connecting the DC cables.
WARNING: Double-check to make sure all of the AC and DC wiring has been correctly installed. Ensure that none of the AC and/or DC wires are pinched or damaged. Make sure that all of the junction boxes are properly closed.
WARNING: Each PV panel must be carefully connected to the same channel.
Make sure to not split positive and negative DC cables into two different input channels: the microinverter will be damaged and the warranty will not apply.
Step 8. Connect APsystems Microinverters to Grid
NOTE:
- Please install bi-polar circuit breakers with properly rated current or according to the local regulation, which is mandatory to connect to the grid.
- Leakage current breakers or AFCI/GFCI breakers are not recommended to install.

Step 9. AC Extension Cable
When AC extension cable is needed, users could connect the AC bus cable and AC extension cable in a junction box or use a pair of male/female AC connectors that APsystems provides as an optional accessory. 
Step 10. Complete the APsystems installation map
a. Each APsystems Microinverter has 2 removable serial number labels.
b. Complete the installation map by sticking the ID label of each microinverter at the right location.
c. The second serial number label, could be stuck on the solar module frame, which could help later to confirm the position of the microinverter without dismantling the PV module.
NOTE:
- The layout of the microinverters’ serial numbers installation map is only suitable for typical installation.
- The installation Map is available in the last page appendix of this manual.
- Use ECU_APP (available in the EMA Manager) to scan the serial numbers on the map when setting up the ECU (see ECU instruction manual for more info).
Product information is subject to change without notice.(Please download manuals at www.APsystems.com).
























