QT2 Microinverter Quick
Installation Guide
QT2 Microinverter
Step 1. Verify that grid voltage matches the microinverter rating
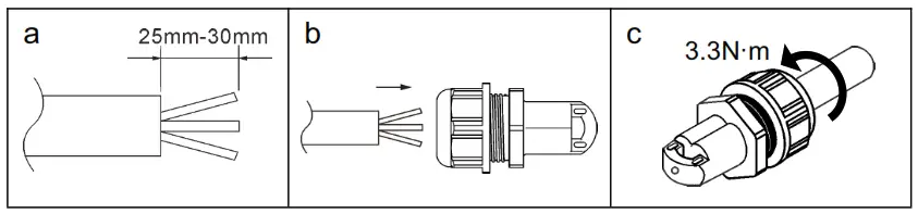
Step 2. Y3 AC Bus Cable distribution
a. Each connector drop of the AC Bus cable matches the position of the microinverter.
b. One end of the AC bus cable is used to access the junction box into the power grid.
c. Wire the conductors of the AC bus: L1 – BROWN; L2 – BLACK; L3 – GRAY(European Standard); or L1 BLACK; L2 – RED; L3 – BLUE(American Standard).
NOTE: The wiring color code can be different according to the local regulation. Check all the wires of the installation before connecting to the AC bus to be sure they match. Wrong cabling can damage irreparably the microinverters: such damage is not covered by the warranty.
Step 3. Attach the APsystems Microinverters to the Racking
NOTE: Install the microinverters (including DC and AC connectors) under the PV modules to avoid direct exposure to rain, UV, or other harmful weather events. Allow a minimum of 1.5 cm (3/4’’) below and above the casing of the microinverter to allow proper airflow. The racking must be properly grounded as per the local electrical code.
ATTENTION: Do NOT carry the microinverter by the AC cable. This may cause the AC cable to partially or fully disconnect from the unit, resulting in no or poor operation.
a. Mark the location of the microinverter on the rack, with respect to the PV module junction box or any other obstructions.
b. Mount one microinverter at each of these locations using hardware recommended by your module racking vendor.

Step 4. Ground the system
There’re 2 ways to ground the QT2 series microinverters.
- By grounding washer attached.
After the microinverters and racking are reliably installed, the microinverter’s grounding washer can connect to the racking to ensure proper earthing. - By grounding copper wire.
Fix the grounding copper wire by the grounding lug.

Step 5. Connect the APsystems microinverter to the AC bus cable
Insert the microinverter AC connector into the trunk cable connector. Make sure to hear the “click” as proof of a robust connection.
- Best Practice: Use the Bus Cable Unlock Tool of AC Bus to disconnect the connectors.

- NOTE: AC connector interface as from left to right.
- NOTE: Cover any unused connectors with Bus Cable Y-CONN Cap to protect the unused connectors.

Step 6. Install a Bus Cable End Cap at the end of AC bus cable

Step 7. Place the PV modules and connect each QT2 to the PV modules
NOTE: When plugging in the DC cables, the microinverter should immediately blink green ten times. This will happen as soon as the DC cables are plugged in and will show that the microinverter is functioning correctly. This entire check function will start and end within 10 seconds of plugging in the unit, so pay careful attention to these lights when connecting the DC cables.
WARNING! Double check to make sure all of the AC and DC wirings have been correctly installed. Ensure that none of the AC and/or DC wires are pinched or damaged. Make sure that all of the junction boxes are properly closed.
WARNING! Each PV panel must be carefully connected to the same channel.
Never split positive and negative cables into two different channels, otherwise, the inverter will be damaged and the warranty will not apply.
NOTE: No neutral wire output from the inverter. Compatible with both Delta and Wye 3-phase grid.

Step 8. Connect APsystems Microinverters to Grid
NOTE:
- Please install bi-polar circuit breakers with properly rated current or according to the local regulation, which is mandatory to connect to the grid.
- Leakage current breakers or AFCI/GFCI breakers are not recommended to install.

Step 9. AC Extension Cable
When an AC extension cable is needed, users could connect the AC bus cable and AC extension cable in a junction box or use a pair of male/female AC connectors that APsystems provides as an optional accessory.

Step 10. Complete the APsystems installation map
a. Each APsystems Microinverter has 2 removable serial number labels.
b. Complete the installation map by sticking the ID label of each microinverter at the right location.
c. The second serial number label, could be stuck on the solar module frame, which could help later to confirm the position of the microinverter without dismantling the PV module.

NOTE:
- The layout of the microinverters’ serial numbers installation map is only suitable for typical Installation.
- The installation Map is available on the last page appendix of this manual.
- Use ECU_APP (available in the EMA Manager) to scan the serial numbers on the map when setting up the ECU (see ECU instruction manual for more info).
Product information is subject to change without notice.
(Please download manuals at www.APsystems.com).
2022/08/04
http://q-r.to/1OrC
References
APsystems Canada | The global leader in multi-platform MLPE technology
APsystems USA | Leading the Industry in Solar Microinverter Technology
APsystems | The global leader in multi-platform MLPE technology
Canada Library – APsystems Canada | The global leader in multi-platform MLPE technology
Library – APsystems USA | Leading the Industry in Solar Microinverter Technology



















