APsystems DS3 series Microinverters Instruction Manual
Important Safety Instructions
This manual contains important instructions to follow during installation and maintenance of the AP systems Photovoltaic Grid-connected Microinverter. To reduce the risk of electrical shock and ensure a safe installation and operation of the AP systems Micro-inverter, the following symbols appear throughout this document to indicate dangerous conditions and important safety instructions.
Specifications are subject to change without notice. Please ensure you are using the most recent update found at
https://emea.apsystems.com/resources/library/
Warning
This indicates a situation where failure to follow instructions may cause a serious hardware failure or personnel danger if not applied appropriately. Use extreme caution when performing this task.
Notice
This indicates information that is important for optimized microinverter operation. Follow these instructions
closely.
Safety Instructions
- Only qualified professionals should install and/or replace APsystems Microinverters.
- Perform all electrical installations in accordance with local electrical codes.
- Before installing or using the APsystems Microinverter, please read all instructions and cautionary markings in the technical documents and on the APsystems Microinverter system and the solar array.
- Do NOT disconnect the PV module from the APsystems Microinverter without first disconnecting the AC power.
- Be aware that the body of the APsystems Microinverter is the heat sink and can reach a temperature of 80°C.
To reduce risk of burns, do not touch the body of the Microinverter. - Do NOT attempt to repair the APsystems Microinverter. If the micro is suspected to be faulty, please contact your local APsystems Technical Support to start troubleshooting and obtain a RMA (Return Merchandise Authorization) number to start the replacement process if needed. Damaging or opening the APsystems Microinverter will void the warranty.
- Caution!
When connecting a microinverter, it is recommended to first connect the AC Bus cable to the ground then connect the AC connector to ensure proper earthing of the micro-inverter, then do the DC connections. When disconnecting a microinverter disconnect the AC by opening the branch circuit breaker first but maintain the protective earthing conductor in the branch circuit breaker connected to the microinverter, then disconnect the DC inputs. - Please install AC breakers on the AC side of the inverter.
Radio Interference Statement
CE EMC Compliance:The AP systems Micro inverter can radiate radio frequency energy. If not installed and used in accordance with the instructions, it may cause harmful interference to radio communication.
AP systems Micro inverter complies with CE EMC regulations, which are designed to provide reasonable protection against harmful interference in a residential installation.
Nonetheless, if the Micro inverter does cause harmful interference to radio or television reception, you are encouraged to try to correct the interferences by one of more of the following measures:
- Reorient or relocate the receiving antenna
- Increase the separation between the Micro inverter and the receiver
- Connect the Micro inverter into an outlet on a circuit different from that to which the receiver is connected
If none of the recommendations suggested above bring significant improvement in terms of interferences, please contact your local APsystems Technical Support.
Symbols replace words on the equipment, on a display, or in manuals
| Caution, risk of electric shock. |
| Caution, hot surface. |
| Symbol for the marking of electrical and electronics devices according to Directive 2002/96/EC. Indicates that the device, accessories and the packaging must not be disposed as unsorted municipal waste and must be collected separately at the end of the usage. Please follow Local Ordinances or Regulations for disposal or contact an authorized representative of the manufacturer for information concerning the decommissioning of equipment. |
| CE mark is attached to the solar inverter to verify that the unit follows the provisions of the European Low Voltage and EMC Directives. |
| Refer to the operating instructions. |
Qualified personnel | Person adequately advised or supervised by an electrically skilled person to enable him or her to perceive risks and to avoid hazards which electricity can create. For the purpose of the safety information of this manual, a “qualified person” is someone who is familiar with requirements for safety, electrical system and EMC and is authorized to energize, ground, and tag equipment, systems, and circuits in accordance with established safety procedures. The inverter and complete system may only be commissioned and operated by qualified personnel. |
AP systems Micro inverter System Introduction
Key elements of an AP systems system
The AP systems Micro inverter is used in utility-interactive grid-tied applications, comprised of three key elements:
- AP systems Microinverter
- AP systems Energy Communication Unit (ECU)
- AP systems Energy Monitor and Analysis (EMA) web-based monitoring and analysis system

The advantages of an APsystems system
This integrated system maximizes solar energy harvest, improves safety, increases system reliability, and simplifies solar system design, installation, maintenance, and management.
AP systems Micro inverters maximize PV energy production
Each PV module has an individual Maximum Peak Power Tracking (MPPT) control, which ensures that the maximum power is produced to the utility grid regardless of the performance of the other PV modules in the array. When PV modules in the array are affected by shade, dust, different orientation, or any situation in which one module under performs compared to the other ones, the AP systems Micro inverter ensures top performance from the array by maximizing the performance of each module individually within the array.
Safety with APsystems Microinverters
In a typical string inverter installation, PV modules are connected in series. The voltage adds-up to reach high voltage value (from 600 Vdc up to 1000 Vdc) at the end of the PV string. This extreme high DC voltage brings a risk of electrical shocks or electrical arcs which could cause fire.
When using an AP systems micro inverter, PV modules are connected in parallel. Voltage at the back of each PV module never exceeds PV modules Voc, which is lower than 60 Vdc for most of PV modules used with AP systems micro inverters. This low voltage is considered “safe to touch” by firemen department and will avoid risk of electrical shock, electrical arcs and fire hazards.
More reliable than centralized or string inverters
The distributed AP systems Micro inverter system ensures that no single point of failure exists across the PV system. AP systems Micro inverters are designed to operate at full power at ambient outdoor temperatures of up to 65 deg C (or 149 F). The inverter case is designed for outdoor installation and complies with the IP67 environmental enclosure rating.
Simple to install
AP systems Micro inverters are compatible with most of 60 and 72 cell PV modules or 120 and 144 half-cut cells PV modules. (In order to confirm compatibility of PV module with AP systems micro inverter, feel free to check our online “E-decider” module compatibility tool or contact your local AP systems Technical Support). Installation requires a minimum number of accessories and micro inverters offer a lot of versatility to the installer:
micro inverters can indeed be installed on different roofs with different orientation or with modules having different orientation.
In the same way, end-user can extend their system whenever they want with micro inverters.
Smart system performance monitoring and analysis
The APsystems Energy Communication Unit (ECU) is installed by simply plugging it into any wall outlet and providing an Ethernet or Wi-Fi connection to a broadband router or modem. After installing and setting the ECU (see ECU Instruction Manual), the full network of AP systems Microinverters automatically reports to the APsystems Energy Monitor and Analysis (EMA) web server.
AP systems Microinverter DS3 series Introduction
Characteristics of the DS3 micro inverter
AP systems 3rd generation of dual micro inverters are reaching unprecedented power outputs of 730VA or 880VA to adapt to today’s larger power module. With 2 independent MPPT, encrypted Zigbee signals, the DS3-L and DS3 benefit from an entirely new architecture and are fully backwards compatible with the QS1 and YC600 micro inverters.
The innovative and compact design make the product lighter while maximizing power production. The components are encapsulated with silicone to reduce stress on the electronics, facilitate thermal dissipation, enhance waterproof properties, and ensure maximum reliability of the system via rigorous testing methods including accelerated life testing. A 24/7 energy access through Apps or web based portal facilitate remote diagnosis and maintenance.
The DS3 series is interactive with power grids through a feature referred to as RPC (Reactive Power Control) to better manage photovoltaic power spikes in the grid. With a performance and an efficiency of 97%, a unique integration with 20% less components, APsystems DS3-L and DS3 are a game changer to residential and commercial PV.
Features of the DS3 micro inverter
Key Product Features:
- One microinverter connects to two PV modules
- Maximum output power reaching 730VA (DS3-L) or 880VA (DS3)
- Two input channels with independent MPPT
- Reactive Power Control
- Maximum reliability, IP67
- Encrypted Zigbee communication
- Safety protection relay integrated
- Single phase microinverter. Possible to install in a balanced 3-phase system
AP systems Micro inverter System Installation
A PV system using AP systems Micro inverters is simple to install. Each Micro inverter easily mounts on the PV racking, directly beneath the PV module(s). Low voltage DC wires connect from the PV module directly to the Micro inverter, eliminating the risk of high DC voltage.
Installation MUST comply with local regulations and technical rules.
Special Statement: we advise to install a RCD breaker only if required by the local electrical code.
Warning
- Perform all electrical installations in accordance with local electrical codes.
- Be aware that only qualified professionals should install and/or replace AP systems Micro inverters.
- Before installing or using an AP systems Micro inverter, please read all instructions and warnings in the technical documents and on the AP systems Micro inverter system itself as well as on the PV array.
- Be aware that installation of this equipment includes the risk of electric shock.
- Do not touch any live parts in the system, including the PV array, when the system has been connected to the electrical grid.
Notice
Even if not required by local electrical code, we strongly recommend to install surge protection devices in the dedicated AC box.
Additional accessories supplied by AP systems
- AC Y3 Bus cable
- AC Y3 Bus Cable End Cap
- AC Y3 Bus Cable Y-CONN Cap
- AC Y3 Bus Cable Unlock Tool
- ECU
- AC connectors male/female
Other required accessories not supplied by AP systems
In addition to your PV array and its associated hardware, you may need the following items:
- An AC connection junction box
- Mounting hardware suitable for module racking
- Sockets and wrenches for mounting hardware
Installation Procedures
Step 1 – Verify that grid voltage is matching with micro inverter rating
Step 2 – Y3 AC Bus Cable distribution
- Each connector drop of the AC Bus cable shall be matching the position of the micro inverter.
- One end of the AC bus cable is used to access the junction box into the power grid.
- Wire the conductors of the AC bus: L – BROWN ; N – BLUE;PE – YELLOW GREEN.
Warning
Wiring color code can be different according to the local regulation. Check all the wires of the installation before connecting to the AC bus to be sure they match. Wrong cabling can damage irreparably the micro inverters: such damage is not covered by the warranty.
Warning
It is strictly prohibited to hand carry the micro inverter by its AC cable.
Step 3 – Attach the AP systems Micro inverters to the Racking
- Mark the location of the micro inverter on the rack, with respect to the PV module junction box or any other obstructions.
- Mount one micro inverter at each of these locations using hardware recommended by your module racking vendor.

Warning
Install the micro inverters (including DC and AC connectors) under the PV modules to avoid direct exposure to rain, UV or other harmful weather events. Allow a minimum of 1.5 cm (3/4’’) below and above the casing of the micro inverter to allow proper air flow. The racking must be properly grounded as per local electrical code.
Step 4 – Ground the system
Y3 AC Bus cable has an embedded PE wire: this might be sufficient to ensure proper grounding of the whole PV array. However in areas with special grounding requirements, external grounding work may still be needed, using the grounding lug supplied with the Micro inverter.
Step 5 – Connect the AP systems micro inverter to AC bus cable
Insert the micro inverter AC connector into the Y3 AC trunk cable connector. Make sure to hear the “click” as a proof of robust connection.
Best Practice: Use the Bus Cable Unlock Tool of AC Bus to disconnect the connectors.
Notice
Please check the microinverter technical specifications (in Appendixes) to confirm the maximum number of micro inverters which can be connected on the same AC branch of the circuit.
AC connector interface as shown below.
Cover any unused connectors with a Bus Cable Y-CONN cap to protect the unused connectors.
Step 6 – Install a Bus Cable End Cap at the end of AC bus cable
- Strip cable jacket.

- Insert the cable end into the seal.

- Insert the wires into the cable clamps.

- Rotate the nut with 3.3N·m until the latching mechanism meets the base.

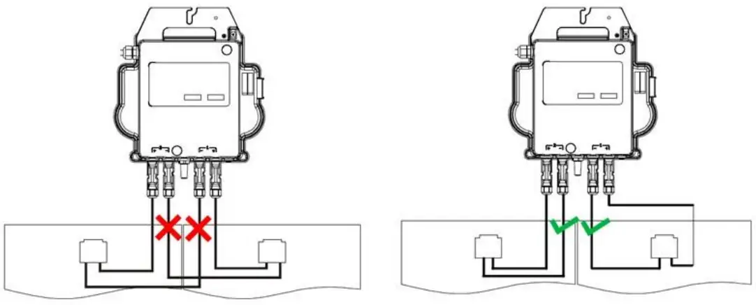
Step 7 – Connect AP systems Micro inverters to the PV Modules
Notice
When plugging in the DC cables, the micro inverter should immediately blink red one time and green ten times. This will happen as soon as the DC cables are plugged in and will show that the micro inverter is functioning correctly. This entire check function will start and end within 10 seconds of plugging in the unit, so pay careful attention to these lights when connecting the DC cables.
Warning
Each PV panel must be carefully connected to the same channel.
Make sure to not split positive and negative DC cables into two different input channels: micro inverter will be damaged and warranty will not apply.
Step 8 – Complete the AP systems installation map
- Each AP systems Micro inverter has 2 removable serial number labels.
- Complete installation map by sticking ID label of each micro inverter at the right location.
- The second serial number label, could be stuck on the solar module frame, which could help later to confirm the position of the micro inverter without dismantling the PV module.

Notice
- The layout of the micro inverters’ serial numbers installation map is only suitable for typical installation
- Installation Map is available in the last page appendix of this manual.
- Use ECU_APP (available in the EMA Manager APP) to scan the serial numbers on the map when setting up the ECU (see ECU instruction manual for more info).
Step 9 – Warning Notice
A warning notice must be placed in such a way that anyone with access to live parts is made aware of the need to switch off these parts. It is imperative to verify that the power supply, measurement circuits (sense lines) and other parts are not isolated from the network when the interface protection switch is open.
As a minimum, warning labels shall be placed:
- On the switchboard (DNO panel and consumer unit) that has the PV generator connected to it;
- On all switchboards in between the consumer unit and the PV generator itself;
- On, or in the PV generator itself;
- At all points of isolation for the PV generator

Micro inverter system operating instructions
- Turn ON the AC circuit breaker on each microinverter AC branch circuit.
- Turn ON the main utility-grid AC circuit breaker. Your system will start producing power after approximately one minute of waiting time.
- Microinverter data will be available in the EMA Manager APP or in the EMA web portal.
Alternatively, LED sequences could be an indicator of microinverters status (see section 6.1)
Notice
Once the ECU has been commissioned properly, the AP systems Micro inverters will start to send performance data to the ECU. The time required for all of the Micro inverters in the system to report to the ECU will vary depending on the number of Micro inverters in the system.
Troubleshooting
Qualified personnel can use the following troubleshooting steps if the PV system does not operate correctly:
Status Indications and Error Reporting
Assuming they are easily accessible and visible, Operation LEDs can give a good indication of the microinverters status.
Start up LED
One short red and ten short green blinks when DC power is first applied to the Micro inverter indicates a successful Micro inverter startup.
Operation LED
- Flashing Slow Green (5 sec. gap) – Producing power and communicating with ECU
- Flashing Slow Red (5 sec. gap) – Not producing power
- Flashing Fast Green (2 sec. gap) – Not communicating with ECU over 60mins, but still producing power.
- Flashing Fast Red (2 sec. gap) – Not communicating with ECU over 60mins and not producing power.
- Steady Red – default, DC side ground fault protection, see 6.1.3
GFDI Error
A solid red LED indicates the Micro inverter has detected a Ground Fault Detector Interrupter (GFDI) error in the PV system. Unless the GFDI error has been cleared, the LED will remain red and the ECU will keep reporting the fault. Please contact your local AP systems Technical Support.
ECU_APP
APsystems ECU_APP (available in the EMA Manager APP) is the recommended tool to do on-site troubleshooting.
When connecting the ECU_APP to the ECU hots pot (please check ECU User Manual for more detailed information), installer can check every micro inverter status (production, communication) but also Zigbee signal strength, grid profile and other insightful data helping the troubleshooting.
Installer EMA (web portal or EMA Manager APP)
Before going on site for troubleshooting, installer can also check all information remotely using his installer account, either on the web or using the EMA Manager APP (see EMA Manager APP User Manual for more detailed information). Having access to module data (DC, AC, voltages and currents) gives the first indication on potential issues.
Trouble Shooting Guide
Professional installers can also refer to our Troubleshooting Guide (www.apsystems.com, section libraries) to have
more in depth guideline on how to troubleshoot and fix PV installations powered by AP systems micro inverters.
Or look at the frequently asked questions at https://emea.apsystems.com/resources/faq/
AP systems Technical Support
AP systems local Technical Support team is available to support professional installers to get familiar with our products and to troubleshoot installations when needed.
Warning
Do not attempt to repair AP systems Micro inverters. Please contact your local AP systems Technical Support.
Warning
- Never disconnect the DC wire connectors under load. Ensure that no current is flowing in the DC wires prior to disconnecting.
- Always disconnect AC power before disconnecting the PV module wires from the APsystems Microinverter.
- The AP systems Micro inverter is powered by PV module DC power. AFTER disconnecting the DC power, when reconnecting the PV modules to the Microinverter, be sure to watch for the quick red light followed by ten short green LED flashes
Maintenance
AP systems micro inverters do not require any specific regular maintenance.
Replace a micro inverter
Follow the procedure to replace a failed AP systems Micro inverter
A. Disconnect the AP systems Micro inverter from the PV Module, in the order shown below:
- Disconnect the AC by turning off the branch circuit breaker.
- Disconnect the inverter AC connector from the AC Bus.
- Disconnect the PV module DC wire connectors from the microinverter.
- Remove the Microinverter from the PV array racking.
B. Install a replacement Microinverter to the rack. Remember to observe the flashing green LED light as soon as the new Microinverter is plugged into the DC cables.
C. Connect the AC cable of the replacement Microinverter to the AC bus.
D. Close the branch circuit breaker and verify proper operation of the replacement Microinverter.
E. Update the micro inverter in EMA Manager APP or EMA portal through “Replace” function and update the system’s map with new serial number labels.
Technical Data
Warning
- Be sure to verify that the voltage and current specifications of your PV module are compatible with the range allowed on APsystems Microinverter. Please check the micro-inverter datasheet.
- DC operating voltage range of the PV module must be within allowable input voltage range of the AP systems Micro inverter.
- The maximum open circuit voltage of the PV module must not exceed the specified maximum input voltage of the AP systems.
DS3 series Microinverter Datasheet
| Model | DS3-L | DS3 |
| Input Data (DC) | ||
| Recommended PV Module Power (STC) Range | 255Wp-550Wp+ | 300Wp-660Wp+ |
| Peak Power Tracking Voltage | 25V-55V | 32V-55V |
| Operating Voltage Range | 16V-60V | 26V-60V |
| Maximum Input Voltage | 60V | |
| Maximum Input Current | 18A x 2 | 20A x 2 |
| Output Data (AC) | ||
| Maximum Continuous Output Power | 730VA | 880VA |
| Nominal Output Voltage/Range* | 230V/184-253V | |
| Nominal Output Current | 3.2A | 3.8A |
| Nominal Output Frequency/ Range* | 50Hz/48Hz-51Hz | |
| Power Factor(Default/Adjustable) | 0.99/0.8 leading…0.8 lagging | |
| Maximum Units per 20A Branch** | 6 | 5 |
| Efficiency | ||
| Peak Efficiency | 97% | |
| CEC Efficiency | 96.5% | |
| Nominal MPPT Efficiency | 99.5% | |
| Night Power Consumption | 20mW | |
| Mechanical Data | ||
| Operating Ambient Temperature Range | -40 °C to +65 °C | |
| Storage Temperature Range | -40 °C to +85 °C | |
| Dimensions (W x H x D) | 262mm X 218mm X 41.2mm | |
| Weight | 2.6kg | |
| AC Bus Cable | 2.5mm2 | |
| Connector Type | MC4 | |
| Cooling | Natural Convection – No Fans | |
| Enclosure Environmental Rating | IP67 | |
| Features | ||
| Communication (Inverter To ECU) | Encrypted ZigBee | |
| Transformer Design | High Frequency Transformers, Galvanically Isolated | |
| Monitoring | Energy Management Analysis (EMA) system | |
| Warranty | 10 Years Standard ; 20 Years Optional *** | |
| Compliance | EN 62109-1;EN 62109-2;EN 61000-6-1;EN 61000-6-3; UNE217002,UNE206007-1,RD647,RD1699,RD413;CEI 0-21;VDE0126-1-1, VFR2019,UTE C15-712-1, ERDF-NOI-RES_13E;EN 50549-1;VDE-AR-N 4105 | |
- Nominal voltage/frequency range can be extended beyond nominal if required by the utility.
- Limits may vary. Refer to local requirements to define the number of microinverters per branch in your area.
- To be eligible for the warranty, APsystems microinverters need to be monitored via the EMA portal. Please refer to our warranty T&Cs available on emea.APsystems.com
Specifications subject to change without notice – please ensure you are using the most recent update found at https://emea.apsystems.com/resources/library/
© All Rights Reserved
DS3 series – Wiring Diagram
Sample Wiring Diagram – Single Phase

AP systems Micro inverter & Energy Communication Unit Installation Map
The AP systems Installation Map is a diagram of the physical location of each micro inverter in your PV installation. Each AP systems micro inverter has two serial number labels. Peel the one label and affix it to the respective location on the AP systems installation map.
Installation Map Template
| Installer: | PV module type: Qty: | Sheet of | s | |||||
| Owner: | Micro inverter type: Qty: | |||||||
| Column 1 | Column 2 | Column 3 | Column 4 | Column 5 | Column 6 | Column 7 | ||
| Row 1 | ||||||||
| Row 2 | ||||||||
| Row 3 | ||||||||
| Row 4 | ||||||||
| Row 5 | ||||||||
| Row6 | ||||||||
| Row 7 | ||||||||
| Row 8 | ||||||||
| Row 9 | ||||||||
| Row10 | ||||||||































