
Installation / User Manual

APsystems DS3 series
(DS3-S, DS3-L, DS3, DS3-H) Microinverters
(For APAC)
Important Safety Instructions
This manual contains important instructions to follow during the installation and maintenance of the APsystems Photovoltaic Grid-connected Inverter (Microinverter). To reduce the risk of electrical shock and ensure the safe installation and operation of the APsystems Microinverter, the following symbols appear throughout this document to indicate dangerous conditions and important safety instructions.
Specifications are subject to change without notice – please ensure you are using the most recent update found at www.APsystems.com
WARNING
This indicates a situation where failure to follow instructions may cause a serious hardware failure or personnel danger if not applied appropriately. Use extreme caution when performing this task.
NOTICE
This indicates information that is important for optimized microinverter operation. Follow these instructions closely.
1.1 Safety Instructions
- Do NOT disconnect the PV module from the APsystems Microinverter without first disconnecting the AC power.
- Only qualified professionals should install and/or replace APsystems Microinverters.
- Perform all electrical installations in accordance with local electrical codes.
- Before installing or using the APsystems Microinverter, please read all instructions and cautionary markings in the technical documents and on the APsystems Microinverter system and the solar array.
- Be aware that the body of the APsystems Microinverter is the heat sink and can reach a temperature of 80°C. To reduce the risk of burns, do not touch the body of the Microinverter.
- Do NOT attempt to repair the APsystems Microinverter. If it fails, contact APsystems Customer Support to obtain an RMA number and start the replacement process. Damaging or opening the APsystems Microinverter will void the warranty.
- Caution!
The external protective earthing conductor is connected to the inverter protective earthing terminal through an AC connector. When connecting, connect the AC connector first to ensure the inverter earthing then do the DC connections. When disconnecting, disconnect the AC by opening the branch circuit breaker first but maintain the protective earthing conductor in the branch circuit breaker connect to the inverter, then disconnect the DC inputs. - Please install AC breakers on the AC side of the inverter.
1.2 Radio Interference Statement
CE EMC Compliance: The equipment can comply with CE EMC, which are designed to protect against harmful interference in a residential installation. The equipment could radiate radio frequency energy and this might cause harmful interference to radio communications if not following the instructions when installing and using the equipment. But there is no guarantee that interference will not occur in a particular installation. If this equipment causes harmful interference to radio or television reception, the following measures might resolve the issues:
A) Relocate the receiving antenna and keep it well away from the equipment.
B) Consult the dealer or an experienced radio / TV technician for help.
Changes or modifications not expressly approved by the party responsible for compliance may void the user’s authority to operate the equipment.
1.3 Symbols replace words on the equipment, on a display, or in manuals
| Trademark. | |
| Caution, risk of electric shock. | |
| Caution, hot surface. | |
| The symbol for the marking of electrical and electronic devices according to Directive 2002/96/EC. Indicates that the device, accessories, and packaging must not be disposed of as unsorted municipal waste and must be collected separately at the end of the usage. Please follow Local Ordinances or Regulations for disposal or contact an authorized representative of the manufacturer for information concerning the decommissioning of equipment. | |
| Refer to the operating instructions. | |
| Qualified personnel | A person is adequately advised or supervised by an electrically skilled person to enable him or her to perceive risks and to avoid hazards that electricity can create. For the purpose of the safety information of this manual, a “qualified person” is someone who is familiar with requirements for safety, electrical system, and EMC and is authorized to energize ground, and tag equipment, systems, and circuits in accordance with established safety procedures. The inverter and endues system may only be commissioned and operated by qualified personnel. |
APsystems Microinverter System Introduction
The APsystems Microinverter is used in utility-interactive grid-tied applications, comprised of three key elements:
- APsystems Microinverter
- APsystems Energy Communication Unit (ECU)
- APsystems Energy Monitor and Analysis (EMA) web-based monitoring and analysis system

This integrated system improves safety; maximizes solar energy harvest; increases system reliability, and simplifies solar system design, installation, maintenance, and management.
APsystems Microinverters maximize PV energy production
Each PV module has individual Maximum Peak Power Tracking (MPPT) controls, which ensure that the maximum power is produced to the utility grid regardless of the performance of the other PV modules in the array. When PV modules in the array are affected by shade, dust, orientation, or any situation in which one module underperforms compared with the other units, the APsystems Microinverter ensures top performance from the array by maximizing the performance of each module within the array.
More reliable than centralized or string inverters
The distributed APsystems Microinverter system ensures that no single point of system failure exists across the PV system. APsystems Microinverters are designed to operate at full power at ambient outdoor temperatures of up to 149°F (65°C). The inverter case is designed for outdoor installation and complies with the IP67 environmental enclosure rating.
Simple to install
You can install individual PV modules in any combination of Module quantity, orientation, different types,s, and power rate (check our online module compatibility checker called Edecider or contact APsystems).
Smart system performance monitoring and analysis
The APsystems Energy Communication Unit (ECU) is installed by simply plugging it into any wall outlet and providing an Ethernet or Wi-Fi connection to an abroad band router or modem. After installing and setting the ECU(see ECU manual), the full network of APsystems Microinverters automatically reports to the APsystems Energy Monitor and Analysis (EMA) web server. The EMA software displays performance trends and informs you of abnormal events. (This mode can be enabled via the configuration App. Please refer to the “APsystems ECU-R Install & User Manual” or “APsystems ECU-C Install Manual & User Manual”, and “EMA User Guide (for system owner)” on our website at https://aunz.apsystems.com/resources/library/, or contact Technical Support for more information.)
NOTICE
The RJ45 Signal is designed for DRM0, DRM5, DRM6, DRM7, and DRM8, it should be connected by an RJ45 connector in the package otherwise the inverter will not work.(see ECU manual)
NOTICE
Grid Profile: From the workspace, select “Grid profile”; First select country, and then the city. (see ECU manual)
APsystems Microinverter DS3 series
The APsystems DS3 series Microinverters connect with the single-phase grid, and can also use multiple APsystems Microinverters in the form of a single-phase grid to achieve
a three-phase grid, and operates with most 60 and 72-cell PV modules. Contact APsystems Customer Support for checking compatibility. For more information, please see the Technical Data page (p.18) of this manual, or sign in APsystems website to obtain a solar panel list that can match with APsystems Microinverters: www.APsystems.com
| Model Number | AC grid | PV Module | Module Connector |
| DS3 series | 50Hz/230V/240V | 60,72 Cell | MC-4 Type |
APsystems Microinverter System Installation
A PV system using APsystems Microinverters is simple to install. Each Microinverter easily mounts on the PV racking, directly beneath the PV module(s). Low voltage DC wires connect from the PV module directly to the Microinverter, eliminating the risk of high DC voltage. Installation MUST comply with local regulations and technical rules.
Special Statement! An AC GFCI device should not be used to protect the dedicated circuit to the APsystems microinverter even though it is an outside circuit. None of the small GFCI devices (5mA-30 mA) are designed for back feeding and will be damaged if back feed. In a similar manner, AC AFCIs have not been evaluated for back feeding and may be damaged if back feed with the output of a PV inverter.
WARNING
- Perform all electrical installations in accordance with local electrical codes.
- Be aware that only qualified professionals should install and/or replace APsystems Microinverters.
- Before installing or using an APsystems Microinverter, please read all instructions and warnings in the technical documents and on the APsystems Microinverter the system itself as well as on the PV array.
- Be aware that installation of this equipment includes the risk of electric shock.
- Do not touch any live parts in the system, including the PV array, when the system has been connected to the electrical grid.
NOTICE
Strongly recommend installing Surge Protection Devices in the dedicated meter box.
4.1 Additional Installation components from APsystems
- Bus Cable End Cap (sold separately)
- Bus Cable Y-CONN Cap (sold separately)
- Bus Cable Unlock Tool (sold separately)
4.2 Required Parts and Tools from you
In addition to your PV array and its associated hardware, you will need the following items:
- An AC connection junction box
- Mounting hardware suitable for module racking
- Sockets and wrenches for mounting hardware
4.3 Installation Procedures
4.3.1 Step 1 – Verify the grid voltage to match with a microinverter rating
4.3.2 Step 2 – The AC bus distribution
a. The AC bus is arranged at the proper position of the inverter.
b. One end of the AC bus access junction box into the power grid.
c. Wire the conductors of the AC bus: L1 – BROWN; L2 – BLUE; PE – YELLOW GREEN.
WARNING
The wiring color code can be different according to local regulations, check all the wires of the installation before connecting to the AC bus to be sure they match. Wrong cabling can damage irreparably the microinverters, such an issue is not covered by the warranty.
WARNING
Forbidden to hand carry the inverter through AC cable.

4.3.3 Step 3 – Attach the APsystems Microinverters to the Racking
a. Mark the location of the microinverter on the rack, with respect to the PV module junction box or any other obstructions.
b. Mount one microinverter at each of these locations using hardware recommended by your module racking vendor. When installing a microinverter, the grounding washer must be facing the racking.

WARNING
Prior to installing any of the microinverters, verify that the utility voltage at the point of the common connection matches the voltage rating on the microinverter label.
WARNING
Do not place the inverters (including DC and AC connectors) Where exposed to the sun, rain, or snow, or even gap between modules. Allow a minimum of 3/4’’(1.5cm.) between the roof and the bottom of the microinverter to allow proper air flow. The racking of the installed microinverter must be reliably grounding.
4.3.4 Step 4 – Ground the systems
a. There is already has earth wire inside the AC cable, thus the grounding work could be done directly by it.
b. For those areas that have special requirements, the external grounding work could be done by grounding brackets.

4.3.5 Stpe 5 – Connect the APsystems microinverter to AC bus cable
Push the microinverter AC connector to the trunk cable connector. Listen for the “Click”.

Figure 4
Best Practice: Use the Bus Cable Unlock Tool of AC Bus to split the connectors.

Figure 5
a. Check the microinverter technical data page(p.20) for the maximum allowable number of microinverters on each AC branch circuit.
b. Plug the AC connector of the microinverter into the AC bus
AC connector interface as follows.

Figure 6
Cover any unused connectors with Bus Cable Y-CONN to protect the connectors.

Figure 7
4.3.6 Step 6 – Install a Bus Cable End Cap at the end of AC bus cable

4.3.7 Step 7 – Connect APsystems Microinverters to the PV Modules

NOTICE
When plugging in the DC cables, the microinverter should immediately blink green three times. This will happen as soon as the cables are plugged in and will show that the microinverter is functioning correctly. This entire check function will start and end within 5 seconds of plugging in the unit, so pay careful attention to these lights when connecting the DC cables.
WARNING
Double-check to make sure all of the AC and DC wirings have been correctly installed. Ensure that none of the AC and/or DC wires are pinched or damaged. Make sure that all of the junction boxes are properly closed.
4.3.8 Step 8 – Complete the APsystems installation map
Fill in the APsystems Registration Cards, which provide system information and the installation map. Feel free to provide your own layout if a larger or more intricate installation map is required. The layout map provided is designed to accommodate labels in a vertical or horizontal orientation to meet all the field PV connections.
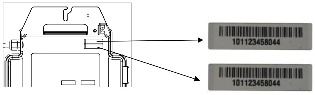
a. Each APsystems Microinverter has removable serial number labels.
b. Peel labels off, affix one to the respective location on the APsystems installation map, and fill in 1,2 in the label below, according to the layout on the roof.
c. The other serial number label, posted on the solar module frame is easy to view the position.

Power Quality Response Modes
AS 4777.2:2015 Clause 6.3 specify requirements relating to an inverter’s capability to contribute to maintaining the power quality at the point of connection or to provide support to a grid. The intent of volt response modes is to vary the output power of the inverter in response to the voltage at its terminals.
- Power derating for voltage variation (Volt-Watt mode) The inverter power output will vary in response to the AC grid voltage. This is switched on by default.
(Details of how to enable this mode are contained in the “APsystems ECU-R Install & User Manual” or “APsystems ECU-C Install Manual & User Manual”, which can be accessed at our website at https://aunz.apsystems.com/resources/library/.)
- Reactive power regulation for voltage variation (Volt-VAr mode)
The power output or input will vary in response to the AC grid voltage. This function is switched off by default.
(This mode can be enabled via the configuration App. Please refer to the “APsystems ECU-R Install & User Manual” or “APsystems ECU-C Install Manual & User Manual” on our website at https://aunz.apsystems.com/resources/library/, or contact Technical Support for more information.)
APsystems Microinverter&Energy Communication Unit Warranty Card
The APsystems Installation Map is a diagram of the physical location of each microinverter in your PV installation.
Each APsystems microinverter has a removable serial number label located on the mounting plate. Pee l the label and affix it to the respective location on the APsystems installation map.
Installation Map Template

NOTICE
- The layout of the inverters’ serial numbers on the warranty card is only suitable for general arrangement.
- The warranty card is located in the Appendix on the last page of this manual.
- You can use Scanning Gun or a mobile phone to scan the serial numbers on the map when set ECU (see ECU manual).
APsystems microinverter system operating instructions
To operate the APsystems microinverter PV system:
- Turn ON the AC circuit breaker on each microinverter AC branch circuit.
- Turn ON the main utility-grid AC circuit breaker. Your system will start producing power after a two-minute waiting time.
- The units should start blinking green every 2 seconds five minutes after turning on the AC circuit breaker. This means they are producing power normally, but have not yet connected to the ECU. After the ECU has been plugged in, the setup acknowledges the Microinverters, they will start to blink green every 10 seconds.
- Plug in the ECU and follow the instructions according to the manual for the ECU.
- The APsystems Microinverters will start to send performance data to the ECU. The time required for all the Microinverters in the system to report to the ECU will vary with the number of Microinverters in the system. You can verify the proper operation of the APsystems Microinverters via the ECU. See the ECU Installation and Operation Manual for more information.
Troubleshooting
Qualified personnel can use the following troubleshooting steps if the PV system does not operate correctly:
6.1 Status Indications and Error Reporting
6.1.1 Start up LED
One quick red light followed by three short green blinks when DC power is first applied to the Microinverter indicates a successful Microinverter startup.
6.1.2 Operation LED
Flashing Slow Green (10 sec. gap) – Producing power and communicating with ECU
Flashing Fast Green (2 sec. gap) – Producing power and not communicating with ECU over 60mins
Flashing Red – Not producing power
Steady Red – Electrode assembly ground fault protection
6.1.3 GFDI Error
A solid red LED indicates the Microinverter has detected a Ground Fault Detector Interrupter (GFDI) error in the PV system. Unless the GFDI error has been cleared, the LED will remain red and the ECU will keep reporting the fault.
After the ground fault error is fixed, follow the instructions in the ECU Installation and Operation Manual to clear this GFDI error reporting.
6.1.4 Other Faults
All other faults are reported to the ECU. Refer to the ECU Installation and Operation Manual for a list of additional faults and troubleshooting procedures.
WARNING
Only qualified personnel should directly handle the APsystems Microinverter.
WARNING
- Never disconnect the DC wire connectors under load. Ensure that no current is flowing in the DC wires prior to disconnecting.
- Always disconnect AC power before disconnecting the PV module wires from the APsystems Microinverter.
- The APsystems Microinverter is powered by PV module DC power. AFTER disconnecting the DC power, when reconnecting the PV modules to the Microinverter, be sure to watch for the three short LED flashes.
6.2 Troubleshooting a non-operating APsystems Microinverter
There are two possible overall areas of trouble:
A. The Microinverter itself may be having problems.
B. The Microinverter itself is working fine but it is having trouble communicating with the ECU. The items below refer to Microinverter issues, not communication issues (addressed in the ECU manual).
A quick way to tell whether the issue is the Microinverter or a communication problem with the ECU:
- Diagnosing from the Microinverter: A red light:
a. A blinking red light means a microinverter problem or an AC connection problem.
b. A solid red light means ground fault detector interrupter error. - Diagnosing from the ECU:
a. No-Data-Display: This is probably a communication issue- not a Microinverter problem.
b. Problems with erratic display: Data is displayed for some period and then no data is displayed: most likely a communication issue.
c. 0 watts, or 2 watts: Possibly a Microinverter problem
d. Erratic data display that is not coordinating with data displays from other units: most likely a Microinverter problem.
To troubleshoot a non-operating APsystems Microinverter, Follow the steps below in order:
- Verify the utility voltage and frequency are within the ranges shown in the Technical Data section of this manual.
- Check the connection to the utility grid. Verify utility power is present at the inverter in question by removing AC, then DC power. Never disconnect the DC wires while the microinverter is producing power. Re-connect the DC module connectors and watch for three short LED flashes.
- Check the AC branch circuit interconnection between all the microinverters. Verify each inverter is energized by the utility grid as described in the previous step.
- Make sure that any AC breakers are functioning properly and are closed.
- Check the DC connections between the microinverter and the PV module.
- Verify the PV module DC voltage is within the allowable range shown in the Technical Data of this manual.
- If the problem persists, please call APsystems Customer Support.
WARNING
Do not attempt to repair the APsystems microinverter. If troubleshooting methods fail, please return the microinverter to your distributor for replacement.
6.3 Maintenance
No need to Maintenance.
Replace a microinverter
Follow the procedure to replace a failed APsystems Microinverter
A. Disconnect the APsystems Microinverter from the PV Module, in the order shown below:
- Disconnect the AC by turning off the branch circuit breaker.
- Disconnect the inverter AC connector from the AC Bus.
- Disconnect the PV module DC wire connectors from the microinverter.
- Remove the Microinverter from the PV array racking.
B. Install a replacement Microinverter to the rack. Remember to observe the flashing LED light as soon as the new Microinverter is plugged into the DC cables.
C. Connect the AC cable of the replacement Microinverter to the AC bus.
D. Close the branch circuit breaker, and verify the operation of the replacement Microinverter.
Technical Data
WARNING
- Be sure to verify the voltage and current specifications of your PV module match those of the Microinverter. Please refer to the datasheet or user manual which can be downloaded from the APsystems website www.APsystems.com.
- You must match the DC operating voltage range of the PV module with the allowable input voltage range of the APsystems Microinverter.
- The maximum open circuit voltage of the PV module must not exceed the specified maximum input voltage of the APsystems.
8.1 DS3 series Microinverter Datasheet
| Model Input Data (DC) | DS3-S | DS3-L | DS3 | DS3-H |
| Recommended PV Module Power (STC) Range | 255Wp-550Wp + | 255Wp-550W p+ | 300Wp-620Wp + | 330Wp-660 Wp+ |
| Peak Power Tracking Voltage | 22V-55V | |||
| Operation Voltage Range | 16V-60V | |||
| Maximum Input Voltage | 60V | |||
| Maximum Input Current | 18A x 2 | 18A x 2 | 20A x 2 | 20A x 2 |
| ISC PV | 22.5 x 2 | 22.5 x 2 | 25Ax2 | 25Ax2 |
| Start-Up DC Voltage | 22V | |||
| Maximum Inverter Backfeed Current To Array | 0A | |||
Output Data (AC)
| Rated Apparent Power | 625VA | 750VA | 880VA | 960VA |
| Nominal Output Voltage | 230V | |||
| Adjustable Output Voltage Range1 | 170V-278V | |||
| Rated Current | 2.7A | 3.3A | 3.8A | 4.2A |
| Maximum Units per 20A Branch2 | 7 units | 5 units | 5 units | 4 units |
| Nominal Output Frequency/Range1 | 50Hz/48Hz-51Hz | |||
| Adjustable Output Frequency Range | 45.1Hz-54.9Hz | |||
| Power Factor(Default/Adjustable) | 0.99/0.8 leading…0.8 lagging | |||
| Total Harmonic Distortion | <3% | |||
| Inrush Current | 11.92A | |||
| Maximum Output Fault Current | 24A | |||
| Maximum Output Overcurrent Protection | 10A | |||
Efficiency
| Peak Efficiency | 97% |
| Nominal MPPT Efficiency | 99.50% |
| Night Power Consumption | 20mW |
Mechanical Data
| Operating Ambient Temperature Range | -40°C to +65°C |
| Storage Temperature Range | -40°C to+85°C |
| Dimensions (W x H x D) | 262mm X 218mm X41.2mm |
| Weight | 2.6kg |
| AC Bus Cable | 2.5mm2/4mm2 Optional |
| Connector Type | MC4 |
| Cooling | Natural Convection – No Fans |
| Enclosure Environmental Rating | IP67 |
| Inverter Topology | Isolated |
| Active Anti-islanding Method | Frequency shift |
| Protective Class | I |
| Over Voltage Category | OVC III[MAINS],OVC II[PV] |
8.1 DS3 series Microinverter Datasheet
Features
| Communication (Inverter To ECU) | Wireless |
| Transformer Design | High-Frequency Transformers, Galvanically Isolated |
| Monitoring | Energy Monitoring & Analysis(EMA) System |
| Warranty | 10 Years Standard; 20 Years Optional |
| Maximum Altitude | All Data At This Technical Specifications Has Been Tested Under <2000m |
Certificate&Compliance
| Compliance | AS/NZS 4777.2;IEC 62109-1,IEC62109-2; EN61000-6-3 |
- The nominal voltage/frequency range can be extended beyond nominal if required by the utility.
- Limits may vary. Refer to local requirements to define the number of microinverters per branch in your area.
Specifications are subject to change without notice – please ensure you are using the most recent update found at latam.APsystems.com
© All Rights Reserved
Wiring Diagram
9.1 Sample Wiring Diagram – Single Phase

APsystems Microinverter &Energy Communication Unit Installation Map
The APsystems Installation Map is a diagram of the physical location of each microinverter in your PV installation. Each APsystems microinverter has a removable serial number label located on the mounting plate. Peel the label and affix it to the respective location on the APsystems installation map.
Installation Map Template

ALTENERGY POWER SYSTEM Inc.
WEB: global.APsystems.com
APsystems Australia
Suite 502, 8 Help Street, Chatswood NSW 2067 Australia
TEL: 61 (0)2-8034-6587 EMAIL: [email protected]

Please scan the QR code to get the mobile app and more support to help with the installation.
© All Rights Reserved
References
APsystems Global | The global leader in multi-platform MLPE technology
APsystems Latin America | El líder global en la tecnología multi-plataforma MLPE
APsystems | The global leader in multi-platform MLPE technology
Documents Library for Australia & New Zealand – APsystems Australia & New Zealand | The global leader in multi-platform MLPE technology


















