APsystems DS3 Series DS3-S Dual Module Microinverter

Important Safety Instructions
This manual contains important instructions to follow during installation and maintenance of the APsystems Photovoltaic Grid-connected Microinverter. To reduce the risk of electrical shock and ensure a safe installation and operation of the APsystems Microinverter, the following symbols appear throughout this document to indicate dangerous conditions and important safety instructions.
Specifications are subject to change without notice. Please ensure you are using the most recent update found at https://usa.apsystems.com/resources/library/ or https://canada.apsystems.com/resources/library/
WARNING: This indicates a situation where failure to follow instructions may cause a serious hardware failure or personnel danger if not applied appropriately. Use extreme caution when performing this task.
NOTICE: This indicates information that is important for optimized microinverter operation. Follow these instructions closely.
Safety Instructions
- Do NOT disconnect the PV module from the APsystems Microinverter without first disconnecting the AC power.
- Only qualified professionals should install and/or replace APsystems Microinverters.
- Perform all electrical installations in accordance with local electrical codes.
- Before installing or using the APsystems Microinverter, please read all instructions and cautionary markings in the technical documents and on the APsystems Microinverter system and the solar-array.
- Be aware that the body of the APsystems Microinverter is the heat sink and can reach a temperature of 80°C. To reduce risk of burns, do not touch the body of the Microinverter.
- Do NOT attempt to repair the APsystems Microinverter. If it fails, contact APsystems Customer Support to obtain an RMA number and start the replacement process. Damaging or opening the APsystems Microinverter will void the warranty.
- Caution!
The external protective earthing conductor is connected to the inverter protective earthing terminal through AC connector. When connecting, connect the AC connector first to ensure the inverter earthing then do the DC connections. When disconnecting, disconnect the AC by opening the branch circuit breaker first but maintain the protective earthing conductor in the branch circuit breaker connect to the inverter ,then disconnect the DC inputs. - Please install AC breakers on the AC side of the inverter.
- CAUTION – Hot surfaces – To reduce the risk of burns – Do not touch. Risk of electric shock-(a) both ac and dc voltage source are terminated inside this equipment. Each circuit must be individually disconnected before servicing, and (b) When the photovoltaic array is exposed to light, it supplies a dc voltage to this equipment. Warranty void if cover removed. No user serviceable parts inside.Refer servicing to qualified service personnel. This inverter has an integral ground-fault detector / interrupter (GFDI).This Utility-InteractiveInverter contains active anti-islanding protection(IEEE1547) and is tested per FCC/IC.
Radio Interference Statement
This equipment has been tested and found to comply with the limits for a Class B digital device, pursuant to part 15 of the FCC Rules. These limits are designed to provide reasonable protection against harmful interference in a residential installation. This equipment generates, uses and can radiate radio frequency energy and, if not installed and used in accordance with the instructions, may cause harmful interference to radio communications. However, there is no guarantee that interference will not occur in a particular installation. If this equipment does cause harmful interference to radio or television reception, which can be determined by turning the equipment off and on, the user is encouraged to try to correct the interference by one or more of the following measures:
- Reorient or relocate the receiving antenna.
- Increase the separation between the equipment and receiver.
- Connect the equipment into an outlet on a circuit different from that to which the receiver is connected.
- Consult the dealer or an experienced radio/TV technician for help.
RF exposure warning
This equipment must be installed and operated in accordance with provided instructions and the antenna(s) used for this transmitter must be installed to provide a separation distance of at least 20 cm from all persons and must not be co-located or operating in conjunction with any other antenna or transmitter. End-users and installers must be provide with antenna installation instructions and transmitter operating conditions for satisfying RF exposure compliance.
Symbols replace words on the equipment, on a display, or in manuals

English Warning Statement:
This device complies with Industry Canada license-exempt RSS standard(s). Operation is subject to the following two conditions: (1) this device may not cause interference, and (2) this device must accept any interference, including interference that may cause undesired operation of the device.
APsystems Microinverter System Introduction
The APsystems Microinverter is used in utility-interactive grid-tied applications, comprised of three key elements:
- APsystems Microinverter
- APsystems Energy Communication Unit (ECU)
- APsystems Energy Monitor and Analysis (EMA) web-based monitoring and analysis system

This integrated system improves safety; maximizes solar energy harvest; increases system reliability, and simplifies solar system design, installation, maintenance, and management.
Safety with APsystems Microinverters
In a typical string inverter installation, PV modules are connected in series. The voltage adds-up to reach high voltage value (from 600Vdc up to 1000Vdc) at the end of the PV string. This extreme high DC voltage brings a risk of electrical shocks or electrical arcs which could cause fire.
When using an APsystems microinverter, PV modules are connected in parallel. Voltage at the back of each PV module never exceeds PV modules Voc, which is lower than 60Vdc for most of PV modules used with APsystems microinverters. This low voltage is considered “safe to touch” by fire departments and negates the risk of electrical shock, electrical arcs and fire hazards.
APsystems Microinverters maximize PV energy production
Each PV module has individual Maximum Peak Power Tracking (MPPT) control, which ensures that the maximum power is produced to the utility grid regardless of the performance of the other PV modules in the array. When PV modules in the array are affected by shade, dust, different orientation, or any situation in which one module underperforms compared with the other units, the APsystems Microinverter ensures top performance from the array by maximizing the performance of each module individually within the array.
More reliable than centralized or string inverters
The distributed APsystems Microinverter system ensures that no single point of system failure exists across the PV system. APsystems Microinverters are designed to operate at full power at ambient outdoor temperatures of up to 65 deg C (or 149 F). The inverter case is designed for outdoor installation and complies with the Type 6 environmental enclosure rating.
Simple to install
APsystems Microinvertes are compatible with most of 60 and 72 cell PV modules or 120 and 144 half-cut cells PV modules. (In order to confirm compatibility of PV module with APsystems microinverter, feel free to check our online “E-decider” module compatibility tool or contact your local APsystems Technical Support).
Installation requires a minimum number of accessories and microinverters offer a lot of versatility to the installer: microinverters can indeed be installed on different roofs with different orientation or with modules having different orientation.
In the same way, end-users can extand their system whenever they want with microinverters.
Smart system performance monitoring and analysis
The APsystems Energy Communication Unit (ECU) is installed by simply plugging it into any wall outlet and providing an Ethernet or Wi-Fi connection to a broadband router or modem. After installing and setting the ECU (see ECU Instruction Manual), the full network of APsystems Microinverters automatically reports to the APsystems Energy Monitor and Analysis (EMA) web server.
APsystems Microinverter DS3 Series Introduction
APsystems 3rd generation of dual microinverters are reaching unprecedented power outputs of 640VA or 768VA or 880VA to adapt to today’s larger power module. With 2 independent MPPT, encrypted ZigBee signals, the DS3-S, DS3-L and DS3 benefit from an entirely new architecture and are fully backwards compatible with the QS1 and YC600 microinverters. The innovative and compact design make the product lighter while maximizing power production. The components are encapsulated with silicone to reduce stress on the electronics, facilitate thermal dissipation, enhance waterproof properties, and ensure maximum reliability of the system via rigorous testing methods including accelerated life testing. A 24/7 energy access through Apps or web based portal facilitate remote diagnosis and maintenance.
The DS3 series is interactive with power grids through a feature referred to as RPC (Reactive Power Control) to better manage photovoltaic power spikes in the grid. With a performance and an efficiency of 97%, a unique integration with 20% less components, APsystems DS3-S, DS3-L and DS3 are a game changer to residential and commercial PV.
Key Product Feature:
- One microinverter connects to two PV modules
- Maximum output power reaching 640VA(DS3-S) or 768VA (DS3-L) or 880VA (DS3)
- Two input channels with independent MPPT
- Reactive Power Control
- Maximum reliability, Type 6
- Encrypted ZigBee communication
- Safety protection relay integrated
Single phase microinverter. Possible to install in a balanced 3-phase system
APsystems Microinverter System Installation
A PV system using APsystems Microinverters is simple to install. Each Microinverter easily mounts on the PV racking, directly beneath the PV module(s). Low voltage DC wires connect from the PV module directly to the Microinverter, eliminating the risk of high DC voltage. Installation MUST comply with local regulations and technical rules.
Special Statement: we advise installation of an RCD breaker only if required by the local electrical code.
WARNING:
- Perform all electrical installations in accordance with local electrical codes.
- Be aware that only qualified professionals should install and/or replace APsystems Microinverters.
- Before installing or using an APsystems Microinverter, please read all instructions and warnings in the technical documents and on the APsystems Microinverter system itself as well as on the PV array.
- Be aware that installation of this equipment includes the risk of electric shock.
- Do not touch any live parts in the system, including the PV array, when the system has been connected to the electrical grid.
NOTICE: Even if not required by local electrical code, we strongly recommend to install surge protection devices in the dedicated AC box.
Additional accessories supplied by APsystems
- AC Y3 Bus cable
- AC Y3 Bus Cable End Cap
- AC Y3 Bus Cable Y-CONN Cap
- AC Y3 Bus Cable Unlock Tool
- ECU
- AC connectors male/female
Other required accessories not supplied by APsystems
In addition to your PV array and its associated hardware, you may need the following items:
- An AC connection junction box
- Mounting hardware suitable for module racking
- Sockets and wrenches for mounting hardware
APsystems Microinverter System Installation
PV Rapid Shut Down Equipment
This product is PV Rapid Shut Down Equipment and conforms with NEC-2014 and NEC-2017 section 690.12, for AC and DC conductors, when installed according to the following requirements:
- Microinverters and all DC connections must be installed inside the array boundary.
- The array boundary is defined as 305 mm (1 ft.) from the array in all directions, or 1 m (3 ft.) from the point of entry inside a building.
This rapid shutdown system must be provided with an initiating device and (or with) status indicator which must be installed in a location accessible to first responders, or be connected to an automatic system which initiates rapid shutdown upon the activation of a system disconnect or activation of another type of emergency system.
The initiator shall be listed and identified as a disconnecting means that plainly indicates whether it is in the “off” or “on” position. Examples are:
- Service disconnecting means
- PV system disconnecting means
- Readily accessible switch or circuit breaker
The handle position of a switch or circuit breaker is suitable for use as an indicator. Refer to NEC for more information. Additionally, in a prominent location near the initiator device, a placard or label must be provided with a permanent marking including the following wording:
’PHOTOVOLTAIC SYSTEM EQUIPPED WITH RAPID SHUTDOWN’ The term ‘PHOTOVOLTAIC’ may be replaced with ‘PV.’ The label requires reference NEC 690.65 to meet the audit requirements.
Installation Procedures
Step 1 – Verify that grid voltage matches microinverter rating
Step 2 – Y3 AC Bus Cable distribution
- Each connector drop of the AC Bus cable matches the position of the microinverter.
- One end of the AC bus cable is used to access the junction box into the power grid.
- Wire the conductors of the AC bus: L1 – BLACK; L2 – RED; PE – GREEN.
WARNING: Wiring color code can be different according to local regulations. Check all the wires of the installation before connecting to the AC bus to be sure they match. Improper cabling can irreparably damage the microinverters: such damage is not covered by the warranty.
WARNING: It is strictly prohibited to hand carry the microinverter by its AC cable.
Step 3 – Attach the APsystems Microinverters to the Racking
- Mark the location of the microinverter on the rack, with respect to the PV module junction box or any other obstructions.
- Mount one microinverter at each of these locations using hardware recommended by your module racking vendor.

WARNING: Install the microinverters (including DC and AC connectors) under the PV modules to avoid direct exposure to rain, UV or other harmful weather events. Allow a minimum of 1.5 cm (3/4’’) below and above the casing of the microinverter to allow proper air flow. The racking must be properly grounded as per local electrical code.
Step 4 – Ground the system
Y3 AC Bus cable has an embedded PE wire: this might be sufficient to ensure proper grounding of the whole PV array. However, in areas with special grounding requirements, external grounding work may still be needed, using the grounding lug supplied with the Microinverter.
Step 5 – Connect the APsystems microinverter to AC bus cable
Insert the microinverter AC connector into the trunk cable connector. Make sure to hear the “click” as a proof of robust connection.
Best Practice: Use the AC Bus Cable Unlock Tool to disconnect the connectors.
NOTICE: Check the microinverter technical data page 19 to confirm maximum allowable number of microinverters on each AC branch of the circuit.
AC connector interface as from left to right.
Cover any unused connectors with Bus Cable Y-CONN Cap to protect the unused connectors.
Step 6 – Install a Bus Cable End Cap at the end of AC bus cable
- Strip cable jacket.

- Insert the cable end into the seal.

- Insert the wires into the cable clamps.

- Rotate the nut with 3.3N·m until the latching mechanism meets the base.

Step 7 – Connect APsystems Microinverters to the PV Modules
NOTICE: When plugging in the DC cables, the microinverter should immediately blink green ten times. This will happen as soon as the DC cables are plugged in and will show that the microinverter is functioning correctly. This entire check function will start and end within 10 seconds of plugging in the unit, so pay careful attention to these lights when connecting the DC cables.
WARNING: Double check to make sure all of the AC and DC wiring has been correctly installed. Ensure that none of the AC and/or DC wires are pinched or damaged. Make sure that all of the junction boxes are properly closed.
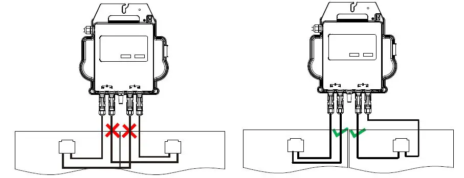
WARNING: Each PV panel must be carefully connected to the same channel. Make sure to not split positive and negative DC cables into two different input channels: microinverter will become damaged and warranty will not apply.
Step 8 – Complete the APsystems installation map
- Each APsystems Microinverter has 2 removable serial number labels.
- Complete the installation map by sticking the ID label of each microinverter in the right location.
- The second serial number label, could be stuck on the solar module frame, which could help later to confirm the position of the microinverter without dismantling the PV module.

NOTICE:
- The layout of the microinverters’ serial number installation map is only suitable for a typical installation.
- Installation Map is available in the last page appendix of this manual.
- Use ECU_APP (available in the EMA Manager) to scan the serial numbers on the map when setting up the ECU (see ECU instruction manual for more info).
APsystems microinverter system operating instructions
To operate the APsystems microinverter PV system:
- Turn ON the AC circuit breaker on each microinverter AC branch circuit.
- Turn ON the main utility-grid AC circuit breaker. Your system will start producing power after approximately one minute of waiting time.
- Microinverter data will be available in the EMA Manager APP or in the EMA web portal. Alternatively, LED sequences could be an indicator of microinverters status (see section 6.1)
NOTICE: Once the ECU has been commissioned properly, the APsystems Microinverters will start to send performance data to the ECU. The time required for all of the Microinverters in the system to report to the ECU will vary depending on the number of Microinverters in the system.
Troubleshooting
Qualified personnel can use the following troubleshooting steps if the PV system does not operate correctly:
Status Indications and Error Reporting
Assuming they are easily accessible and visible, Operation LEDs can give a good indication of the microinverters status
Start up LED
Ten short green blinks when DC power is first applied to the Microinverter indicates a successful Microinverter startup.
Operation LED
- Flashing Slow Green (5 sec. gap) – Producing power and communicating with ECU Flashing Slow Red (5 sec. gap) – Not producing power
- Flashing Fast Green (2 sec. gap) – Not communicating with ECU over 60mins, but still producing power.
- Flashing Fast Red (2 sec. gap) – Not communicating with ECU over 60mins and not producing power.
- Steady Red – default, DC side ground fault protection, see 6.1.3
GFDI Error
A solid red LED indicates the Microinverter has detected a Ground Fault Detector Interrupter (GFDI) error in the PV system. Unless the GFDI error has been cleared, the LED will remain red and the ECU will keep reporting the fault. Please contact your local APsystems Technical Support.
ECU_APP
APsystems ECU_APP (available in the EMA Manager APP) is the recommended tool to do on-site troubleshooting. When connecting the ECU_APP to the ECU hotspot (please check ECU User Manual for more detailed information), installer can check every microinverter status (production, communication) but also ZigBee signal strength, grid profile and other insightful data helping the troubleshooting.
Installer EMA (web portal or EMA Manager APP)
Before going on site for troubleshooting, installer can also check all information remotely using his installer account, either on the web or using the EMA Manager APP (see EMA Manager APP User Manual for more detailed information). Having access to module data (DC, AC, voltages and currents) gives the first indication on potential issues.
Trouble Shooting Guide
Professional installers can also refer to our Troubleshooting Guide (https://usa.apsystems.com/resources/library/ or https://canada.apsystems.com/resources/library/, section libraries) for more in depth guidelines on how to troubleshoot and fix PV installations powered by APsystems microinverters.
APsystems Technical Support
The APsystems local Technical Support team is available to support professional installers in becoming familiar with our products and to troubleshoot installations when needed.
WARNING: Do not attempt to repair APsystems Microinverters. Please contact your local APsystems Technical Support.
WARNING:
- Never disconnect the DC wire connectors under load. Ensure that no current is flowing in the DC wires prior to disconnecting.
- Always disconnect AC power before disconnecting the PV module wires from the APsystems Microinverter.
- The APsystems Microinverter is powered by PV module DC power. AFTER disconnecting the DC power, when reconnecting the PV modules to the Microinverter, be sure to watch for the quick red light followed by ten short green LED flashes.
Maintenance
APsystems microinverters do not require any specific regular maintenance.
Replace a microinverter
Follow the procedure to replace a failed APsystems Microinverter
- Disconnect the APsystems Microinverter from the PV Module, in the order shown below:
- Disconnect the AC by turning off the branch circuit breaker.
- Disconnect the inverter AC connector from the AC Bus.
- Disconnect the PV module DC wire connectors from the microinverter.
- Remove the Microinverter from the PV array racking.
- Install a replacement Microinverter to the rack. Remember to observe the flashing green LED light as soon as the new Microinverter is plugged into the DC cables.
- Connect the AC cable of the replacement Microinverter to the AC bus.
- Close the branch circuit breaker, and verify proper operation of the replacement Microinverter.
- Update the microinverter in the EMA Manager through the “Replace” function and update the system’s map with new serial number labels.
Technical Data
- Be sure to verify that the voltage and current specifications of your PV module are compatible with the range allowed on APsystems Microinverter. Please check the microinverter datasheet.
- DC operating voltage range of the PV module must be within allowable input voltage range of the APsystems Microinverter.
- The maximum open circuit voltage of the PV module must not exceed the specified maximum input voltage of the APsystems.
DS3 Series Microinverter Datasheet



Note 1: Utility Interconnection Voltage and Frequency Trip Limits and Trip Times
| Voltage and frequency limits for utility Interaction | ||||
|
Condition | Simulated utility source | Maximum time (sec) (cycles) at 60 Hza before cessation of current to the simulated utility |
Trip time accuracy | |
| Voltage (V) | Frequency (Hz) | |||
| A | < 0.50 Vnor | Rated | 160ms | +/-80ms |
| B | 0.50 Vnor ≤ V < 0.88 Vnor | Rated | 1000ms | +/-200ms |
| C | 1.10 Vnor < V < 1.20 Vnor | Rated | 1000ms | +/-200ms |
| D | 1.20 Vnor ≤ V | Rated | 160ms | +/-80ms |
| E | Rated | f > 60.5 | 160ms | +/-200ms |
| F | Rated | f < 59.3 | 160ms | +/-200ms |
Wiring Diagram

APsystems Microinverter & Energy Communication Unit Installation Map
The APsystems Installation Map is a diagram of the physical location of each microinverter in your PV installation. Each APsystems microinverter has two serial number labels. Peel the one label and affix it to the respective location on the APsystems installation map.
Installation Map Template
| Installer: | PV module type: Qty: | Sheet of | s | |||||
| Owner: | Mircroinverter type: Qty: | |||||||
| Column 1 | Column 2 | Column 3 | Column 4 | Column 5 | Column 6 | Column 7 | ||
| Row 1 | ||||||||
| Row 2 | ||||||||
| Row 3 | ||||||||
| Row 4 | ||||||||
| Row 5 | ||||||||
| Row6 | ||||||||
| Row 7 | ||||||||
| Row 8 | ||||||||
| Row 9 | ||||||||
| Row10 | ||||||||























