APsystems QS1 Microinverter Installation Guide
The sketch of QS1 support system
All the PV modules are placed into two lines. Then put a QS1 in the middle of the two lines and make sure it is easytoconnect with four PV modules which are next to it, as well all the cables.

Step 1. Verify the grid voltage to match with microinverter rating
Step 2. The AC bus distribution
a. The AC bus is arranged at the proper position of the microinverter. b. One end of the AC bus access junction box into power grid.
c. Wire the conductors of the AC bus: L1 – BLACK; L2 – RED;PE – GREEN
NOTE: Wiring colour code can be different according local regulation, check all the wires of the installation before connecting to the AC bus to be sure they match. Wrong cabling can damage irreparably the microinverters, such an issue is not covered by the warranty.
Step 3. Attach the APsystems Microinverters to the racking
NOTE: Do not place the microinverters (including DC and AC connectors) where exposed to the sun, rain or snow, evengapbetween modules. Allow a minimum of 3/4’’(1.5cm) between the roof and the bottom of the microinverter to allow properair flow. The racking of install microinverter must be reliably grounding.
NOTE: Forbidden to hand carry the inverter through AC cable.

a. Mark the location of the microinverter on the rack, with respect to the PV module junction box or any other obstructions.
b. Mount one microinverter at each of these locations using hardware recommended by your module racking vendor. when install microinverter, grounding washer Must be facing the racking.

Step 4. Ground the system
a. There already has earth wire inside the AC cable, thus the grounding work could be done directly by it.
b. For those areas that have special requirements, the external grounding work could be done by grounding brackets.

Step 5. Connect the APsystems Microinverter to AC bus cable
Push the microinverter AC connector to the Bus cable connector. Listen for the “Click”.

Step 6. Install a Bus Cable End Cap at the end of AC bus cable

Step 7. Place the PV modules and connect each QS1 to the PV modules

Step 8. Complete the APsystems installation map
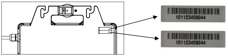
a. Each APsystems Microinverter has removable serial number labels. b. Peel labels off, affix one to the respective location on the APsystems installation map and fill in 1,2 3 and4inthelabel below according to the layout on the roof.
c. The other serial number label posted on the solar module frame is easy to find.
d. Log on to the E MA with your installer access details, then you can create a user account in EMAandregistertheinstallation ( in cluding the ECU). There you can also upload a photo of the installation map
NOTE: you can request an EMA installer account at www.APsystems.com.

NOTE: Sequence of steps 1 to 8 can be change d depending on the installation.
NOTE: Using APsystems’ mobile app ECUAPP can make the installation and registration much simpler when there is an ECU included in the installation.
Step 9. Start the operation
a. Turn on the AC circuit breaker on each microinverter AC branch circuit.
b. Turn on the main utility-grid AC circuit breaker. Your system will start producing power after a two-minutewaiting time. Product information is subject to change without notice.(Please download manuals at www.APsystems.com)

Please scan the QR code to get mobile app and more support to help the installation.


















