APsystems YC600B Microinverter Installation Guide
Important Safety Instructions
This manual contains important instructions to follow during installation and maintenanceofthe APsystems Photovoltaic Grid-connected Inverter (Microinverter). To reducetheriskofelectrical shock and ensure the safe installation and operation of the APsystems Microinverter, the following symbols appear throughout this document to indicate dangerous conditionsand important safety instructions Specifications subject to change without notice- pleaseensure you are using the most recent update found at www.APsystems.com.
WARNINIG
This indicates a situation where failure to follow instructions may cause a serioushardware failure or personnel danger if not applied appropriately. Use extremecaution when performing this task.
NOTICE
This indicates information that is important for optimized microinverter operation. Follow these instructions closely
Safety Instructions
- Do NOT disconnect the PV module from the APsystems Microinverter without firstdisconnecting the AC power.
- Only qualified professionals should install and/or replace APsystems Microinverters.
- Perform all electrical installations in accordance with local electrical codes.
- Before installing or using the APsystems Microinverter, please read all instructionsandcautionary markings in the technical documents and on the APsystems Microinvertersystem and the solar-array.
- Be aware that the body of the APsystems Microinverter is the heat sink andcanreachatemperature of 80°C. To reduce risk of burns, do not touch the body of the Microinverter.
- Do NOT attempt to repair the APsystems Microinverter. If it fails, contact APsystemsCustomer Support to obtain an RMA number and start the replacement process. Damaging or opening the APsystems Microinverter will void the warranty.
- Caution!
The external protective earthing conductor is connected to the inverter protectiveearthing terminal through AC connector. When connecting, connect the ACconnectorfirst to ensure the inverter earthing then do the DC connections. When disconnecting, disconnect the AC by opening the branch circuit breaker first but maintain theprotectiveearthing conductor in the branch circuit breaker connect to the inverter ,thendisconnectthe DC inputs. - Please install AC breakers on the AC side of the inverter.
- CAUTION – Hot surfaces – To reduce the risk of burns – Do not touch. Risk of electricshock-(a) both ac and dc voltage source are terminated inside this equipment. Eachcircuitmust be individually disconnected before servicing, and (b) When the photovoltaicarrayisexposed to light, it supplies a dc voltage to this equipment. Warranty void if cover removed. No user serviceable parts inside.Refer servicing to qualified service personnel. This inverterhas an integral ground-fault detector / interrupter (GFDI). This UtilityInteractiveInvertercontains active anti-islanding protection(IEEE1547)
Radio Interference Statement
he equipment could radiate radio frequency energy and this might causeharmful interference to radio communications if not following the instructions when installingandusing the equipment. But there is no guarantee that interference will not occur inaparticularinstallation. If this equipment causes harmful interference to radio or television reception, thefollowing measures might resolve the issues:
- Relocate the receiving antenna and keep it well away from the equipment.
- Consult the dealer or an experienced radio / TV technical for help.
Changes or modifications not expressly approved by the party responsible for compliancemay void the user’s authority to operate the equipment.
Radio Interference Statement
The equipment could radiate radio frequency energy and this might causeharmful interference to radio communications if not following the instructions when installingandusing the equipment. But there is no guarantee that interference will not occur inaparticularinstallation. If this equipment causes harmful interference to radio or television reception, thefollowing measures might resolve the issues:
- Relocate the receiving antenna and keep it well away from the equipment.
- Consult the dealer or an experienced radio / TV technical for help
Changes or modifications not expressly approved by the party responsible for compliancemay void the user’s authority to operate the equipment
Symbols replace words on the equipment, on a display, or inmanuals
Trademark.
Caution, risk of electric shock
Caution, hot surface.
NOTICE, danger!This device directly connected with electricitygeneratorsand public grid.
Qualified personnel:
Person adequately advised or supervised by an electrically skilledpersonto enable him or her to perceive risks and to avoid hazardswhichelectricity can create. For the purpose of the safety informationof thismanual, a “qualified person” is someone who is familiar with requirementsfor safety, electrical system and EMC and is authorizedtoenergize, ground, and tag equipment, systems, and circuits in accordancewithestablished safety procedures. The inverter and endues systemmayonlybe commissioned and operated by qualified personnel
APsystems Microinverter SystemIntroduction
The APsystems Microinverter is used in utility-interactive grid-tied applications, comprisedofthree key elements:
- APsystems Microinverter
- APsystems Energy Communication Unit (ECU)
- APsystems Energy Monitor and Analysis (EMA) web-based monitoring andanalysissystem

This integrated system improves safety; maximizes solar energy harvest; increasessystemreliability, and simplifies solar system design, installation, maintenance, and management.
APsystems Microinverters maximize PV energy production
Each PV module has individual Maximum Peak Power Tracking (MPPT) controls, whichensures that the maximum power is produced to the utility grid regardlessof theperformance of the other PV modules in the array. When PV modules in the array areaffectedby shade, dust, orientation, or any situation in which one module underperforms comparedwith the other units, the APsystems Microinverter ensures top performance fromthearraybymaximizing the performance of each module within the array
More reliable than centralized or string inverters
The distributed APsystems Microinverter system ensures that no single point of systemfailureexists across the PV system. APsystems Microinverters are designed to operate at full powerat ambient outdoor temperatures of up to 149°F (65°C). The inverter housing is designedforoutdoor installation and complies with the Type 6 environmental enclosure rating.
Simple to install
You can install individual PV modules in any combination of Module quantity, orientation, different type and power rate (check our online module compatibility checker calledEdecideror contact APsystems).
Smart system performance monitoring and analysis
The APsystems Energy Communication Unit (ECU) is installed by simply pluggingit intoanywall outlet and providing an Ethernet or Wi-Fi connection to abroad band router or modem. After installing and setting the ECU(see ECU manual),the full network of APsystemsMicroinverters automatically reports to the APsystems Energy Monitor and Analysis(EMA)web server.The EMA software displays performance trends,informs you of abnormal events, and controls system shutdown when it is needed. (See ECU manual for instructions.)
APsystems Microinverter YC600BIntroduction
YC600B was designed to accommodate today’s high output PV panels, offer enhancedcapability and meet the latest grid compliance standards. Offering an unprecedented375VApeak output power per channel, the YC600B works with 60 and 72-cell PVmodulesandoffers dual, independent MPPT per panel. The YC600B also operates within a wider MPPTvoltage range than competing brands for a greater energy harvest.
Key Product Features:
- Dual-module microinverter with independent MPPT per panel
- 750VA maximum output power
- Accommodates 60 & 72-cell PV modules up to 550W+
- Connect to 120V or 127V grid
- Stable wireless communication
APsystems Microinverter SystemInstallation
A PV system using APsystems Microinverters is simple to install. Each Microinverter easilymounts on the PV racking, directly beneath the PV module(s). Low voltage DCwires connectfrom the PV module directly to the Microinverter, eliminating the risk of high DCvoltage. Installation MUST comply with local regulations and technical rules.
Special Statement! An AC GFCI device should not be used to protect the dedicatedcircuittothe APsystems microinverter even though it is an outside circuit. None of the small GFCIdevices (5mA-30 mA) are designed for back feeding and will be damaged if backfeed. Inasimilar manner, AC AFCIs have not been evaluated for back feeding and may be damagedifback feed with the output of a PV inverter
- Perform all electrical installations in accordance with local electrical codes.
- Be aware that only qualified professionals should install and/or replace
APsystems Microinverters. - Before installing or using an APsystems Microinverter, please read all instructionsand warnings in the technical documents and on the APsystems Microinverter system itself as well as on the PV array.
- Be aware that installation of this equipment includes the risk of electric shock.
- Do not touch any live parts in the system, including the PV array, when thesystem has been connected to the electrical grid.
Strongly recommend to install Surge protection Devices in the dedicated meter box.
Additional Installation components fromAPsystems
- Bus Cable End Cap (sold separately)
- Bus Cable Y-CONN Cap (sold separately)
- Bus Cable Unlock Tool (sold separately)
Required Parts and Tools from you
In addition to your PV array and its associated hardware, you will need the following items:
- An AC connection junction box
- Mounting hardware suitable for module racking
- Sockets and wrenches for mounting hardware
Installation Procedures
Step 1 – Verify the grid voltage to match with microinverterrating
Step 2 – The AC bus distribution
- The AC bus is arranged at the proper position of the inverter.
- One end of the AC bus access junction box into power grid.
- Wire the conductors of the AC bus: L – BROWN ; N – BLUE ; PE – YELLOWGREEN
WARNINIG
Wiring colour code can be different according local regulation, check all the wiresof the installation before connecting to the AC bus to be sure theymatch.Wrongcablingcan damage irreparably the microinverters, such an issue is not coveredbythewarranty
WARNINIG
Do NOT carry the microinverter by the AC cable. This may cause the ACcabletopartially or fully disconnect from the unit, resulting in no or poor operation
Attach the APsystems Microinverters totheracking
- Mark the location of the Microinverter on the rack, with respect to the PVmodulejunction box or any other obstructions.
- Mount one Microinverter at each of these locations using hardware recommendedbyyour module racking vendor.When install microinverter, grounding washer must befacing the racking

WARNINIG
Prior to installing any of the microinverters, verify that the utility voltage at thepointof common connection matches the voltage rating on microinverter label.
WARNINIG
Do not place the inverters (including DC and AC connectors) Where exposedtothesun, rain or snow, even gap between modules. Allow a minimumof 3/4’’(1.5cm.)between the roof and the bottom of the microinverter to allow proper air flow.Theracking of install microinverter must be reliably grounding.
Step 4 – Ground the systems
- There already has earth wire inside the AC cable, thus the grounding workcouldbedone directly by it.
- For those areas that have special requirements, the external groundingworkcouldbe done by grounding bracket

Step 5 – Connect the APsystems microinverter toACbuscable
Push the microinverter AC connector into the trunk cable connector until you hear a”click”. Try to remove it to check that it is properly locked.
Best Practice: Use the Bus Cable Unlock Tool of AC Bus to split the connectors.
- Check the microinverter technical data page(p.18) for the maximumallowablenumber of microinverters on each AC branch circuit.

- Plug the AC connector of the microinverter into the AC bus

AC connector interface as follows.
Cover any unused connectors with Bus Cable Y-CONN to protect the connectors.
Step 6 – Install a Bus Cable End Cap at the endof ACbuscable
- Strip cable jacket.

- Insert the cable end into the seal.

- Insert the wires into the cableclamp

- Rotate the nut with 3.3N·muntil thelatching mechanismmeets thebase

Step 7 – Connect APsystems Microinverters tothePVModules
NOTICE
When plugging in the DC cables, the microinverter should immediately blinkgreenthree times. This will happen as soon as the cables are plugged in and will showthatthe microinverter is functioning correctly. This entire check function will start andendwithin 5 seconds of plugging in the unit, so pay careful attention to these lights whenconnecting the DC cables.
WARNINIG
Double check to make sure all of the AC and DC wiring has been correctly installed. Ensure that none of the AC and/or DC wires are pinched or damaged. Make surethatall of the junction boxes are properly closed.
Step 8 – Complete the APsystems installation map
Fill in the APsystems Registration Cards, which provide system information and the installation map. Feel free to provide your own layout if a larger or more intricateinstallationmap is required. The layout map provided is designed to accomodate labels invertical orhorizontal orientation to meet all the field PV connections.
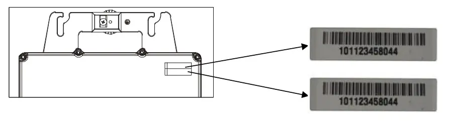
- Each APsystems Microinverter has removable serial number labels.
- Peel labels off, affix one to the respective location on the APsystems installationmap, and fill in 1,2 in the label below,according to the layout on the roof.
- The other one serial number label, posted on the solar module frame is easytoviewthe position


APsystems Microinverter & Energy Communication Unit WarrantyCard
The APsystems Installation Map is a diagram of the physicallocation of each microinverterinyour PV installation.Each APsystems microinverter has a removable serialnumberlabellocated on the mountingplate. Peel the label and affix it to the respective locationontheAPsystems installation map
Installation Map Template

NOTICE
- The layout of the inverters’ serial numbers on the warranty card is only suitablefor general arrangement.
- Installation card is located in Appendix last page of this manual.
- You can use Scanning Gun or mobile phone to scan the serial numbers onthemap when set ECU (see ECU manual)
To operate the APsystems microinverter PV system:
- Turn ON the AC circuit breaker on each microinverter AC branch circuit.
- Turn ON the main utility-grid AC circuit breaker. Your system will start producingpowerafter a two-minute waiting time.
- The units should start blinking green every 2 seconds five minutes after turningontheACcircuit breaker. This means they are producing power normally, but havenotyetconnected to the ECU. After the ECU has been plugged in , setup acknowledgestheMicroinverters, they will start to blink green every 10 seconds.
- Plug in the ECU and follow the instructions according to the manual for the ECU.
- The APsystems Microinverters will start to send performance data to the ECU. Thetimerequired for all the Microinverters in the system to report to the ECU will varywiththenumber of Microinverters in the system. You can verify proper operationof theAPsystems Microinverters via the ECU. See the ECU Installation and OperationManual formore information.
Troubleshooting
Qualified personnel can use the following troubleshooting steps if the PVsystem does not operate correctly
Status Indications and Error Reporting
Start up LED
One quick red light followed by three short green blinks when DC power is first appliedtothe Microinverter indicates a successful Microinverter startup
One quick red light followed by three short green blinks when DC power is first appliedtothe Microinverter indicates a successful Microinverter startup
Flashing Slow Green (10 sec. gap) – Producing power and communicating withECUFlashing Fast Green (2 sec. gap) – Producing power and not communicating withECUover60mins
Flashing Red – Not producing power
Steady Red – Electrode assembly ground fault protection
GFDI Error
A solid red LED indicates the Microinverter has detected a Ground Fault DetectorInterrupter (GFDI) error in the PV system. Unless the GFDI error has been cleared, theLEDwill remain red and the ECU will keep reporting the fault. After the ground fault error is fixed, follow the instructions in the ECUInstallationandOperation Manual to clear this GFDI error reporting.
Other Faults
All other faults are reported to the ECU. Refer to the ECU Installation andOperationManual for a list of additional faults and troubleshooting procedures
WARINING
Only qualified personnel should directly handle the APsystems Microinverter.
WARINING
- Never disconnect the DC wire connectors under load. Ensure that no current isflowing in the DC wires prior to disconnecting.
- Always disconnect AC power before disconnecting the PV module wires fromtheAPsystems Microinverter.
- The APsystems Microinverter is powered by PV module DC power. AFTERdisconnecting the DC power, when reconnecting the PV modules totheMicroinverter, be sure to watch for the three short LED flashes.
Troubleshooting a non-operating APsystems Microinverter
There are two possible overall areas of trouble:
- The Microinverter itself may be having problems.
- The Microinverter itself is working fine but it is having trouble communicatingwiththeECU. The items below refer to Microinverter issues, not communication issues (addressedin the ECU manual).
A quick way to tell whether the issue is the Microinverter or a communication problemwiththe ECU:
- Diagnosing from the Microinverter: A red light:
- A blinking red light means microinverter problem or AC connection problem.
- A solid red light means ground fault detector interrupter error.
- Diagnosing from the ECU
- No-Data-Display: This is probably a communication issue- not a Microinverterproblem.
- Problems with erratic display: Data is displayed for some period and thennodataisdisplayed: most likely a communication issue.
- 0 watts, or 2 watts: Possibly a Microinverter problem
- Erratic data display that is not coordinating with data displays fromother units: mostlikely a Microinverter problem.
To troubleshoot a non-operating APsystems Microinverter, Followthestepsbelow in order:
- Verify the utility voltage and frequency are within ranges shown in the Technical Data section of this manual.
- Check the connection to the utility grid. Verify utility power is present at theinverterin question by removing AC, then DC power. Never disconnect the DCwireswhilethe microinverter is producing power. Re-connect the DC module connectorsandwatch for three short LED flashes.
- Check the AC branch circuit interconnection between all the microinverters. Verifyeach inverter is energized by the utility grid as described in the previous step.
- Make sure that any AC breaker are functioning properly and are closed.
- Check the DC connections between the microinverter and the PV module.
- Verify the PV module DC voltage is within the allowable range shown in theTechnical Data of this manual.
- If the problem persists, please call APsystems Customer Support.
WARNING
Do not attempt to repair the APsystems microinverter. If troubleshooting methodsfail, please return the microinverter to your distributor for replacement.
Maintenance
No need to Maintenance
Replace a microinverter
Follow the procedure to replace a failed APsystems Microinverter
Disconnect the APsystems Microinverter from the PV Module, in the order shownbelow:
- Disconnect the AC by turning off the branch circuit breaker.
- Disconnect the inverter AC connector from the AC Bus.
- Disconnect the PV module DC wire connectors from the microinverter.
- Remove the Microinverter from the PV array racking.
Install a replacement Microinverter to the rack. Remember to observe the flashingLEDlight as soon as the new Microinverter is plugged into the DC cables.
Connect the AC cable of the replacement Microinverter to the AC bus.
Close the branch circuit breaker, and verify operation of the replacement Microinverter.
Technical Data
WARNING
- Be sure to verify the voltage and current specifications of your PV modulematchwith those of the Microinverter. Please refer to the datasheet or usermanual whichcan be download from APsystems website www.APsystems.com.
- You must match the DC operating voltage range of the PV module with theallowable input voltage range of the APsystems Microinverter.
- The maximum open circuit voltage of the PV module must not exceed the specified maximum input voltage of the APsystems.
YC600B Microinverter Datasheet
Input Data (DC)
Recommended PV Module Power (STC) Range: 300Wp-550Wp+ Peak Power Tracking Voltage: 22-48V
Operation Voltage Range :16-60V
Maximum Input Voltage: 60V
Maximum Input Current: 12A x 2
Maximum Input Short Circuit Current: 13.2A
Output Data (AC)
Maximum Output Power: 750VA
Nominal Output Voltage/Range: (1) 120V/95-155V
Adjustable Output Voltage Range: 90-160V
Nominal Output Current: 6.26A
Nominal Output Frequency/Range: (1) 60Hz/57-62Hz
Adjustable Output Frequency Range: 55.1-64.9Hz
Power Factor(Adjustable): >0.99
Maximum Units per 12AWG Branch (2): 4
Efficiency
Peak Efficiency: 96%
Nominal MPPT Efficiency: 99.5%
Night Power Consumption: 20mW
Mechanical Data
Operating Ambient Temperature Range: (3) -40 oF to +149 oF (-40 °C to +65 °C)
Storage Temperature Range: -40 oF to +185 oF (-40 °C to +85 °C)
Dimensions (W x H x D): 10.3” × 7.4” × 1.3” (260mm X 188mmX31.5mm)
Weight: 5.7lbs (2.6kg)
AC Bus Cable: 12AWG (28A)
DC Connector Type: Stäubli MC4 PV-ADBP4-S2&ADSP4-S2Enclosure Environmental Rating: Type 6
Cooling Natural Convection -: No Fans
Overvoltage Category: OVC II For PV Input Circuit, OVC III For Mains CircuitUtility Interconnection Voltage: And Frequency
Trip Limits And Trip Times See NOTE 1 BelowTrip Limit And Trip Time Accuracy Voltage: +/-2V
Frequency +/-0.1Hz Alternate Trip times: See NOTE 1 Below
Features
Communication (Inverter To ECU): (4) Wireless
Transformer Design: High Frequency Transformers, Galvanically Isolated
Monitoring: Energy Management Analysis (EMA) system
Warranty: (5) 10 Years Standard
Certificate&Compliance
Compliance: UL1741 (IEEE1547); CSA C22.2 No. 107.1; NOM-001;ABNT NBR 16149:2013; ABNT NBR 16150:2013; ABNT NBR IEC 62116: 2012
Note 1: Utility Interconnection Voltage and Frequency Trip Limits andTripTimes
| Voltage and frequency limits for utility Interaction | ||||
| Condition | Simulated utility source | Maximum time (sec) (cycles) at 60 Hza before cessation of current to the simulated utility | Trip time accuracy | |
| Voltage (V) | Frequency (Hz) | |||
| A | < 0.50 Vnor | Rated | 80ms | +/-80ms |
| B | 0.50 Vnor ≤ V < 0.88 Vnor | Rated | 1000ms | +/-200ms |
| C | 1.10 Vnor < V < 1.20 Vnor | Rated | 1000ms | +/-200ms |
| D | 1.20 Vnor ≤ V | Rated | 80ms | +/-80ms |
| E | Rated | f > 60.5 | 160ms | +/-200ms |
| F | Rated | f < 59.3 | 160ms | +/-200ms |
- Nominal voltage/frequency range can be extended beyond nominal if required by the utility.
- Limits may vary. Refer to local requirements to define the number of microinverters per branch in your area.
- The inverter may enter to power de-grade mode under poor ventilation and heat dissipation installation environment.
- Recommend no more than 80 inverters register to one ECU for stable communication.
- To be eligible for the warranty, APsystems microinverters need to be monitored via the EMA portal. Please refer to our warrantyT&Cs available on latam.APsystems.com
Specifications subject to change without notice please ensureyouareusing the most recent update found at web : latam.APsystems.com
Wiring Diagram
Sample Wiring Diagram – Single Phase

APsystems Microinverter & Energy Communication Unit Installation Map
| Installer: | PV module type: Qty: | Sheetof | N | |||||
| Owner: | Microinverter type: Qty: | |||||||
| Column 1 | Column 2 | Column 3 | Column 4 | Column 5 | Column 6 | Column 7 | ||
| Row 1 | ||||||||
| Row 2 | ||||||||
| Row 3 | ||||||||
| Row 4 | ||||||||
| Row 5 | ||||||||
| Row6 | ||||||||
| Row 7 | ||||||||
| Row 8 | ||||||||
| Row 9 | ||||||||
| Row10 | ||||||||
The APsystems Installation Map is a diagram of the physical location of each microinverter in your PV installation. Each APsystems microinverterhastwo serial number labels. Peel the one label and affix it to the respective location on the APsystems installation map. Installation Map Template




























