ASSEMBLY INSTRUCTIONS
![]()
CAUTION
- Inspect the wire insulation for any cuts, abrasions, or exposed copper that may have resulted during shipping. If there is a defect in the wire, do not attempt installation.
- Before starting installation of this fixture or removal of a previous fixture, disconnect the power by turning off the circuit breaker or by removing the fuse at the fuse box.
If you need further assistance, please contact us by Email: [email protected]
TOOLS REQUIRED


Ladder Safety glasses

Electrical tape Phillips screwdriver

Flat blade screwdriver Pliers

Wire strippers
HARDWARE INCLUDED

Fixture Mounting Unit

Ball Nuts Rubber Rings

Mounting Screws Wire Nuts
*PARTS SHOWN MAY DIFFER SLIGHTLY PER LIGHT FIXTURE
EXPLODED PARTS

- Rubber ring
- Ball Nuts
- Junction Box (not included)
- Wire Nuts
- Mounting Unit
- Mounting Screws
- Fixture
- Bulbs (not included)
INSTALLATION
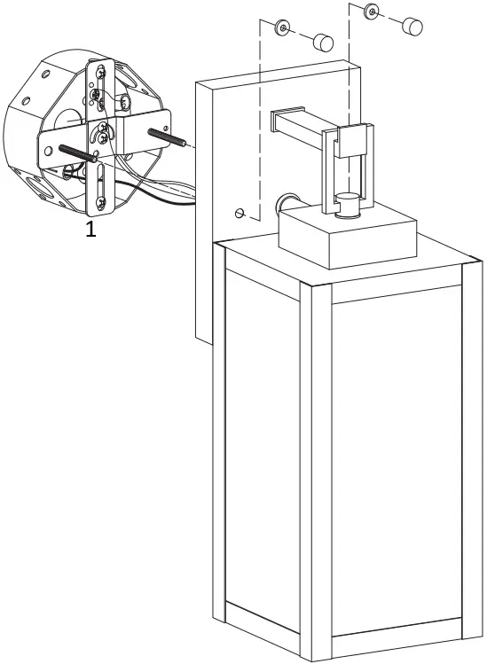
STEP 1
Unscrew the rubber rings and ball nuts from the mounting unit. Use the mounting screws to attach the mounting unit to the junction box (not included).

STEP 2
Make the electrical connection from the junction box (not included) to the fixture. Connect the ground wire to the mounting unit using the preinstalled green ground screw. Then, connect the positive, negative and ground wires with the supplied wire nuts. Secure with electrical tape.

- Black or Red wire (hot) from the junction box
- White wire (neutral) from the junction box
- Bare or Green ground wire from the junction box
- Black wire from the fixture
- White wire from the fixture
- Ground wire from the Fixture
- *Green Ground Screw
- *Sealing tape (not included)

STEP 3
Attach the fixture to the mounting unit through screw holes as shown, and secure it with rubber rings and ball nuts.
NOTICE: Please use caulk in the back plate and wall mounting surface to prevent water from entering.

1. *junction box (not included)
STEP 4
Install bulb (not included)










