Hukoro F14511-WL Modern Vintage Style Outdoor Wall Light Instruction Manual
ASSEMBLY INSTRUCTIONS
CAUTION
- Inspect the wire insulation for any cuts, abrasions, or exposed copper that may have resulted during shipping. If there is a defect in the wire, do not attempt installation.
- Before starting installation of this fixture or removal of a previous fixture, disconnect the power by turning off the circuit breaker or by removing the fuse at the fuse box.
If you need further assistance, please contact us by Email: [email protected]
TOOLS REQUIRED
- Ladder

- Safety glasses

- Electrical tape

- Phillips screwdriver

- Flat blade screwdriver

- Pliers

- Wire strippers

HARDWARE INCLUDED
- Fixture

- Mounting Unit

- Ball Nuts

- Rubber Rings

- Mounting Screws

- Wire Nuts

*PARTS SHOWN MAY DIFFER SLIGHTLY PER LIGHT FIXTURE
EXPLODED PARTS

INSTALLATION
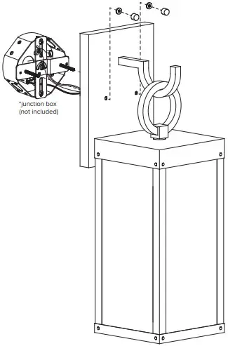
STEP 1
Unscrew the rubber rings and ball nuts from the mounting unit. Use the mounting screws to attach the mounting unit to the junction box (not included).
STEP 2
Make the electrical connection from the junction box (not included) to the fixture. Connect the ground wire to the mounting unit using the preinstalled green ground screw. Next, connect the positive, negative and ground wires with the supplied wire nuts. Secure with electrical tape.

STEP 3
Attach the fixture to the mounting unit through screw holes as shown, and secure it with rubber rings and ball nuts.
NOTICE: Please use caulk in the back plate and wall mounting surface to prevent water from entering.
STEP 4
Install bulb (not included)













