99-5841B Ford Fusion2013-2020
Instruction Manual
99-5841B Ford Fusion2013-2020
KIT FEATURES
Ford Fusion 2013-2020
Visit MetraOnline.com for more detailed information about the product and up-to-datevehicle specific applications.
Note: Hybrid vehicles not supported
- ISO DIN radio provision with pocket
- ISO DDIN radio provision
- Integrated controls for info center
- Painted black
KIT COMPONENTS
- A) Radio trim panel with touchscreen display
- B) Radio brackets
- C) Pocket
- D) (4) #8 x 3/8” Phillips screws
- E) (4) Panel clips
- F) HVAC interface and wiring harness (not shown)
WIRING & ANTENNA CONNECTIONS
Wiring Harness: Axes interface and harness included
Antenna Adapter: 40-EU10 (sold separately)
TOOLS REQUIRED
- Panel removal tool
- Phillips screwdriver
- 7mm socket wrench
- Cutting tool
Attention! With the key out of the ignition, disconnect the negative battery terminal before installing this product. Ensure that all installation connections are secure before cycling the ignition to test this product.
DASH DISASSEMBLY
For 2013-2016 models only:
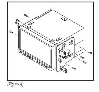
- Unclip the trim from around the shifter. (Figure A)
- Unclip the U-shaped trim from the rear of the shifter. (Figure B) 14-16 only
For 2017-2019 models only: - Remove the left and right side panels on the center console, and then remove the (2) 7mm screws exposed. (Figure C)
All models: - Unclip the trim surrounding the center dash. (Figure D) Ensure that the vehicle is completely off before proceeding onto the following (3) steps
- Remove the (2) 9/32” screws securing the radio/climate control panel, and then unclip, unplug, and remove.
- Remove the (4) 9/32” screws securing the display screen, and then unplug and remove.
- Remove the (2) 9/32” screws securing the radio chassis, and then unplug and remove.
Continue to Kit Preparation
KIT PREPARATION
- Cut and remove the shaded area from the sub-dash to allow clearance for the aftermarket radio. (Figure A)
- Attach the (4) panel clips provided to the radio trim panel. (Figure B)
Continue to Kit Assembly

KIT ASSEMBLY
ISO DIN radio provision with pocket
- Attach the pocket to the radio brackets using the (4) #8 x 3/8” Phillips screws provided. (Figure A)
- Remove the metal DIN sleeve and trim ring from the aftermarket radio.
- Slide the radio into the bracket/pocket assembly, and then secure it using the screws supplied with the radio. (Figure B)
Continue to Axxess Interface Installation
ISO DDIN radio provision
- Attach the brackets to the radio using the screws supplied with the radio. (Figure A)
Continue to Axxess Interface Installation

AXXESS INTERFACE INSTALLATION
INTERFACE FEATURES
- Provides accessory power (12-volt 10-amp)
- Retains R.A.P. (retained accessory power)
- Provides NAV outputs (parking brake, reverse, speed sense)
- Retains audio controls on the steering wheel Retains SYNC® (4.2-inch display screen models only)
- Retains the factory backup camera
- Can be used in both amplified and non-amplified models (including SONY)
- Retains balance and fade* (excluding SONY)
- Micro “B” USB updatable
INTERFACE COMPONENTS
- Axxess interface (built into the touchscreen display)
- 5841 harness
- HVAC interface
- HVAC interface harness
- 4-pin flat to 4-pin stacked harness
- 16-pin harness with stripped leads
- 54-pin backup camera harness
- 12-pin backup camera harness
- 4-pin harness with yellow RCA jacks
- Female 3.5mm connector with stripped leads
TOOLS REQUIRED
- Wire cutter
- Crimp tool
- Solder gun
- Tape
- Connectors (example: butt-connectors, bell caps, etc.)
CONNECTIONS TO BE MADE
Attention! This interface will work with models that are either Sony amplified, or non-amplified.
Please follow the instructions carefully for your model vehicle. Failure to do so will result in either no sound, or low sound. If you are unsure if your vehicle is factory amplified or not, please contact your local dealership.
For models without a Sony amplifier:
From the 16-pin harness with stripped leads to the aftermarket radio:
- Connect the Red wire to the accessory wire.
- If the aftermarket radio has an illumination wire, connect the Orange/White wire to it.
- If the aftermarket radio has a mute wire, and the vehicle is equipped with SYNC® , connect the Brown wire to it. If the mute wire is not connected, the radio will turn off when SYNC® is activated.
- Connect the Gray wire to the right front positive speaker output.
- Connect the Gray/Black wire to the right front negative speaker output.
- Connect the White wire to the left front positive speaker output.
- Connect the White/Black wire to the left front negative speaker output.
- Tape off and disregard the following (5) wires, they will not be used in this application. Blue/White, Green, Green/Black, Purple, Purple/Black
The following (3) wires are only for multimedia/navigation radios that require these wires.
- Connect the Blue/Pink wire to the VSS/speed sense wire.
- Connect the Green/Purple wire to the reverse wire.
- Connect the Light Green wire to the parking brake wire
From the 5841 harness to the aftermarket radio:
- Connect the Black wire to the ground wire.
- Connect the Yellow wire to the battery wire.
- Connect the Blue wire to the power antenna wire.
- Connect the Green wire to the left rear positive speaker output.
- Connect the Green/Black wire to the left rear negative speaker output.
- Connect the Purple wire to the right rear positive speaker output.
- Connect the Purple/Black wire to the right rear negative output.
- For models with a 4.2-inch display screen and SYNC® : Connect the Red and White RCA jacks labeled “RSE/SYNC®/SAT” to the audio AUX-IN jacks of the aftermarket radio.
- Disregard the Red and White RCA jacks labeled “FROM 3.5”, they will not be used in this application.
Continue to 3.5mm jack steering wheel control retention
Attention! This interface will work with models that are either Sony amplified, or non-amplified. Please follow the instructions carefully for your model vehicle. Failure to do so will result in either no sound, or low sound. If you are unsure if your vehicle is factory amplified or not, please contact your local dealership.
For models with a Sony amplifier:
From the 16-pin harness with stripped leads to the aftermarket radio:
- Connect the Red wire to the accessory wire.
- Connect the Blue/White wire to the amp turn on wire. This wire must be connected to hear sound from the factory amplifier.
- If the aftermarket radio has an illumination wire, connect the Orange/White wire to it.
- Connect the Gray wire to the right front positive speaker output.
- Connect the Gray/Black wire to the right front negative speaker output.
- Connect the White wire to the left front positive speaker output.
- Connect the White/Black wire to the left front negative speaker output.
- Connect the Green wire to the left rear positive speaker output.
- Connect the Green/Black wire to the left rear negative speaker output.
- Connect the Purple wire to the right rear positive speaker output.
- Connect the Purple/Black wire to the right rear negative output.
- Tape off and disregard the following (1) wire, it will not be used in this application: Brown
The following (3) wires are only for multimedia/navigation radios that require these wires.
- Connect the Blue/Pink wire to the VSS/speed sense wire.
- Connect the Green/Purple wire to the reverse wire.
- Connect the Light Green wire to the parking brake wire
From the 5841 harness to the aftermarket radio:
- Connect the Black wire to the ground wire.
- Connect the Yellow wire to the battery wire.
- Connect the Blue wire to the power antenna wire.
- Tape off and disregard the following (4) wires, they will not be used in this application: Green, Green/Black, Purple, Purple/Black
- Disregard the Red and White RCA jacks labeled “RSE/SYNC® /SAT”, they will not be used in this application.
- Disregard the Red and White RCA jacks labeled “FROM 3.5”, they will not be used in this application. Continue to 3.5mm jack steering wheel control retention
3.5mm jack – steering wheel control retention:
The 3.5mm jack is to be used to retain audio controls on the steering wheel control.
- For the radios listed below, connect the included female 3.5mm connector with stripped leads, to the male 3.5mm SWC jack from the 5841 harness. Any remaining wires tape off and disregard.
- Eclipse: Connect the steering wheel control wire, normally Brown, to the Brown/White wire of the connector. Then connect the remaining steering wheel control wire, normally Brown/White, to the Brown wire of the connector.
- Metra OE: Connect the steering wheel control Key 1 wire (Gray) to the Brown wire.
- Kenwood or select JVC with a steering wheel control wire: Connect the Blue/Yellow wire to the Brown wire.
Note: If the Kenwood radio auto detects as a JVC, manually set the radio type to Kenwood. See the instructions under changing radio type. - XITE: Connect the steering wheel control SWC-2 wire from the radio to the Brown wire.
- Parrot Asteroid Smart or Tablet: Connect the 3.5mm jack into the AX-SWC-PARROT (sold separately), and then connect the 4-pin connector from the AX-SWC-PARROT into the radio.
Note: The radio must be updated to rev. 2.1.4 or higher software.
- Universal “2 or 3 wire” radio: Connect the steering wheel control wire, referred to as Key-A or SWC-1, to the Brown wire of the connector. Then connect the remaining steering wheel control wire, referred to as Key-B or SWC-2, to the Brown/White wire of the connector. If the radio comes with a third wire for ground, disregard this wire.
Note: After the interface has been programmed to the vehicle, refer to the manual provided with the radio for assigning the SWC buttons. Contact the radio manufacturer for more information.
- For all other radios: Connect the 3.5mm jack into the port on the radio designated for an external steering wheel control interface. Refer to the manual provided with the radio if in doubt as to where the 3.5mm jack goes to.
Backup camera harness:
For models with a 4.2-inch display screen: Use the 12-pin backup camera harness. For models with an 8-inch display screen: Use the 54-pin backup camera harness. There are two different methods for connecting the factory backup camera.
If retaining the camera to the aftermarket radio is desired: - Connect the Yellow RCA jack the backup camera input of the aftermarket radio.
If retaining the camera to the touchscreen display is desired: - Connect the Yellow RCA jack, to the Yellow RCA jack from the 4-pin harness with yellow RCA jacks labeled “Rearview camera”.
Note: If this method is chosen, the backup camera option must be enabled in the Configuration Settings Screen.
4-pin harness with yellow RCA jacks:
- If retaining the factory backup camera to the touchscreen display is desired, connect the Yellow RCA jack labeled “Rearview camera”, to the Yellow RCA jack from the 12-pin or 54-pin backup camera harness.
- Disregard the Yellow RCA jack labeled “AUX video”, it will not be used in this application.
INSTALLING THE INTERFACE
It is highly advisable to read the following steps beforehand, to ensure a clear understanding of what is to be expected. The following steps must be done in the order that they are numbered. With the vehicle completely off:
Touchscreen display
- Connect the 16-pin harness with stripped leads into port “B” in the touchscreen display.
- Connect the 5841 harness to the wiring harnesses in the vehicle. These harnesses are the ones removed in step 7 of dash disassembly. Then insert the 5841 harness into port “A” in the touchscreen display. But do not install this harness until exactly before step 1 of “Initializing the Interface”. This is a timed process.
- Connect the 4-pin harness with yellow RCA jacks into port “C” in the touchscreen display.
- Disregard ports “D” and “E”, they will not be used in this application.
- Port “F” is an update port for future firmware upgrades.
HVAC interface - Connect the HVAC interface harness into the HVAC interface, and then to the wiring harnesses in the vehicle. These harnesses are the ones removed in step 5 of dash disassembly.
Note: Disregard the “10-pin harness”, and the “4-pin flat to 4-pin stacked harness”, they will not be used in this application. - Connect the 6-pin harness into the HVAC interface.
- (a) For models with a 4.2-inch display screen: Connect the 12-pin backup camera harness, to the wiring harness in the vehicle. This harness is the one removed in step 6 of dash disassembly.
(b) For models with an 8-inch display screen: Connect the female connector of the 54-pin backup camera harness, to the wiring harness in the vehicle. This connector is located behind the factory display screen, which was removed in step 6 of dash disassembly
Note: Disregard the male connector, it will not be used in this application. - Locate the factory antenna connector in the dash and complete all necessary connections to the radio. Metra recommends using the proper mating adapter from Metra.
INITIALIZING THE INTERFACE
Attention! If the interface loses power for any reason, the following steps will need to be performed again.
- Refer to step 2 of “Installing the interface”.
- Press the push-to-start button to start the vehicle.
- Program the kit:
a. Once the touchscreen display loads up, select the vehicle type; “Ford Fusion 2015-2017”.
b. Wait until the radio comes on, and the touchscreen display shows “SWC Configured”.
This process may take up to 3 minutes.
Note: If the touchscreen display does not load up, or the radio doesn’t come on within 3 minutes, and/or the touchscreen display does not show “SWC Configured”, turn the vehicle off and disconnect the 5841 harnesses from port “A” in the touchscreen display. Check all the connections, reconnect the harness into the touchscreen display, and then try again. - Turn the key off and back on. If the driver’s door is closed, open and close the door.
- Test all functions of the installation for proper operation, before reassembling the dash.
Note: The compass in the driver information center will no longer function.
FINAL ASSEMBLY
- Secure the completed assembly into the dash using the factory hardware removed in step 7 of dash disassembly. Only use the upper mounting tabs.
- Snap the radio trim panel with touchscreen display over the completed assembly, and then reassemble the dash in reverse order of disassembly.
ADDITIONAL CHARACTERISTICS
SYNC (4.2-inch display screen models only):
If the vehicle is equipped with SYNC, the 99-5841B may retain this feature.
- Change the radio source to AUX-IN.
- Press the Info button on the touch screen to enter the SYNC menu.
- Press the climate control icon button to return to the Main Menu.
TOUCHSCREEN DISPLAY OPERATION
Climate Control screen
- This is the climate control screen which will be displayed on the touchscreen display. This is considered the main screen.
- The upper left tab with (3) arrows will take you to the Heated/Cooled* seats screen, and the Heated Steering* screen.
- The upper right tab with the gear icon will take you to the Configuration Settings screen.
- Auto climate models: The climate controls will function in the same manner that they did with the factory climate controls.
- Manual climate models: The climate controls will function in the same manner that they did with the factory climate controls, yet via touchscreen buttons instead. The temperature control will display a numerical scale, with “LO” being the coldest, and “HI” being the hottest: LO / 1-9 / HI
*If applicable.
- Note: The “Info” button will only be shown if SYNC® is to be retained.
Configuration Settings screen
- Backlight
- Four slide bars control the color of the buttons and the back-light intensity:
- Backup Camera
- Enable – Enables the backup camera image to the touchscreen display
- Disable – Disables the backup camera image to the touchscreen display (default)
- Ambient Lighting
- Factory colors available from Ford
- Steering Wheel Controls
- Relocation Buttons – to relocate the steering wheel control buttons
- Dual assignment: for dual assignment of the control buttons on the steering wheel (press the button for a long time)
- Select Radio – to automatically detect the radio or change the type of radio

- Clock
- To set the clock and time mode.
- System Configuration
- About – Information about the software in the kit
- Temperature unit – To switch between Celsius and Fahrenheit
- Digital Amp Gain – To adjust the output gain to the amplifier
- Reset Vehicle Type – To reset the kit to default settings
STEERING WHEEL CONTROL SETTINGS
Remap Button screen
- The interface has the ability to change the button assignment for the steering wheel control audio buttons, except Volume-Up and Volume-Down. Follow the prompts on the touchscreen display to remap the steering wheel control audio button(s) to your liking.
Note: The aftermarket radio may not have all of these commands. Please refer to the manual provided with the radio, or contact the radio manufacturer, for specific Commands recognized by that particular radio.
Dual Assign screen
- The interface has the capability to assign two functions to a single button, except Volume-Up and Volume-Down. Follow the prompts on the touchscreen display to program the button(s) to your liking.
Note: Seek-Up and Seek-Down come programmed as Preset-Up and Preset-Down for a long button press.
Select Radio screen
- To show which brand radio is “auto detected” to the interface, press the “Autodetect” button. The radio detected will have a filled in circle. If the incorrect radio is shown, select the proper radio.
- Following is a list of radio manufacturers that the interface presently acknowledges. Others may be added at a later date. Universal “2 or 3 wire” radios can show up as any of these radio manufacturers.
| Eclipse (Type 1) † | JVC | Clarion (Type 2) † | Parrot |
| Kenwood ‡ | Pioneer/Jensen | Metra OE | XITE |
| Clarion (Type 1) † | Alpine | Eclipse (Type 2) † | Philips |
| Sony / Dual | Visteon | LG | JBL |
| Valor |
- Note: If the interface shows an Alpine radio, and you do not have an Alpine radio, that means the interface does not detect a radio connected it, i.e., an open connection. Verify that the 3.5mm jack is connected to the correct steering wheel jack/wire in the radio.
- Note: The AX-SWC-PARROT is required (sold separately). Also, the Parrot radio must be updated to rev. 2.1.4 or higher through www.parrot.com.
- Note: If you have a Clarion radio and the steering wheel controls do not work, change the radio type to the other Clarion radio type; same for Eclipse.
- Note: If you have a Kenwood radio and the touchscreen display shows a JVC radio, change the radio type to Kenwood.
TROUBLESHOOTING
Resetting the interface Option # 1
- With everything connected and the car running.
- Hold the bottom (2) buttons for 3 seconds, then release. (Figure A) (The screen will turn black and then put you in the vehicle selection screen)
- Select your vehicle and wait till the “SWC Configured “ appears on the screen.
- Turn ignition off and start vehicle, then test your interface.

Option #2
- With the vehicle running, press the Reset Vehicle Type button mentioned in System Configuration.
- Refer to Programming, step 3, from this point.
Having difficulties? We’re here to help.
Contact our Tech Support line at:
386-257-1187
Or via email at: [email protected]
Tech Support Hours (Eastern Standard Time)
Monday – Friday: 9:00 AM – 7:00 PM
Saturday: 10:00 AM – 7:00 PM
Sunday: 10:00 AM – 4:00 PM
KNOWLEDGE IS POWER®
Enhance your installation and fabrication skills by enrolling in the most recognized and respected mobile electronics school in our industry. Log onto ww.installerinstitute.com or call 800-354-6782 for more information and take steps toward a better tomorrow.
Metra recommends MECP certified technicians
TURBOTOUCH Technical Document #100C
Steering Wheel Controls With New JVC & Kenwood Radios
- Locate the main connector on the back of the radio. These radios use an ISO/EURO (1784 shell) radio connector. (Figure A)
- The SWC wire from the radio can be found in the bundle of wires above the main connector, labeled REMOTE CONT. (Figure B)
- Program the kit, then refer to the Select Radio page from the instructions included with the kit.
- Select JVC for the desired radio.
Note: Regardless if it is a JVC or Kenwood radio, the desired radio code will be JVC. - Test the steering wheel controls for proper functionality.
- The installation is now complete.

http://www.metraonline.com
AxxessInterfaces.com
© COPYRIGHT 2020 METRA ELECTRONICS CORPORATION
The World’s best kits.®
metraonline.com
REV. 12/13/22 INST99-5841B
References
Auto Sound Company Inc - Aftermarket Vehicle Accessory Specialists
Axxess Integrate - Comprehensive Interface Products for Vehicle Upgrades
Metra Online | Welcome to Metra Auto Parts Online Warehouse
Installer Institute | Car Audio Installation and Mobile Electronics Education
Parrot | European leader in professional drones
All models:

HVAC interface















