HAVACO RKH-315 Roof Type Radial Fans with Horizontal Air Discharge

SAFETY WARNINGS
- Fans contain rotating parts and electrical connections.
- Therefore, pay attention to safety warnings during their installation, maintenance and operation.
- Electrical connections must be carried out qualified electricians, according to attached wiring diagrams.
- During transport, installation and maintenance, hands should be protected with gloves.
- Do not use the product at ambient temperature over 120 °C.
TRANSPORTATION
- The fan should be kept in original package in a vibration free, dust free environment, away from aggressive substances until it’s delivered to the installation site.
- The fan should be checked for any damage that may originated during transport check if impeller rotates free of friction.
- Eventual damaged revealed must be communicated to the carrier and proper protocol should be made, specifying the type of damage.
INSTALLATION
- Power supply, current and frequency values shall comply with the product label.
- Use elastic connectors to prevent transmitting the unit vibrations on to the installation.
- The fan can be mounted in any position.
- Check if impeller rotates in the correct direction
- Check if consumption Intensity I(A) – does not exceed maximum value, indicated on the fan nameplate.
- Do not use the fan in an area in which flammable gasses, acidic or corrosive substances are present, as it may cause irreversible damage to the fan.
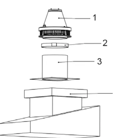
Parts Overview

- RKH RKH Fan
- Mounting clamp
- Roof base
- Roof
WIRING DIAGRAM

TECHNICAL DRAWING


TECHNICAL DATA
| Type | m3/h | rpm | W | A | V | Hz | dB(A) | kg |
| RKH-315/2200 M | 1800 | 2730 | 185 | 0,82 | 230 | 50 | 56-48 | 11,3 |
CLEANING AND MAINTENANCE
Before cleaning or maintenance disconnect the fan from the mains supply.
- All electrical connections should be regularly controlled any worn-out or damaged cables should be replaced.
- Periodic maintenance should be carried out at least once every six months to prevent dust accumulation which may cause lower performance of the fan, unbalance of the impeller which may greatly reduce the lifespan of the unit.
- Clean the fan with soft brush or damp cloth.
- Do not use inflammable or combustible cleaners.
- While cleaning the impeller pay attention to protecting the balance weights.
- Bolts which might become loose during operation should be checked.



















