
Commercial Electric HVPF16CE 16 Inch Turbo High-Velocity Pedestal Fan

Questions, problems, missing parts?
- Before returning to the store, call Commercial Electric Customer Service
- 8 a.m. – 7 p.m., EST, Monday – Friday, 9 a.m. – 6 p.m., EST, Saturday
- 1-877-527-0313
- HOMEDEPOT.COM
THANK YOU
We appreciate the trust and confidence you have placed in Commercial Electric through the purchase of this fan. We strive to continually create quality products designed to enhance your home. Visit us online to see our full line of products available for your home improvement needs. Thank you for choosing Commercial Electric!
Safety Information
READ AND FOLLOW ALL INSTRUCTIONS BEFORE OPERATING FAN. DO NOT USE FAN IF ANY PART IS DAMAGED OR MISSING.
WARNING: This product is not intended for use by persons (including children) with reduced physical, sensory or mental capacities, or lack of experience and knowledge, unless they have been supervised or instructed in the use of the product by a person responsible for their safety. Children should be supervised to ensure that they do not play with the product.
- Disconnect the fan when moving from one location to another.
- Never insert fingers or any other objects through the grille guard when the fan is in operation.
- Be sure fan is on a stable, flat surface when in operation.
- Disconnect the fan when removing guards for cleaning.
- DO NOT use fan in windows. Rain and moisture may create electrical hazard.
WARNING:
- To reduce the risk of fire or electric shock, do not use with any solid-state speed control device.
- To reduce the risk of fire or electrical shock, do not expose to water or rain.
- This appliance has a 3-prong plug. To reduce the risk of electrical shock, this plug is intended to fit in an outlet only one way.
- If this fan does not fit the outlet, contact a qualified electrician. Do not attempt to bypass this procedure.
- If the supply cord is damaged, it must be replaced by the manufacturer, its service agent, or a similarly qualified person in order to avoid a hazard.
- Do not use this fan in windows. Rain and moisture may create an electrical hazard.
- Be sure front and rear guard screws are completely screwed down in the locking position before operation.
CAUTION: Do not alter the fan’s assembly.
Warranty
The manufacturer extends this warranty to the original retail purchaser of its model or, if this unit is purchased and installed by a building contractor, then to the original owner of the home. No subsequent purchaser of the unit or of a home which it is installed is entitled to any of the benefits of this warranty.
This product is warranted against defects in materials and workmanship for a period of one (1) year from the date of original retail purchase. No other parts or components are warranted. There is no warranty for defects caused by abuse, faulty installation, or the like. Repairs or replacement parts supplied under this warranty are warranted only for the period of this warranty; that is, one (1) year from the date of the original retail purchase of the unit.
In the event of a defect or malfunction, we will replace or repair the defective part or component only and return the new or repaired part to you freight prepaid. You must bear all other expenses incurred in obtaining repairs, including labor required for field repair or replacement, and the cost of shipping the defective part to us. You must also bear the cost of replacement of any part or component and the shipping charges incurred for the replacement and return to you any part or component not covered by this warranty, including parts or components damaged by you.
The manufacturer reserves the right to demand and receive written evidence of the date of purchase before undertaking to perform its obligations under this warranty. You should, therefore, retain your sales slip. There is no informal dispute settling mechanism available in the event of a controversy involving this warranty. Any and all implied warranties which may exist terminate upon the expiration of this warranty, one (1) year from the date of the original retail purchase. Some states do not allow limitations on how long an implied warranty lasts, so this limitation may not apply to you. The manufacturer is not liable to you for incidental or consequential damages arising out of a defect or malfunction of a unit, or its installation, or out of any alleged breach of this warranty. Some states do not allow the exclusion or limitation of incidental or consequential damages, so this limitation may not apply to you. This warranty gives you specific legal rights, and you may also have other rights which vary from state to state.
Contact the Customer Service Team at 1-877-527-0313 or visit www.HomeDepot.com.
Assembly and Operation
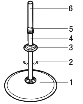
- Stand Pole Assembly
- Attach stand pole (4) to the base (1) with 4 screws & spring washers (2) as shown, tighten them SECURELY.
- Loosen the round plastic nut (5) at the stand pole (4) and extend inner tube (6) to desired height.
- Slide cover ring (3) down to stand pole (4) and rest on the top of base (1).

- Stand Pole & Motor Assembly
- Locate the U bracket (8) and insert into the inner tube (6).
- Align the hole of the inner tube (6), tighten the screw & washer (7) SECURELY.
- Place fan assembly (10) between U bracket. Attach two 3-wing plastic knobs (9) to the fan for adjusting the airflow angle.

- Adjusting Speed & Air Flow Angle
- Tilt the fan head to the desired angle by loosening the two 3- wing plastic knobs (9), then tighten firmly.
- Plug the power cord into an outlet.
- Rotate the switch to one of the following settings: 0 = Off, 1 = Low, 2 = Medium, and 3 = High


Maintenance
WARNING: Unplug the fan from the power source before cleaning it. After maintenance, all safety devices (including louvers and blades) must be reinstalled or fitted as previously installed.
- Use a soft, damp cloth to clean. Then clean it with a dry cloth.
- Do not use cleaning solutions that are harmful to paints or plastics.
- Do not bend the blades.
- The motor bearings are permanently sealed and do not require additional lubrication.
Service Parts

Questions, problems, missing parts? Before returning to the store, call Commercial Electric Customer Service
8 a.m. – 7 p.m., EST, Monday-Friday, 9 a.m. – 6 p.m., EST, Saturday
1-877-527-0313
HOMEDEPOT.COM























