

16″ Pedestal fan
Instruction Manual
WSFSB1601PK
SAFETY INFORMATION
DANGER
DANGER – Immediate hazards which WILL result in severe personal injury or death
WARNING
WARNING – Hazards or unsafe practices that COULD result in severe personal injury or death
CAUTION
CAUTION – Hazards or unsafe practices that COULD result in minor personal injury
WARNING
When using electrical appliances, basic safety precautions should always be followed, including the following
IMPORTANT SAFEGUARDS
Read this instruction manual carefully before using the appliance.
It contains important information for your safety as well as for the use and maintenance of the appliance. Keep these instructions for future reference and pass them on to possible new owners of the appliance.
Use the appliance only for its intended purpose and as described in this manual. Improper use may result in an electric shock, fire, or serious injury and may void the warranty. In the event of improper use or incorrect operation, we do not accept any liability for resulting damages.- This appliance is intended for household use only and not for commercial, industrial or outdoor use.
- This appliance is intended to be used in households and similar applications such as:
– staff kitchen areas in shops, offices, and other working environment;
– farmhouses;
– by clients in hotels, motels, and other residential type environments;
– bed and breakfast type environments. - To prevent the risk of an electrical shock, do not place the fan near a window, immerse the appliance, plug or cord in water, or spray the fan with liquids.
- Do not operate the appliance with a damaged cord, or plug, after a malfunction or if dropped or damaged in any manner. If the appliance, cord, or plug is damaged in any way, do not use the appliance and contact the retail outlet, the manufacturer, or an authorized service center.
- This appliance is not intended for use by persons (including children) with reduced physical, sensory or mental capabilities, or lack of experience and knowledge unless they have been given supervision or instruction concerning the use of the appliance by a person responsible for their safety.
- Close supervision must be provided when the appliance is used by or near children. When the appliance is not in use, make sure it is stored in a location that is inaccessible to children.
- Children should be supervised to ensure that they do not play with the appliance.
- Never leave the appliance unattended while it is in operation.
- Always unplug the appliance from the mains outlet when it is unattended, not in use when moving the appliance from one location to another, before removing the cover, and before cleaning.
- The appliance should not be operated by an external timer switch or remote control.
- Place the appliance on a flat, dry, heat-resistant, and stable surface.
- Before first use, make sure the power voltage matches the information on the appliance rating label.
- Do not under any circumstances attempt to dismantle or repair the fan blade or motor. For servicing and repairs, contact the retail outlet, the manufacturer, or an authorized service center.
- Do not operate the appliance or any parts near explosive and/or flammable fumes, open flames, cooking or other heating appliances, or flammable materials (such as curtains, textiles, or walls).
- Do not let the cord hang over sharp edges, the edge of a table or counter, or touch any hot objects.
- Do not cover the cord with soft furnishings such as carpets, rugs, throws, or runners. Never place the cord under furniture or appliances. Arrange the cord in a location where it cannot be easily caught on or tripped over.
- To disconnect the appliance from the mains, grip the plug and pull it out from the wall outlet. Do not pull the cord.
- The use of attachments is not recommended and may be hazardous.
- Never cover the appliance. Ensure there is sufficient ventilation.
- Avoid contact with the fan’s moving parts. Never insert fingers, pencils, or other similar objects through the mesh cover.
- Do not operate the appliance if the fan housing is not properly fixed in place, has been removed, or is damaged.
- The appliance must be assembled completely before use.
- Keep hair or loose clothing away from the appliance when it is in use, as there is a danger that they can be caught in the appliance and cause injury.
- Do not point the airflow directly at people for a long time.
Warning: To reduce the risk of electric shock, do not use the appliance near a body of water such as a swimming pool, bathtub, vase, or pond, or in humid environments such as a damp basement. Do not expose it to dripping or splashing water. Do not immerse the appliance in water or any other liquid or place it under running water (see CLEANING AND CARE).- The use of accessories or fittings other than the original parts supplied with this appliance may result in an injury, fire, or damage and will void the warranty.
- To avoid the risk of injuries, make sure your hands are completely dry before using the appliance.
- After cleaning, ensure the appliance and parts are completely dry before using it again.
RISK OF SUFFOCATION! KEEP OUT OF REACH OF
CHILDREN – Keep all packaging materials out of the reach of babies and children.- Do not manually try to rotate the fan as this may damage it.
- The optimum operating temperature range of the appliance is 32°F to 104°F (0°C to 40°C).
WARNING: To reduce the risk of a fire or electrical shock DO NOT USE the appliance with any SOLID-STATE SPEED CONTROL DEVICE.
POLARIZED PLUG

The appliance has a polarized plug (one blade is wider than the other). To reduce the risk of electric shock, this plug is intended to fit into a polarized outlet only one way. If the plug does not fit fully into the wall outlet, reverse the plug. If it still does not fit, contact a qualified electrician.
DO NOT ATTEMPT TO MODIFY THIS PLUG OR ATTEMPT TO DEFEAT ITS SAFETY FEATURE IN ANY WAY.
RETAIN THESE INSTRUCTIONS FOR HOUSEHOLD USE ONLY
HOW TO USE
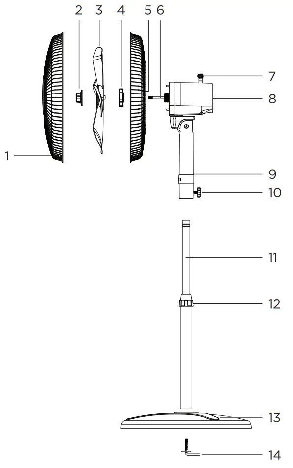
DESCRIPTION OF PARTS

| 1. Front cover 2. Blade cap 3. Fan blade 4. Plastic nut 5. Rear cover with handle 6. Motor shaft 7. Oscillation knob 8. Motor 9. Control panel – 0 (on/off), speed level 1, 2 or 3 | 10. Locking screw 11. Extendable pole 12. Locking collar 13. Base 14. Screw with lever and metal disc 15. Power cord and plug |
NOTE: All images shown are for illustrative purposes only and may not be an exact representation of the appliance model.
BEFORE FIRST USE
- Unpack and remove all packaging materials from the appliance and accessories.
- Check for damage that may have occurred during transport.
If any parts are damaged or missing, do not use the appliance and return it to your retail outlet immediately.
ASSEMBLING THE FAN WITH A PEDESTAL
- Take the extendable pole (11) and turn the screw with the lever (14) counterclockwise until the metal disc (14) and screw with lever (14) are loose enough to be removed from the extendable pole (11). Then slot the extendable pole (11) onto the hole on the top of the base (13). Put the metal disc (14) over the hole on the underside of the base (13) and insert the screw with lever (14) and turn clockwise until it is securely fixed into place. Turn the base (13) upright and place it on the floor.

- Turn the locking screw (10) on the bottom of the motor/control button panel (8/9) counterclockwise to loosen the screw and then place the motor (8) onto the extendable pole (11). Secure into place by turning the locking screw (10) clockwise.

- Turn the blade cap (2) clockwise in the direction marked LOOSEN and remove it. Turn the plastic nut (4) on the motor shaft (6) counterclockwise and remove it.

- Insert the rear cover (5) onto the motor shaft (6) making sure the handle (7) is on the outside and positioned at the top. Replace the plastic nut (4) with the motor shaft (6) and turn it clockwise. Do not overtighten it.

- Push the fan blade (3) onto the drive pin at the rear of the motor shaft (6). Secure into place with the blade cap (2), turning it counterclockwise in the direction marked TIGHTEN. A reversely installed blade may cause incorrect operation such as vibrations and noise. Test the fan blade (3) rotates freely by pushing it with your hand. It should not come into contact with the rear cover (5). If it does not rotate freely, unscrew and reassemble the fan blade (3) onto the motor shaft (6).

- Fix together the front and rear cover (1/5). Secure the two parts together with the cover safety screw with nut and clips.

- Unscrew the locking collar (12) counterclockwise to loosen. Adjust the height of the fan. Twist the locking collar (12) clockwise to secure it into place.

OPERATING INSTRUCTIONS
- Place the fan on a stable, horizontal surface.
- Insert the plug (15) into a 120 V AC / 60 Hz outlet.
- Twist the control panel (9) to turn on the fan to select the
desired setting:
1 = Low speed
2 = Medium speed
3 = High speed
0 = Off - Push the oscillation knob (7) downwards to rotate the fan through 60 degrees. To stop the fan oscillating, lift the oscillation knob (7) upwards when the fan is blowing in the desired direction.
- To direct the airflow up or down, pull the motor (8) upwards or downwards.
- When you are not using the fan, twist the control panel (9) to the off position 0 to turn it off and unplug it.
CLEANING AND CARE
Regularly inspect and clean the fan, particularly the blades, to ensure product longevity.
CAUTION: Twist the control panel (9) to the off position 0 off the fan and unplug it from the power supply.- Undo the nut on the cover safety screw and remove the screw. Then unclip and lift off the front cover.
- Clean the cover and blades with a slightly damp, soft cloth. If necessary, use a mild detergent.
- Make sure that water does not get into the motor while cleaning.
- Dry all parts thoroughly with a dry, soft cloth.
- Reassemble the fan.
NOTE:
- Do not use solvents, chemical or abrasive cleaning agents, wire brushes, sharp objects, or scouring pads to clean the appliance.
- Never immerse the appliance in water.
STORAGE INSTRUCTIONS
- If you are not using the appliance for a long period, always clean and store it in its original packaging in a dust-free, dry environment.
NOTE: If you experience a problem, please return the fan to the retailer. Do not attempt to open the motor housing yourself, as doing so may cause damage to the fan or personal injury.
DISPOSAL
Proper disposal of this product.
This symbol indicates that this appliance may not be treated as household waste. Instead, it should be taken to the appropriate collection point for recycling electrical and electronic equipment.
Please use the return or collections services available in your community or contact the retailer where you purchased this product.
INFORMATION AND SERVICE
If you have questions or concerns about your product, please visit our website: www.westinghousehomeware.com, or contact our overseas offices/agents.
In line with our policy of continuous product development, we reserve the right to change the product, packaging, and documentation specifications without prior notice.
Model: WSFSB1601PK
Input voltage: 120 V, 60 Hz
Power: 45 W

and Westinghouse is trademarks of Westinghouse Electric Corporation, a USA company. Used under license by Westinghouse Homeware (HK) Co.

























