nVent CSBS2 Steel Flange Adapter

FEATURES
- Installs on top or bottom flange of I-beams or bar joists
- Low profile easily fits between metal deck and steel structure
- Thumb spring retainer allows for ease of positioning
- Available pre-assembled to the Universal Structural Bracket, eliminating field assembly
- Snap-off bolt head helps enable easy installation and inspection of seismic sway braces
- Meets NFPA® 13 as pre-qualified for seismic applications
- FM® Specification Tested
PRODUCT ATTRIBUTES
- Material: Steel
- Finish: Electrogalvanized
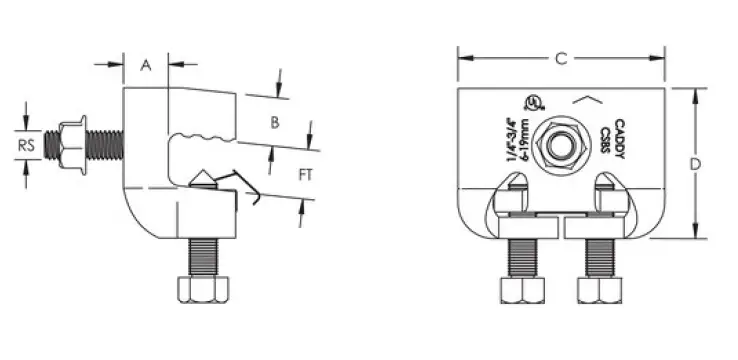
- Flange Thickness: 3/4″ – 1 1/4″
- Rod Size: 1/2″
- A: 7/8″
- B: 7/8″
- C: 3 5/8″
- D: 3 1/8″
ADDITIONAL PRODUCT DETAILS
Structure Attachment and Brace Member are not included.
DIAGRAMS

| FM Loads | ||||||||
|
Part Number | Horizontal Capacity per Installation Angle from Vertical | |||||||
| Perpendicular to Structure | Parallel to Structure | |||||||
| 30°- 44° | 45°- 59° | 60°- 74° | 75°- 90° | 30°- 44° | 45°- 59° | 60°- 74° | 75°- 90° | |
| CSBS1xx | 850 lb | 1,780 lb | 2,770 lb | 2,840 lb | 880 lb | 1,430 lb | 2,020 lb | 2,410 lb |
| CSBS2xx | 1,220 lb | 2,140 lb | 2,580 lb | 2,870 lb | 1,100 lb | 1,820 lb | 2,190 lb | 2,680 lb |
| UL Loads | ||||
| Part Number | Structure Attachment Fitting | Flange Thickness | Brace Member | Load Rating |
|
CSBS1 | CSBU1 | 1/4″ – 3/8″ | 1″ – 2″ Sch. 40 NPS | 1500 lb |
| 3/8″ – 3/4″ | 1700 lb | |||
|
CSBURC12 |
1/4″ – 3/4″ | CSB12CBL | 418 lb | |
| CSB18CBL | 772 lb | |||
| CSB36CBL | 1100 lb | |||
|
CSBS2 | CSBU1 | 3/4″ – 1-1/4″ | 1″ – 2″ Sch. 40 NPS | 1700 lb |
|
CSBURC12 |
3/4″ – 1-1/4″ | CSB12CBL | 418 lb | |
| CSB18CBL | 772 lb | |||
| CSB36CBL | 1100 lb | |||
WARNING
nVent products shall be installed and used only as indicated in nVent’s product instruction sheets and training materials. Instruction sheets are available at www.nvent.com and from your nVent customer service representative. Improper installation, misuse, misapplication or other failure to completely follow nVent’s instructions and warnings may cause product malfunction, property damage, serious bodily injury and death and/or void your warranty.
North America
+1.800.753.9221
Option 1 – Customer Care Option 2 – Technical Support.
Europe Netherlands:
+31 800-0200135 France:
+33 800 901 793
Europe Germany:
800 1890272 Other Countries: +31 13 5835404
APAC
Shanghai:
+ 86 21 2412 1618/19 Sydney:
+61 2 9751 8500















