COMPACT® Wall Flange
Wandflansch
Embase fixe
Brida para pared
Instruction Manual
CCS8WFLG COMPACT Wall Flange
| System | a | b | d | D | B | |||||
| in. | mm | in. | mm | in. | mm | in. | mm | in. | mm | |
| 50 | 3. | 88. | 3. | 88. | 3. | 70 | 5. | 125 | 0.42 | M10 |
| 60 | 4. | 93. | 4. | 93. | 3. | 70 | 5.20 | 132 | 0.42 | M10 |
| 80 | 5. | 122. | 5. | 122. | 4. | 105 | 7. | 173 | 0.50 | M12 |
| 80/140 | 5. | 125 | 5. | 125 | 4. | 105 | – – – | – – – | 0.50 | M12 |

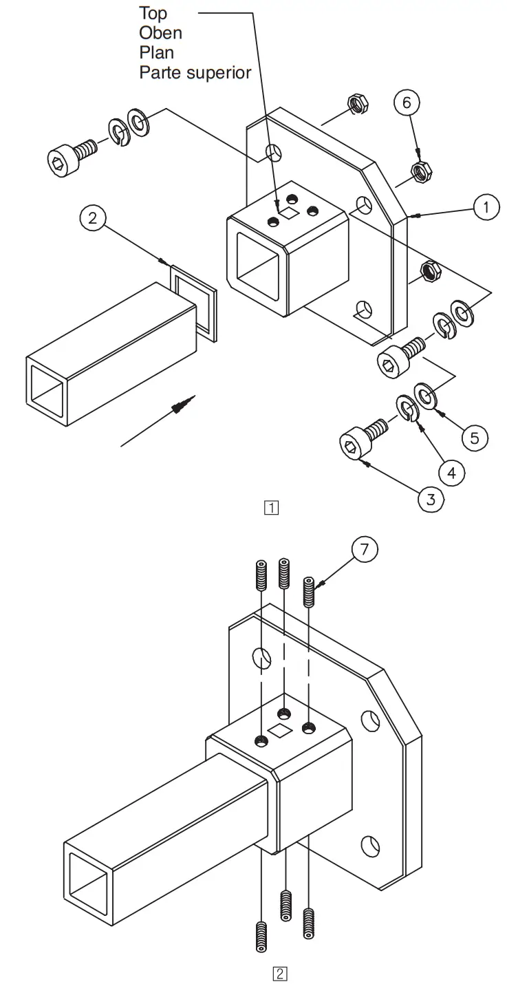
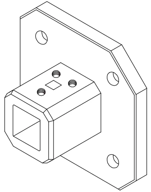
1 (1x) | 2 (1x) | 3 Customer SuppliedVom Kunde beigestellt Non fournie Proporcionudo por el cliente | |
4 Customer SuppliedVom Kunde beigestellt Non fournie Proporcionudo por el cliente | 5 Customer SuppliedVom Kunde beigestellt Non fournie Proporcionudo por el cliente | 6 Customer SuppliedVom Kunde beigestellt Non fournie Proporcionudo por el cliente | 7 22 ft–lbs (30Nm)(6x) |

Rev. B
© 2018 Hoffman Enclosures Inc.
PH 763 422 2211
nVent.com/HOFFMAN
P/N 21304001
87567733
(1x)
(1x)
Customer Supplied
Customer Supplied
Customer Supplied
Customer Supplied
22 ft–lbs (30Nm)
















